Саморезы для крепления сэндвич-панелей к бетону
Часто по проекту необходимо прикрепить сэндвич-панель к таким материалам как дерево, бетон, газобетон или кирпич. Саморезы для крепления сэндвич-панелей к бетону производятся из закаленной углеродистой стали SAE 1022 с антикоррозийным покрытием RUSPERT ® TYPE II . В комплекте EPDM шайба d = 19 мм из нержавеющей стали AISI 304. |
При расчете длиныСаморезы для крепления сэндвич-панелей к бетону Для упрощения расчетов, можно использовать следующую формулу: | |||||||||||||||||||||||||||
| Длина самореза = Толщина панели + 45 мм | |||||||||||||||||||||||||||
| Например, для стеновой панели толщиной 100 мм следует использовать сморез длиной 145 (155) мм | |||||||||||||||||||||||||||
| При монтаже панелей с использованием термовтулки ТК-01 следует из предыдущих расчетов вычесть 15 мм, т.к. саморез будет углублен в сэндвич-панель. Например, для стеновой панели толщиной 100 мм подойдут саморезы длиной 130 мм (100мм+45мм-15мм=130мм) | |||||||||||||||||||||||||||
Для расчета количества Саморезы для крепления стеновых сэндвич-панелей к бетону общее количество квадратных метров стеновых панелей (в пределах одной толщины и одних цветовых решений в кв.м.) нужно умножить на 1,5 – коэффициент количества саморезов, т.е. на 1 м2 стеновой панели требуется 1,5 самореза. Для расчета количества Саморезы для крепления кровельных сэндвич-панелей к бетону общее количество квадратных метров кровельных панелей (в пределах одной толщины и одних цветовых решений в кв.м.) нужно помножить на 2 – коэффициент количества саморезов, т.е. на 1 м2 кровельной панели требуется 2 самореза. | |||||||||||||||||||||||||||
Типоразмерная таблица саморезов для крепления сэндвич-панелей к бетону доступных для заказа:
| Размер (Диаметр основной резьбы х длина самореза), мм | Толщина скрепляемых материалов, мм |
| 6.3 x 55 | до 10 |
| 6.3 x 105 | до 60 |
| 6.3 x 135 | до 90 |
| 6.3 x 155 | до 110 |
| 6.3 x 175 | до 130 |
| 6.3 x 205 | до 160 |
6. 3 x 255 | до 210 |
| 6.3 x 305 | до 260 |
-по данной позиции поддерживается товарный запас на складе
| С этим товаром часто покупают: | |||
Термовтулка ТК-01 — | Бутилкаучуковая лента и шнур
| Самоклеящаяся уплотнительная лента | Саморез для сэндвич-панелей с усиленным сверлом |
Как крепить сэндвич-панели к бетону и металлу, самонарезающие винты
Основа быстромонтируемого здания (БМЗ) – прочный каркас из металла или железобетона. Поверх него монтируются ограждающие конструкции (ОК). Ограждения могут быть выполнены из полностью готовых к монтажу трехслойных сэндвич-панелей, либо же из наборного сэндвича – полистовой сборки.
Учитывая, что полистовка обходится застройщику несколько дороже и требует больших трудозатрат, актуальность в строительстве приобрели именно готовые панели.
Как крепятся сэндвич-панели?
Сэндвич-панели крепятся к каркасу из любого материала, будь-то металл, бетон, дерево и т.д., исключительно с помощью самонарезающих винтов. Для каждого вида материала свой саморез.
Но приемлемым и правильным с технической точки зрения было и остается крепление исключительно к металлу, винтами предназначенными для металла. Тип, диаметр и длина самореза определяется толщиной панели, материалом каркаса, сложностью узла. Информация о крепежных элементах и особенностях крепления содержится в проектной документации. В частности длина и диаметр определяется путем сложных расчетов с учетом приходящихся нагрузок. В частном строительстве рассчитать длину винта можно по следующей формуле:
Длина винта = толщина панели + длина части самореза с резьбой + 5 мм,
где 5 мм – величина, компенсирующая наличие уплотнительной шайбы. Уплотнительная шайба – обязательный элемент крепежной системы.
Молекулы цинка на поверхности шурупа предотвращают окисление металла, резиновая шайба надежно герметизирует место соединения.
В процессе монтажа важно соблюдать ключевые требования:
- Саморез должен вкручиваться строго под углом 90 градусов – наклоны и перекосы недопустимы;
- Нельзя перетягивать или недотягивать винт – целостность уплотнительной шайбы не должна нарушаться.
Подробнее:
- Правила монтажа сэндвич-панелей
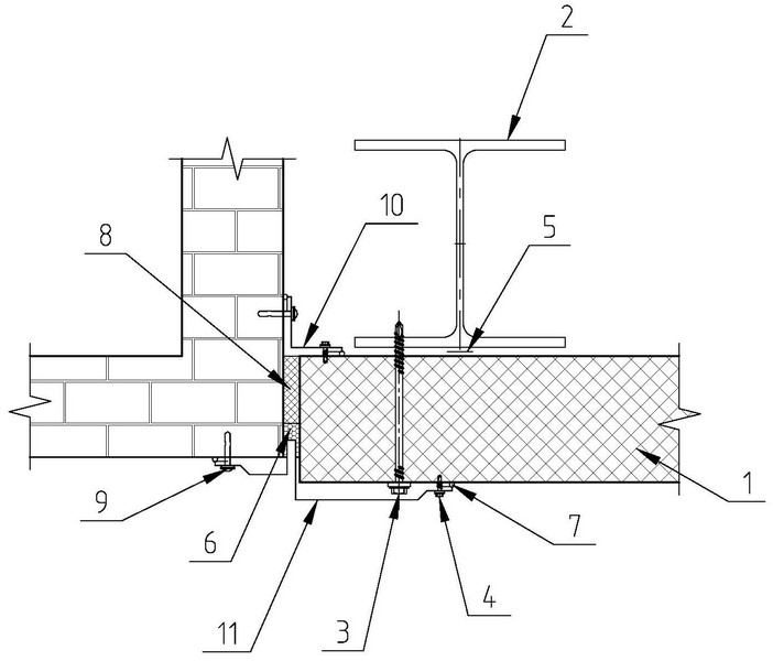
Крепление сэндвич-панели к бетону
К бетону металлический сэндвич крепится так же, как и к металлическим конструкциям — с помощью самонарезающих винтов.
Единственное отличие – поверх бетонного основания монтируются пояса из металла. Несколько отличается и тип резьбы винта. Саморезы для крепления к бетону обладают специальной резьбой с переменным диаметром. Именно она обеспечивает высокие показатели на вырыв самореза из бетонного основания.
Рассчитать количество саморезов, необходимых для крепления к железобетонному основанию можно следующим образом:
Для стеновых ОК:
Площадь ОК х 1,5 = количество саморезов,
где 1,5 – коэффициент количества, т.е. для крепления квадратного метра стеновой панели необходимо полтора винта.
Для кровельных сэндвич-панелей принцип расчета аналогичен, за исключением того, что коэффициент количества равен двум.
Успехов в строительстве!
Объяснение технических аспектов бетонных сэндвич-панелей
Общеизвестно, что передача тепла через стены, крышу, двери и окна является одним из крупнейших источников потерь энергии в любом здании.
И поскольку новые требования к ограждающим конструкциям отражают растущее внимание к энергоэффективному проектированию зданий, интерес к бетонным сэндвич-панелям с откидным верхом продолжает расти.
Утепленные сэндвич-панели состоят из двух бетонных сеток, разделенных слоем жесткой изоляции, которые связаны между собой с помощью ряда крепежных элементов / соединителей. Как правило, они толще стандартных панелей Tilt-Up и могут использоваться как внешние несущие стены или как внутренние стены.
Бетонные сэндвич-панели легко соответствуют и превосходят минимальные требования к тепловым характеристикам и обеспечивают эффективную защиту от влаги — без ущерба для долговечности, скорости строительства и гибкости конструкции, характерной для метода Tilt-Up. Вот краткий обзор того, как работает система:
Толщина сэндвич-панели
Изолированная сэндвич-панель состоит из трех частей: тонкий как 2”)

Строительство бетонных сэндвич-панелей
Бетонные сэндвич-панели строятся от внешней части стены к внутренней части стены.
Процесс начинается с внешней заливки и укладки изоляции и соединителей — что происходит одновременно. Внешний слой будет служить барьером от непогоды и защитит изоляцию от любых повреждений. На этом этапе выполняется обработка наружных архитектурных стен, например, детали, созданные с помощью опалубки или облицовки тонким кирпичом.
Устанавливается стальная сетка из арматурных стержней, а также вставки и закладные, используемые для подъема и крепления панелей друг к другу, стропильной системе и фундаменту. Затем заливается внутренняя часть.
В дополнение к защите изоляции, внутренняя перекладина может выполнять конструктивные функции, поддерживая крышу и любые нагрузки на верхний этаж. Обычно он толще, чем внешняя сторона, максимизация теплового эффекта стены за счет стабилизации температуры внутри здания.
После того, как теплоизоляционные сэндвич-панели подняты на место и структурные соединения здания завершены, стыки панелей герметизируются внутри и снаружи, чтобы создать герметичную оболочку здания.
R-значения в сэндвич-панелях
R-значение — это способ измерения способности изоляционного материала сопротивляться тепловому потоку. Высокое значение R указывает на большую изолирующую способность.
Бетонная стена толщиной 7 дюймов имеет то же значение R, что и оконное стекло (R-1,5), но добавление 2-дюймового слоя жесткой изоляции значительно увеличивает общее значение R для бетонной сэндвич-панели. Это связано с тем, что «сэндвичевая» изоляция изолирует естественную тепловую массу бетона, сводя к минимуму колебания температуры внутри здания и снижая пиковые потребности в энергии.
Конкретный тип и толщина используемой изоляции будут зависеть от использования здания, климата и системы отопления здания, но наиболее распространенные типы изоляции из жесткого пенопласта, используемые в изолированных откидных стеновых панелях, имеют начальные значения R в диапазоне от R-4 до R-8 на дюйм толщины.
Кроме того, изоляция от края до края, ставшая возможной благодаря использованию неметаллических соединителей, таких как Delta Tie от Dayton Superior, полностью разделяет два слоя бетона, устраняя тепловые мостики (холодные точки) и любые потери R -Ценность.
Подъем бетонной сэндвич-панели на месте.Энергосбережение с помощью бетонных сэндвич-панелей
Теплоизоляционные сэндвич-панели уже много лет используются в индустрии наклонно-откидных конструкций и подходят практически для любого строительного проекта, включая промышленные, офисные, школьные, складские и жилые здания. 9№ 0006
Они предлагают всю гибкость конструкции стандартной панели из сборного железобетона, а также преимущества высокоэнергоэффективного здания, обеспечивающего круглогодичную экономию энергии. Хотите знать, подходят ли конструкция Tilt-Up и бетонные сэндвич-панели для вашего следующего строительного проекта? Свяжитесь с нами, и мы будем рады обсудить ваш проект.
Сэндвич-панели для наружных и внутренних стен
ЦВЕТА
STANDARD EXTERIOR LINING COLORS
RAL 3000
RAL 8017
RAL 5010
RAL 6011
RAL 9002
RAL 9006
RAL 7016
RAL 9007
RAL 7035
RAL 9010
STANDARD INTERIOR ЦВЕТА ОБЛИЦОВКИ
RAL 9002
RAL 9010
ПРИМЕНЕНИЕ
НАРУЖНАЯ СТЕНА — ГОРИЗОНТАЛЬНОЕ РАСПОЛОЖЕНИЕ ПЛИТ
4сэндвич-панель insPIRe® S
Строительный винт
Полиэтиленовая уплотнительная лента (ПЭС)
Накладки на фундамент
Плита накладная
Угловая планка
Строительство объекта
Применение Сэндвич-панели insPIRe® S с видимым креплением — это решение, оптимизированное по экономическим и прочностным соображениям.
Наличие панелей двух модульных размеров сводит к минимуму количество отходов, образующихся при сборке.НАРУЖНАЯ СТЕНА – ВЕРТИКАЛЬНОЕ РАСПОЛОЖЕНИЕ ПЛИТ
Использование сэндвич-панелей insPIRe® U с невидимым креплением улучшает визуальный эффект фасада здания. Кроме того, использование накладок, предлагаемых Gór Stal, и специальных монтажных принадлежностей облегчает сборку панелей и отделочные работы.
сэндвич-панель insPIRe® U
Строительный винт + шайба PM-1
Полиэтиленовая уплотнительная лента (ПЭС)
Накладки на фундаментУгловая планка
Конструкция для сэндвич-панелей
Строительство объекта
ПЕРЕГОРОДКА — ВИД СО СТОРОНЫ ПЛИТЫ
Небольшой собственный вес сэндвич-панелей облегчает их установку в закрытых помещениях, где транспортировка панелей механическим способом затруднена или даже невозможна.
Кроме того, широкий ассортимент типовых накладок, а также возможность выполнения механической обработки по индивидуальному проекту позволяет удовлетворить требования заказчика.Сэндвич-панель insPIRe® S
Строительный винт
Полиэтиленовая уплотнительная лента (ПЭС)
Планки для соединения панелей с полом
Плита накладная
Конструкция для внутренней стены
ПОТОЛОК – ВИД СНИЗУ
сэндвич-панель insPIRe® S
Строительный винт
Полиэтиленовая уплотнительная лента (ПЭС)
Плита накладная
Прокладка соединения панелей со стеной
Потолочная конструкция
Небольшой собственный вес сэндвич-панелей облегчает их установку в закрытых помещениях, где транспортировка панелей механическим способом затруднена или даже невозможна.
Кроме того, широкий ассортимент типовых накладок, а также возможность выполнения механической обработки по индивидуальному проекту позволяет удовлетворить требования заказчика.ПОТОЛОК — ВИД КОНСТРУКЦИИ СВЕРХУ
Небольшой собственный вес сэндвич-панелей облегчает их установку в закрытых помещениях, где транспортировка панелей механическим способом затруднена или даже невозможна. Кроме того, широкий ассортимент типовых накладок, а также возможность выполнения механической обработки по индивидуальному проекту позволяет удовлетворить требования заказчика.
Сэндвич-панель insPIRe® S
Строительный винт
Полиэтиленовая уплотнительная лента (ПЭС)
Плита накладная
Прокладка соединения панелей со стеной
Конструкция потолка адаптирована к условиям монтажа панелей
МОНТАЖ ПАНЕЛЕЙ
Сэндвич-панели – распространенный строительный материал для легкой наружной облицовки промышленных цехов, складов и производственных зданий, универмагов и торговых объектов, административных зданий, административных зданий и холодильных камер.
Монтаж сэндвич-панелей можно производить практически в любых погодных условиях.
ПРОКЛАДКИ И ДРУГИЕ ПРИНАДЛЕЖНОСТИ
Прокладки для сэндвич-панелей
Фланцы уплотнительные, предназначенные для прохода воздуховодов (например, вентиляционных) через кожух из сэндвич-панелей
Втулки — шайбы для холодных плит
Мы поставляем клейкие, полиуретановые (PUS и PURS), полиэтиленовые (PED) и бутиловые уплотнительные ленты
САМОРЕЗНЫЕ ВИНТЫ:
По специальному заказу возможно изготовление заглушек или соединителей в цвет внешней облицовки сэндвич-панели. Панели можно соединять со стальными, железобетонными и деревянными конструкциями с помощью специальных крепежных элементов. Подробную информацию о соединителях можно найти в наших технических каталогах.
ПРОКЛАДКИ
Длина: 3000 мм или 6000 мм
Материал: оцинкованный стальной лист
Защитное покрытие: полиэфирный лак
Дополнительная защита: фольга
Изготовитель имеет профилирующий станок, позволяющий выполнять гибку листового металла толщиной 1,25 мм (максимальная длина 6 м), по типовым формам из каталога и по индивидуальному проекту заказчика.

3 x 255