Укрепление откосов с помощью объемной георешетки
Георешетка представляет собой объемную конструкцию в виде ячеек из полимерных материалов, соединенных в большие полотна. Этот материал используется для укрепления грунтовых поверхностей в местах с повышенными нагрузками и действием внешних сред: берега водоемов, откосы, дамбы, автомобильные дороги и пр. Георешетка не дает грунту размываться, защищает слой земли от эрозии, делает поверхность более прочной и стойкой.
Геосинтетическая объемная решетка применяется в тех случаях, когда ведется строительство на неровных грунтовых поверхностях. При отсутствии армирующего слоя под действием нагрузок и атмосферных явлений грунт размывается, проседает и не создает достаточно твердую опору для находящейся на нем конструкции.
Георешетки с перфорацией широко применяются при необходимости организации дренажа. Георешетка не задерживает грунтовые воды, поэтому они не смещают грунт и он остается на прежнем месте. Также георешетка используется для укрепления береговой линии.
На таких участках монтируют материал с крупными ячейками, которые наполняются почвой, дерном, растительными заполнителями и пр.
Объемная георешетка получила широкое распространение при укреплении откосов различных насыпей. Она не допускает развитие эрозии, способствует укреплению берега и русел рек. Рассматриваемый материал выполняет множество дополнительных функций:
- Фильтрация. Благодаря использованию георешетки исключается вымывание грунта и наполнителя с откосов.
- Армирование. Использование георешетки значительно укрепит откос, под каким бы углом к горизонту он не находился.
- Дренаж.
- Защита от эрозии.
Обычно вместе с георешетками применяют и другие геосинтетические материалы, например, нетканый геотекстиль – всегда, что увеличивает общую эффективность. Такие материалы дополнительно укрепляют основание, армируют его, защищают и создают фильтры.
В местах, где отсутствуют значительные водяные потоки, возможно использование обычной почвы в качестве наполнителя.
При монтаже объемной георешетки на откосах выполняются следующие шаги:
- Подготовка откосов. Срезается вся растительность, убираются камни и мусор, поверхность выравнивается. Также наносится разметка под размещение решетки.
- Вырывается траншея вдоль основания откоса. Эта траншея необходима для крепления краев объемной георешетки. Возможны и другие способы монтажа, зависящие от уклона, площади и грунта.
- Георешетка расстилается по всей площади таким образом, чтобы не образовывались изгибы и не было слишком натянутых участков.
Производится фиксация краев и соединение соседних матов. - Заполнение ячеек крупнофракционными материалами. Размер фракций зависит от нагрузок, угла наклона откоса и условий эксплуатации. В качестве наполнителя используется щебень, камень, смеси.
Объемная георешетка пришла на смену железобетонным конструкциям, которые были более сложными в монтаже, очень дорогими и существенно увеличивали нагрузку на грунт.
Купить георешетку объемную со склада в Москве, Московской области и регионах вы можете в компании «СтройГеоСинтез». На нашем сайте представлена обычные и перфорированные георешетки Геоком по оптимальным ценам.
Геоматериалы для укрепления склонов
Содержание
- Видео: Бюджетный способ укрепления крутых откосов, склонов на участке
- Преимущества и недостатки георешеточных материалов
- Основные критерии самостоятельного выбора
- Таблица: Как выбрать георешетку
- Особенности георешеточного монтажа
- Технология укрепления грунтовых склонов разной крутизны
- Укрепление склонов в процессе дорожного строительства
- Укрепления склона в районе паркинга или заправочной станции
- Рекомендации профи
Необходимость в полноценной защите склонов и откосов от разрушения водной эрозией инициировала создание новых видов армирующих материалов и технологий их монтажа.
В качестве оптимального по стоимости, трудозатратам и эффективности варианта, специалисты предлагают разные модификации сеточных и решеточных геоматериалов. Несложные в монтаже и долговечные в эксплуатации армирующие покрытия положительно зарекомендовали себя в широком перечне дорожных и гидротехнических технологий.
Ландшафтные дизайнеры считают удачным инновационным решением укрепление откосов и склонов полимерной георешеткой сеточного и объёмного типа. Предлагаемый ассортимент пользуется неизменно высоким спросом в технологиях строительства объектов на местности с проблемным рельефом. Геосетка для укрепления склонов на дачном участке пользуется стабильно высоким спросом.
Видео: бюджетный способ укрепления крутых откосов, склонов на участке
Преимущества и недостатки георешёточных материалов
В техническом понимании, георешёткой называется монтажный элемент с сотовой структурой, состоящий из соединённых тепловой сваркой жестких полимерных полос. Продукция характеризуется прочностью, стойкостью к разрушающим внешним воздействиям, сохранением рабочих параметров на протяжении практически неограниченного срока службы. Основные преимущества:
- универсальные во многих отношениях, решеточные модули производятся из химически инертного полимерного сырья, поэтому не взаимодействуют с природной окружающей средой, а также не имеют эксплуатационных, экологических и природоохранных ограничений;
- расположенные в толще грунта покрытия обладают уникальными армирующими свойствами, в тоже время не препятствуют развитию корневых систем трав и кустарниковых насаждений;
- действующий ассортимент соответствует требованиям современных землеустроительных и ландшафтно-образующих технологий;
- устойчивая к механическим нагрузкам и температурным перепадам геосетка для укрепления откосов демонстрирует пригодность для упрочения слабых песчаных и переувлажнённых грунтов и повышения их несущих свойств;
- в активе георешеточных материалов доступная для освоения сложных проектов стоимость, не требующий специальной квалификации простой монтаж, возможность повышения эффективности работы в сочетании с другими тканевыми, сеточными и мембранными геоматериалами.
Наряду с бесспорными достоинствами, применение решеточного армирования характеризуется некоторыми недостатками. По мнению специалистов, это:
Основные критерии самостоятельного выбора
Прежде чем отдать предпочтение какой либо модификации георешетки, следует убедиться в её соответствии проектным требованиям и условиям будущей эксплуатации. Предлагаемый ассортимент включает в себя следующие разновидности:
-
решетка с ячеистой структурой сотового типа — в рабочем положении представляет собой растянутое и зафиксированное армирующее покрытие, изначально ориентированное на упрочение грунтовых откосов;
-
двухосная решетка сеточного типа — может служить основой для землеустроительных и ландшафтных работ на проблемных песчаных и супесчаных грунтах;
-
комбинированная георешетка с фильтрационным геотекстильным покрытием успешно используется для обустройства экогазонов и автомобильных паркингов с травяным покрытием.
Обязательные требования к геотекстильному компоненту, это сочетание прочности, надёжности и долговечности. Заявленным требованиям соответствуют новые модели на основе полиэтиленового, полипропиленового и аналогичного по свойствам полимерного сырья.
Таблица: Как выбрать георешетку
| Характеристики | При использовании оснований | При использовании склонов | При использовании берегов |
| Высота модуля |
Чем слабее основание, тем большую высоту нужно применять. На болотистой местности не меньше 150 мм. Рекомендованная, при засыпке щебнем, 150-200 мм |
Чем круче склон, тем выше берется высота модуля. Рекомендованная, при засыпке щебнем: На откосе 20° не меньше 50-100 мм. На откосе 30° не меньше 100-150 мм. На откосе до 40° не меньше 150-200 мм.
|
Чем круче берег, тем полоса должна быть выше. Рекомендованная, при засыпке щебнем, 150-200 мм. |
| Размер ячейки |
Чем меньше ячейка, тем дольше при большой интенсивности воздействия прослужит основание. Рекомендованная, при засыпке щебнем, 200-260 мм. |
Чем круче склон, тем ячейки с меньшим размером применяются.
На откосе 20° не меньше 400-600 мм. На откосе 30° не меньше 300-400 мм. На откосе до 40° не меньше 200-300 мм. |
Чем круче берег, тем ячейки с меньшим размером применяются. На береге 30 не больше 300х300 мм. Рекомендованная, при засыпке щебнем, 200-260 мм. |
| Толщина ребра |
Чем толще ребро, тем выше разрывные параметры ленты шва. Рекомендованная, при засыпке щебня, 1,50 мм |
Чем толще ребро, тем больше разрывные нагрузки ленты и шва.
Рекомендованная, при засыпке щебнем: На откосе от 25° до 40° — 1,35 мм. |
Чем толще ребро, тем выше параметры ленты и шва на разрыв. Рекомендованная, при засыпке щебнем, 1,35 мм. |
| Прочность ленты | Чем интенсивнее прогнозируемая нагрузка, тем выше должны быть разрывные параметры. | Чем круче склон, тем больше должны быть разрывные характеристики. | Чем круче берег, тем выше закладываются нагрузки на разрыв. |
| Прочность шва | Чем интенсивнее прогнозируемая нагрузка, тем выше разрывные нагрузки. | Чем круче склон, тем больше должны быть разрывные параметры. | Чем круче берег, тем выше должны быть характеристики на разрыв. |
| Наполнитель | В большинстве случаев применяется щебень средней фракции. |
В зависимости от того, требуется озеленение или нет, применяют грунт и (или) щебень.
|
Применяется щебень или галька крупной или средней фракции. |
Особенности георешеточного монтажа
Полноценной альтернативы решеточному армированию грунтовых откосов в арсенале строителей пока не существует. Практически все модели характеризуются стойкостью к экстремальным механическим нагрузкам и надёжной фиксацией грунтового или щебневого наполнителя ячеек.
Армирующее покрытие укладывается только после полного завершения стартовых подготовительных работ, которые выполняются в следующей последовательности:
-
рабочую территорию необходимо очистить от посторонних предметов и устранить все неровности;
-
решеточные модули фиксируются в растянутом положении металлическими или пластиковыми анкерами, при их отсутствии деревянными колышками;
-
для надёжного крепления покрытия на крутом склоне лучше использовать Г-образные нагели.
-
в качестве отсыпки можно использовать грунт или смесь песка с торфом;
-
объём установленного в нижней части склона дренажного лотка можно заполнить щебнем.
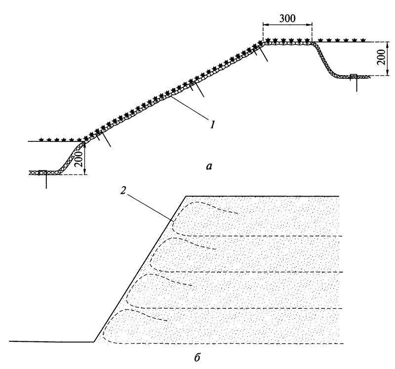
Схема монтажа георешетки
Технология укрепления грунтовых склонов разной крутизны
Практика применения армирующей георешетки подтвердила уменьшение объёмов подготовительных работ и безопасность эксплуатации транспортных коммуникаций. Монтаж геосетки для укрепления дорожных откосов не требует капитальных затрат.
Укрепление склонов в процессе дорожного строительства
Прокладка дорожных магистралей предусматривает благоустройство прилегающей территории, в частности укрепление подверженных водной эрозии и сползанию склонов и откосов. В современных реалиях проблема армирования опасных участков решается применением объёмной георешетки со щебневым наполнителем и обустройством водоотводных дренажей.
| Такие покрытия не размываются водой во время интенсивных атмосферных осадков, не препятствуют развитию корневых систем трав и кустарников. На участках дорог со сложным рельефом местности, укрепление откосов объемной георешеткой, геоплитами или комбинированными настилами, повсеместно практикуется во многих регионах страны. |
Схема комбинированного укрепление осыпающихся склонов
Укрепление склона в районе паркинга или заправочной станции
Стекающая с откоса дождевая влага смывает рыхлый грунт, который оседает на территории уже облагороженного участка. Для устранения нежелательных последствий потребуется подготовка рабочей территории для геотекстильного армирования.
Работа начинается с удаления плодородного слоя и нанесения противокорневого геотекстильного покрытия. Далее следует слой щебневой или керамзитовой отсыпки высотой от 50 мм, который следует выровнять и уплотнить каткованием или трамбовкой.
На втором этапе производится укладка решеточных модулей на поверхность откоса. Фиксация покрытия в растянутом состоянии реализуется анкерным крепежом. Наполнителем решеточных сот может служить любой влагостойкий наполнитель типа каменной крошки или мелкого керамзита.
Рекомендации профи
При самостоятельном использовании георешетки для упрочения грунтового откоса желательно воспользоваться советами опытных специалистов.
-
В процессе укладки георешеточных модулей на плотный или глинистый грунт, верхнюю часть армирующего покрытия необходимо пригрузить упором из камней, блокирующим размыв почвы при интенсивных атмосферных осадках.
-
Каркасная конструкция укладывается по обе боковые стороны с существенным запасом. В таком решении в нижней части проще оборудовать водосток для сброса избыточной влаги в водоприёмник.
-
Для упрочения проблемных откосов рекомендуется отдать предпочтение так называемой объёмной решетке, со щебёночным наполнителем диаметром 3-4 см.
В условиях интенсивного водосброса, боковые ячейки решеточного покрытия лучше залить бетонным раствором.
Также стоит почитать:
- Правильное укрепление откосов в оврагах, на оползневых участках и берегах рек.
- Правильное укрепление берега пруда габионами!
- Берегоукрепление габионами зимой
Армирование крутого склона и стабилизация георешетки
Этот веб-сайт хранит файлы cookie на вашем компьютере. Эти файлы cookie используются для сбора информации о том, как вы взаимодействуете с нашим веб-сайтом, и позволяют нам запомнить вас. Мы используем эту информацию, чтобы улучшить и настроить ваш опыт просмотра, а также для аналитики и показателей о наших посетителях как на этом веб-сайте, так и в других средствах массовой информации.
Чтобы узнать больше о файлах cookie, которые мы используем, ознакомьтесь с нашей Политикой конфиденциальности.
Если вы откажетесь, ваша информация не будет отслеживаться при посещении этого веб-сайта. В вашем браузере будет использоваться один файл cookie, чтобы помнить о том, что вы предпочитаете не отслеживаться.
- Приложения
- Решения
- Ресурсы
- Тенсар+
- Истории успеха
- Поддерживать
- Подразделение CMC
- Америка (en-US) Америка (en-US)
- Америка
- Английский (США)
- Испанский
- Европа
- Английский (Великобритания)
- английский (другой)
- Голландский
- французский
- немецкий
- Норвежский
- польский
- Шведский
- Словацкий
- Азия и Тихий океан
- Китайский
- вьетнамский
- Америка
- Войти Зарегистрироваться
- Поддержка дизайна
- Где купить
- Карьера
- О нас
- Обзор приложений
- Типы приложений
- Истории успеха
- Сопутствующие товары
- Дизайн с тенсаром
- Ресурсы
- Найти дистрибьютора
Крутые армированные грунтовые склоны
Естественный выбор для строительства и стабилизации крутых склонов
Земляные подпорные стены или крутые склоны жизненно важны для склонов, на которых должна поддерживаться максимальная застраиваемая площадь или где есть резкие перепады уровня.
Если пространство не требует вертикальных стен, крутые армированные земляные склоны и стабилизация склонов с помощью георешетки предлагают привлекательные «зеленые» альтернативы со значительно меньшими затратами.
Тенсар специализируется на системах армированного грунта или механически стабилизированного грунта (MSE). Армированные грунтовые откосы с углом наклона забоя до 70° могут быть стабилизированы путем включения армирующих геосеток Тенсар, уложенных горизонтально от поверхности откоса слоями. Прочность, шаг и длина георешеток будут зависеть от угла наклона, свойств материала наполнителя и любой дополнительной нагрузки. Программное обеспечение Tensar для проектирования TensarSoil позволяет оптимизировать конструкцию укрепления откосов в соответствии с потребностями вашего проекта.
Усиление откосов с углом наклона до 45° с использованием методов стабилизации склонов с помощью георешетки Тенсар.
Наши армирующие георешетки будут укладываться горизонтально от поверхности склона слоями. Прочность, шаг и длина георешеток будут зависеть от угла наклона, свойств материала наполнителя и любой дополнительной нагрузки. Обычно не требуется компонентов структурной облицовки, что позволяет обрезать лицевую сторону до окончательного теста. В некоторых случаях перед посевом или посадкой для создания растительности может быть установлен мат для защиты от эрозии.Система усиления склонов TensarTech Natural Green быстро и просто устанавливается, не требуя специальных навыков. Включив в дизайн зоны верхнего слоя почвы за лицевой структурой, можно создать «зеленую» поверхность с использованием выбранных растений, подходящих для местных условий, для создания полностью покрытой растительностью поверхности.
Усиление откосов с углом наклона поверхности до 70°
Более крутые армированные грунтовые откосы с углом наклона поверхности до 70° требуют поддержки на забое, а также внутренней стабилизации.
В системе TensarTechGreenSlope используются георешетки для армирования грунта для стабилизации склона, надежно соединенные со специфическими для системы компонентами облицовки из сварной стальной сетки. Являясь полностью интегрированной системой укрепления откосов, конструкции TensarTech GreenSlope просты в установке, а модульный характер системы обеспечивает быстрое строительство с использованием навыков неспециалиста, в большинстве случаев без использования тяжелого подъемного оборудования или внешних опор.
Широкое основание армированного земляного склона означает, что опорное давление низкое, а фундамент часто не нужен, что значительно снижает затраты на целых 70% по сравнению с бетонными подпорными стенами. Затраты могут быть дополнительно снижены за счет использования местных материалов для обратной засыпки, в том числе переработанных и добытых на месте материалов.
Преимущества систем стабилизации склонов TensarTech
Системы удержания грунта TensarTech обеспечивают долговременную проверенную стабильность конструкции с расчетным сроком службы до 120 лет.
Их простая конструкция снижает стоимость и время строительства, позволяет использовать добытые на месте материалы для конструкционного заполнения и предлагает меньшие требования к фундаменту, а в некоторых случаях вообще не требует фундамента.
Наши усиленные системы стабилизации откосов также обеспечивают эстетически привлекательные, «зеленые» варианты облицовки, используя выбранные насаждения в соответствии с местными условиями и включая простое создание сложной или изогнутой геометрии. Кроме того, большинству систем не требуются ни подъемные краны, ни временные опоры, и они обладают высокой устойчивостью к динамическим и сейсмическим нагрузкам.
Простые в установке системы армированных земляных откосов TensarTech используют комбинацию георешеток, армирующих грунт, надежно соединенных с облицовочными компонентами. Использование высокопрочной арматуры склонов из георешетки Tensar снижает затраты за счет использования материалов для обратной засыпки, включая связные грунты, переработанные и полученные на месте материалы.
Армированный склон Связанные продукты и системы
Идет загрузка…
Нет результатов, соответствующих вашему поиску. Пожалуйста, попробуйте другой поиск или свяжитесь с нами, если у вас возникнут дополнительные вопросы.
Одноосные (RE) георешетки Tensar®
Изделия для армирования, предназначенные для выдерживания длительных высоких нагрузок в одном направлении. Изготовлен из высокопрочного полиэтилена HDPE.Настенная система TensarTech®TW3
Модульная блочная система подпорных стен из армированного грунтаНастенная система TensarTech® TW1
Модульная блочная система подпорных стен из армированного грунтаСтеновые системы TensarTech®ARES
Сегментная панель, облицованная системой подпорных стен из армированного грунтаСистема TensarTech®TR2
Система подпорных стен из армированного грунта с сетчатым покрытием для временных стен или заглубленных конструкций для сброса напораСистема подпорных стенок TensarTech® RockWall™ RockCage
Система подпорных стен из армированного грунта с габионной насыпьюСтеновая система TensarTech® Mesa®
Модульная блочная система подпорных стенСистема наклона TensarTech® NaturalGreen™
Система армированного грунта для устойчивых откосов до 45° с отделкой из естественной растительностиСистема TensarTech® GreenSlope
Система удержания земли на крутом склоне с естественной растительностьюИстории успеха в области укрепления склонов
Кендал, Великобритания
Ash Tree Park House Building
Рынок: Жилье и жилые домаПрименение: Укрепленные склоны
Преимущество: Экономия средств, экономия времени
Нортгемптоншир, Великобритания
Распределительный центр CostCo
Рынок: Коммерческий и промышленный секторПрименение: Укрепленные склоны
Преимущество: Экономия затрат
Girvan, Шотландия
Curragh Phase Three
Рынок: Коммерческие и промышленные объектыПрименение: Укрепленные склоны
Преимущество: Экономия затрат
Глазго, Великобритания
Медицинский центр Иствуд
Рынок: Коммерческие и промышленные объектыПрименение: Укрепленные склоны
Преимущество: Экономия затрат, экономия времени инг
Newport, Wales
Green Lane Rail
Рынок: RailПрименение: Укрепленные склоны, насыпи
Преимущество: Экономия времени
Эдинбург, Великобритания
Трамвайная остановка Murrayfield Stadium
Рынок: Железная дорогаПрименение: Укрепленные склоны, земляные подпорные стены
Преимущество: Экономия затрат, экономия времени
Удайпур, Индия
Ширококолейная железная дорога Ахмедабад-Удайпур
Рынок: Железная дорогаПрименение: Улучшение железнодорожного пути/борьба с эрозией
Преимущество: Экономия затрат, экономия времени
Ульстад, Норвегия
Насыпь для защиты от камнепадов
Рынок: Жилье и жилые домаПрименение: Укрепленные склоны
Преимущество : Экономия времени
Уверенный дизайн из любого места.

Программа проектирования TensarSoil позволяет инженеру-конструктору создавать конструкции стен из армированного грунта, откосов и опор мостов.
Запрос TensarSoil
Ресурсы для укрепления склонов
Статья
Что такое оползень?
09 сентября 2021 г.
Статья
Обеспечение надежной поддержки улучшений A14
03 декабря 2020 г.
Вебинар
Применение нестандартных отсыпок в армированных грунтовых конструкциях автомобильных дорог
Посмотреть все
Где купить
Найти продукты Tensar
Получите контактную информацию местного инженера или дистрибьютора, чтобы мы помогли вам найти правильное решение для вашего проекта уже сегодня.
Город, штат или почтовый индексПодключиться
Нужна поддержка?
Мы здесь, чтобы помочь.
Электронная почта
Армированные грунтовые стены и укрепление склонов
Перейти к содержимомуГлавная > Решения > Армированные грунтовые стены и укрепление откосов
Стены из армированного грунта и укрепление склонов
Проблемы, возникающие при модификации грунтовых склонов.
Изменение углов склона почвы за пределы их естественного угла трения может привести к нестабильности склона. Такая ситуация может возникнуть при срезании откосов для прокладки новой магистрали или для получения площади под застройку на наклонном участке.
Улучшение характеристик грунта с помощью армирования георешеткой. Наша армирующая георешетка, используемая в сочетании с грунтом, позволяет ему работать лучше, чем в неармированном состоянии. Кроме того, они позволяют почве выдерживать большие нагрузки и стоять под более крутыми углами. Георешетки укладывают горизонтально в уплотненный грунтовый массив при строительстве, усиливая его за счет высокой прочности на растяжение, низкой деформации и хорошего взаимодействия с грунтом.
Грунтовые склоны с плохой несущей способностью или в сейсмоопасных районах. Наши откосы и конструкции из армированного грунта идеально подходят для строительства на грунтах с низкой несущей способностью, потому что они могут выдерживать дифференциальную осадку намного лучше, чем более жесткие решения.
Это также является большим преимуществом в сейсмических зонах, где наши решения подвергались воздействию значительных сейсмических явлений.
Решения Maccaferri ориентированы на устойчивое развитие. Наш непревзойденный ассортимент армирующих георешеток максимизирует возможность повторного использования материалов, добытых на месте, в качестве обратной засыпки армированного склона. Это экономит на экспорте и импорте материалов с площадки, обеспечивая устойчивость и сокращая количество загрязняющих окружающую среду перемещений грузовиков.
Потенциальная экономия средств. Экономия средств за счет повторного использования материала с георешетками может быть существенной в проекте. Это главная задача наших инженеров, когда они начинают работать с клиентами над решениями по укреплению откосов.
Гибридные конструкции обеспечивают экономичность и функциональность
Благодаря нашим знаниям и опыту в этой области решений и использованию нашего программного обеспечения для проектирования MacSTARs мы можем комбинировать георешетки с другими системами, такими как Terramesh®, Green и Mineral Terramesh®, для формирования гибридных конструкций Предлагая дополнительные преимущества экономической эффективности и улучшенной сборки.