Полистиролбетон своими руками: состав, пропорции и отзывы
Вторая половина XX века характеризуется технологической революцией, которая полностью изменила человеческую жизнь. Появились новые строительные материалы, технологии их обработки. Строить стали быстрее и качественнее. Традиционные камень и дерево постепенно уходят в прошлое.
На смену приходят материалы, которые еще совсем недавно казались несовместимыми. Одним из таких изобретений стал бетон с легким полимерным наполнителем.
Историческая справка
Строительные технологи много лет трудились над получением прочного, легкого и дешевого материала. Чтобы можно было быстро строить новые высотные дома, снижая нагрузку на фундамент. В середине XX века была предложена блестящая идея – вместо тяжелого щебня в бетонных смесях использовать легкий пенополистирол. В то время нефтехимия еще была мало развита, и материал получился хоть и качественный, но дорогой.

Потребовалось 15 лет развития, чтобы технология стала доступной по цене и могла быть внедрена в промышленную индустрию. Родоначальник изобретения фирма BASF сегодня стала признанным мировым лидером по изготовлению сырья для полистиролбетона.
Особенности материала
Сочетание нефтехимии и цемента родило новый высокопрочный материал, с отличными теплоизоляционными возможностями. Технология изготовления настолько простая, что даже не специалист может построить своими руками дом из полистиролбетона.
Основными компонентами будут дешевые доступные материалы.
- Все хорошо знают полистирольный утеплитель в прессованных листах. Точно так же уже давно ряд фирм выпускает гранулы для заполнения бетонных смесей.
- Для создания прочной структуры используется цемент марки не ниже М300.
- Иногда для придания дополнительной плотности конечному материалу добавляют песок. Как правило, не более 15 %.
- Некоторые виды бетона содержат синтетическое волокно. Его присутствие препятствует усадке и появлению мелких трещин.
- Для формирования равномерной структуры добавляют различные пластификаторы. При изготовлении полистиролбетона своими руками часто используют обычное моющее вещество «Фейри».
Стандарт полистиролбетона
Одновременно с западными фирмами специалисты Советского Союза вели свои разработки легких бетонов. В настоящее время Россия, как преемница тех разработок, широко применяет новые материалы в промышленном строительстве. Институт ВНИИжелезобетон разработал стандарт 33929-2016 на технические условия изготовления бетона, в котором отражены все требования к исходным компонентам и конечному продукту.
Рекомендуемые сферы применения:
- Теплоизоляция перекрытий, наружных стен и фундаментов. В этом случае не предусматривается большой нагрузки, соответственно, по прочности достаточно иметь марку B0,35.
- Утепление наружных стен высотных зданий, монолитное заполнение каркасных конструкции уже требует более прочного бетона B0.5-B1.
- Для зданий не выше 2 этажей и наружных не несущих стен допускается применение таких бетонов, но уже марка по прочности должна быть B1,5-B2,5.
Частное домостроение
Конечно, в индивидуальном строительстве мало кто соблюдает все требования и рекомендации ГОСТа. Часто смекалка застройщика находит материалу самые неожиданные сферы применения. При этом не надо забывать – стандарты разрабатываются специалистами при опоре на многолетний опыт. Тем более что при нарушении технологии можно не просто испортить строение, но и создать угрозу собственной безопасности. Изготавливая полистиролбетон своими руками, соблюдайте все технологические требования и пропорции составляющих элементов.

Рассмотрим несколько наиболее актуальных сфер применения.
Монолитное строительство
Как построить монолитный дом из полистиролбетона? Своими руками можно сделать смесь, собрать опалубку и залить бетон. Все просто только на словах. Использование сверхлегких бетонов для заливки монолитных стен, согласно отзывам, — самое неудачное применение материала. Во-первых, в условиях строительной площадки трудно промешать цемент с легким полимером. Последний постоянно норовит подняться вверх. Во-вторых, такие бетоны дают усадку и сделать правильные расчеты самостоятельно не всегда просто. В-третьих, соприкосновение поверхности монолитной стены с агрессивной атмосферной средой часто приводит к быстрому разрушению строения. От этого можно защититься толстым слоем штукатурки, но все равно неприятно, ведь все приходится делать своими руками.
Монолитный полистиролбетон чаще применяют в качестве наполнителя между двумя несущими поверхностями. Например, кирпичной кладкой.

Бетонные блоки
Согласно отзывам, популярно делать из полистиролбетона своими руками блоки. Во-первых, в зависимости от свободного времени процесс изготовления можно сильно растянуть. Во-вторых, нет необходимости делать замесы в больших объемах. Достаточно хорошо промешать бетон на несколько блоков. Залить опалубку и спокойно работать над следующей партией. В-третьих, готовым блокам можно дать время набрать прочность, не подвергая нагрузкам. Дело в том, что полистиролбетон набирает прочностные характеристики в течение 28 дней. Во время просушки блоки нужно разместить так, чтобы они не подвергались атмосферным осадкам или солнечному воздействию.

Впоследствии из готовых блоков уже можно делать любое здание. Процесс этот намного проще, чем кирпичная кладка.

Утепление перекрытий и стяжки
Легкий, но достаточно прочный материал великолепно подходит для утепления полов полистиролбетоном. Своими руками очень просто сделать замес, разлить по основанию и выровнять. Даем время просохнуть. Можно приступать к финишному покрытию. Конструкция не требует дополнительного утеплителя и достаточно прочная. Совсем неожиданно такая практика появилась при изготовлении полистиролбетонной стяжки своими руками на водоплавающих объектах. Способность выдерживать высокие линейные нагрузки материала идеально подходит для домов на воде. К тому же материал не гигроскопичен.

Приготовление раствора своими руками
Планируя работать с легкими бетонами, сначала нужно определиться, какая структура изделия интересует:
- плотная;
- пористая;
- крупнопоризованная.
В зависимости от этого выбирается рецепт изготовления смеси. В домашних условиях не стоит начинать с пористой и крупнопоризованной смесей. Для их изготовления требуются дополнительные приспособления и определенные навыки.
С плотной смесью все проще. Достаточно стандартного набора инструментов для изготовления бетонов. Приведем пример, как сделать полистиролбетон своими руками в самых простых условиях.
Состав смесей
Как уже отмечалось, для долговечности использования важно соблюдать рекомендуемые соотношения компонентов и их качество. В противном случае есть вероятность быстрого разрушения, плохих эксплуатационных свойств.
- Для полов, стяжек, утепления перекрытий подойдет марка B0,35. Пропорции смеси такие: на кубометр полистирола берут 160 кг цемента (марка не ниже М400), 1 килограмм смолы древесно-омыленной и разбавляют 100 литрами воды.
- Для заполнения стен в качестве прочного утеплителя уже делается бетон B0,75. В этом случае марку цемента можно немного понизить, до М300, его потребуется 160 кг, добавляется 75 килограмм речного песка, 9 кг полистирола и 5 кг латекса. Воды нужно 95 литров.
- Для стеновых блоков лучше использовать марку B1,5. При изготовлении блоков из полистиролбетона своими руками пропорции выглядят так: 190 кг цемента М300, 110 кг речного песка, 10 кг латекса, 115 л воды.
- Для конструкций, несущих большие нагрузки, максимально возможная прочность — B2,5. Естественно, надо брать уже больше цемента. Марки М300 нужно 180 кг, песок не применяется, полистерола — 11 кг, латекса — 5 кг. Все размешивается со 130 литрами воды.
Используемый инструмент
Для приготовления полистиролбетона своими руками особых приспособлений не нужно. Достаточно обычной мешалки и соответствующих емкостей. Для производства блоков стоит запастись опалубкой. Можно сделать из дерева, но лучше использовать промышленную металлическую. Работы проводить лучше в крытом помещении, чтобы просыхать готовые блоки могли под навесом.
При строительстве дома уже примитивной мешалки будет недостаточно. Можно приобрести небольшую активную бетономешалку и спокойно работать. Для домашней бригады этого вполне достаточно.
Тем, кто хочет производить блоки в большом количестве, например построить ферму, стоит подумать о дополнительном оборудовании. Чтобы блоки получались прочными, нужно бетонную смесь подвергать вибрации. Для этого существуют специальные вибростолы или ручные вибраторы. Выбор за хозяином, в зависимости от его планов.

Технологии изготовления полистиролбетона своими руками практически не отличаются от производства других бетонов. Главное — усвоить несколько простых правил, всегда им следовать:
- Строго соблюдаются все рекомендации по пропорциям. Следите за составом.
- Цемент покупается только качественный. Марка должна соответствовать заявленной в паспорте. Избегайте сомнительных продавцов.
- Полистирольные гранулы берутся только от известных производителей. Может, это покажется дороже, но качественные изделия быстро покажут свою экономичность.
- Не забывайте про пластификаторы, они играют важную роль для придания бетону однородности.
fb.ru
Полистиролбетон своими руками: состав и пропорции
Полистиролбетон принадлежит к одной из видов простых бетонов, показанных в типе композиционного материала. Сам он состоит из портландцемента и также гранулированного вспененного полистирола. Полимер дает блокам легкость и повышает их теплоемкость.
А бетон сформирует твердый и крепкий каркас по всему размеру блока. Сами же блоки полистиролбетона, конечно могут быть разных объемов в зависимости от метода монтажа и типа работ.
Положительные свойства
1. Главными позитивными качествами этого вещества является надежность к разрушительным свойствам разных температур и атмосферных перемен и большая огнестойкость. Благодаря такому полистиролу, бетон-блоки довольно воздушные и владеют превосходными изолирующими качествами. Дом из подобного вещества будет достаточно теплым.
2. Полистиролбетонные блоки производятся своими руками непосредственно на стройплощадке.
Подача стройматериала исполняется с поддержкой бетононасоса с последующей заливкой в особую опалубку. Методика производства полистиролбетона фактически никак не отличается от изготовления иных типов бетона. Надежность и теплоизоляционные качества блоков напрямую зависит от процентного содержания нужных компонентов. Подобным способом, выходит дом, стенки которого могут иметь разнообразную как форму, так и толщину самих стен.
3. Полистиролбетон – это универсальный общестроительный материал, что предоставляет возможность создать высотные сооружения и дома. Блоки с полистиролбетона весьма популярны, если возводится дом с поддержкой заливного метода постройки стен.
4. Существенным позитивным качеством блоков приходит умение довольно стремительно схватываться и застывать, не давая усадки дома, а кроме того они располагают низкой водопоглощаемостью. Помимо этого, блоки с полистиролбетона обладают более низкой ценой, нежели многие иные утеплители.
5. Если сооружается дом с полистиролбетона своими руками, отсутствует потребности использовать тяжелую подъемную технику. Такого рода стройматериал не поддается разложению и не притягивает грызунов. Необходимо заметить его прочность и экологичность.
Несомненно, можно смело построить дом с полистиролбетона собственными руками для многих поколений, благодаря тому, что качества блоков никак не испаряются многие года, в том числе и, несмотря на лютые холода. Грамотно сделанные собственноручно полистиролбетонные блоки, скорее всего, напоминают по своим чертам древесину, однако при этом время их службы существенно больше и составляет примерно 100 лет.
6. Блоки обладают большим объемом и небольшой массой. Такого рода материал пожароустойчив и влагонепроницаем. Владеет энергосберегающими возможностями. Все данные качества весьма значительны, когда строится дом. Кроме того дом с полистиролбетонных блоков будет сравнительно дешевым в проекте покупки материалов.
Полистиролбетон своими руками
Для того чтобы изготовить полистиролбетонные блоки собственными руками, нужно иметь подобные инструменты:
- совковая лопата;
- бетономешалка.
Смотря на то, какой плотностью вынужден обладать в окончательном результате бетон, прежде чем сделать блоки, необходимо тщательнейшим образом выбирать соотношения разных компонентов. Всевозможные полистиролбетонные смеси обладают разной плотностью.
Например, чтобы плотность блоков была 300, нужно принять в расчет подобные соотношения:
- ПВГ 0.85;
- вода 100 л;
- добавки 2%;
- цемент 300 килограмм.
А когда нам нужна плотность блоков 800, в этом случае берутся несколько другие соотношения:
- песок 500;
- цемент 300 килограмм;
- ПВГ 0.68;
- добавки 2%;
- вода 140 л.
Этапы загрузки компонентов в бетономешалку
- Сначала подаем отдозированный согласно объему ПВГ, воду и хим. добавки;
- Далее приобретенная субстанция перемешивается в процессе 1-2 мин.;
- Далее подаем цемент (наполнитель) в количестве, которое рассчитано под этот размер, и состав перемешивается еще не меньше 3 минут вплоть до получения слитной однородной массы.
В течении работы дополняют компоненты, постоянно размешивая целую смесь. Деготь в этом случае применяется в качестве непромокаемого элемента для полистиролбетона.
Блоки из полистиролбетона своими руками
После этого как все составляющие будут тщательнейшим образом перемешаны, приобретенную смесь разливают по спец. формам, которые можно сколотить с дощечек, подвергнув обработке первоначально их внутреннюю часть автомобильным маслом.

Процедура затвердения блоков может меняться в зависимости от многочисленных условий. Среди их можно особо отметить время, активность вяжущих элементов и температуру здания. Однако, обычно, это занимает не больше 24-25 часов.
Впоследствии чего законченный цельнобетонный блок достают с формы и оставляют в холодном участке до глубокого просыхания. Использовать же готовые бетонные блоки, изготовленные собственными руками, и возводить дом можно не ранее чем через 2 или 3 недели.
Недостатки полистиролбетонных блоков
Судя по всему, такой полистирол представляется многоцелевым материалом, что соответствует абсолютно всем предъявляемым требованиям. Однако минусы можно найти в каждом стройматериале и полистиролбетон, конечно не будет исключением.
1. Из практики установлено, что впоследствии 2-ух десятков циклов вначале оттаивания, потом заморозки прочность бетон-блоков стремительно опускается, и они начинают рассыпаться. Для того чтобы исключить подобные малоприятные факторы, нужно покрыть дом толстым пластом штукатурки с дальнейшей покраской.
2. Полистиролбетонные блоки не загораются, однако при взаимодействии с открытым пламенем гранулы полистирола плавятся, создавая углубления и неровности на поверхности бетона, впоследствии чего понадобится полное их возобновление.
3. В случае, когда гранулы полистиролбетона имеют невысокое качество, они могут отпадать от бетона и высыпаться с последующем образованием пустот. Вследствие этого при закупке пенополистирола нужно удостовериться, что он имеет сертификат качества.
4. Полистиролбетон довольно хорошо втягивает воду. Со временем это может отрицательно отразиться на сухости стенок, и дом может пропитаться влагой. Поэтому, учитывая все плюсы, а также минусы, вы сами обязаны подобрать для себя материал, с которого начнете строить собственный дом.
vseprostroiku.ru
Как сделать полистеролбетон. Состав и применение полистеролбетона

В статье рассмотрим следующие вопросы:
Смесь цемента и пенополистирола дает возможность получать прочный материал, показывающий высокие характеристики теплоустойчивости. Если тщательно изучить технологию производства и соблюсти все пропорции, то плистиролбетон может изготовить даже человек, отдаленный от строительной сферы. Несмотря на это, материал не будет уступать аналогичному материалу, произведенному на заводе.
Состав полистиролбетона
В зависимости от концентрации того или иного вещества, получается строительный материал, характеристики которого могут отличаться от нормы. К примеру, теплоизоляция может быть больше или меньше от нормы. Несмотря на это, вы получите теплоустойчивый качественный материал, ничем не уступающий по эффективности современным аналогам.

Для эффективного изготовления качественного полистиролбетона специалисты рекомендуют воспользоваться маркой цемента М400. К нему добавляется вода, пластифицирующие добавки и остальные вещества, вовлекающие воздух, а также пенополистироловые гранулы. Все эти материалы можно легко приобрести в любом строительном супермаркете. Пенополистирол поставляется в специальных мешках. Его свойства схожи с обычным раскрошенным пенопластом.
Отдельного внимания заслуживают элемента, добавляемые специально для производства полистиролбетона. Одним из таких веществ является СДО (смола древесная омыленная). Благодаря ей, внутри полученной смеси образуются пузырьки воздуха, повышающие теплозащитные показатели материала. Можно обойтись и без смолы, но в этом случае полистиролбетон буде значительно холоднее.

Следует добавить определенное значение пластификаторов для бетона. Их можно легко и быстро купить в любой строительной торговой точке. Свойствам пластификаторов прекрасно соответствует «Фейри» — одно из популярнейших моющих средств. В этом случае необходимо соблюсти пропорцию на каждые 10 литров чистой воды необходимо добавить 20 мл представленного моющего средства.
Благодаря таким веществам, гранулы лучше сцепляются между собой. Это предотвращает порчу полистиролбетона путем образования трещин и других образований подобного типа. Кроме того, получаемый строительный материал лучше проявляет свойства пластичности.
Применение полистиролбетона
В зависимости от целей применения полистиролбетона на рынке встречаются его разные составы. Для определения необходимого вида такого строительного вещества лучше посоветоваться с квалифицированным специалистом.

Если вам необходимо применить материал для несущих стен в двухэтажных строениях, лучше выбрать его плотность D500. Для невысоких зданий относительно малых площадей вполне применима D400. В таких домах должна быть слабая крыша и лаги, изготовленные из дерева. D300 и D200 – популярные марки, которые применяются в качестве теплоизоляционных материалов.
Полистиролбетон для стяжки пола
Одним из главных положительных качеств строительного материала является его относительная легкость. Это дало возможность строительным организациям использовать его в строительстве всевозможных перекрытий между этажами здания и изготовлении полов.
Если сравнивать полистиролбетон даже с качественными цементно-песчаными стяжками, то можно заметить, что он значительно меньше нагружает полученную конструкцию, не проигрывая в прочности и теплозащите всего устройства.

Чтобы эффективно утеплить пол вполне достаточно пяти сантиметров материала, плотность которого D300-D200. В этом случае необходимость укладывать дополнительный материал (гидро- и пароизоляционная пленка), необходимый для лучшего утепления. Полистиролбетон способен не только утеплить помещение, выровнять обрабатываемую поверхность, но и проявить прекрасные звукополгощающие свойства.
Правила изготовления полистиролбетона
Для создания максимально однородного материала, специалисты рекомендуют выполнять следующие действия:
- Приобретенные полистирол в виде гранул поместить в бетономешалку.
- Залить водой с растворенным в ней моющим средством или пластификатором. Воды должно быть 10% от общей массы.
- Около полминуты тщательно перемешивать, что приведет к тому, что все гранулы были влажные.
- Засыпать подходящим цементом полученную смесь.
- Долить еще 85% воды с моющим средством.
- Разбавить в воде СДО и добавить в образовавшуюся ранее смесь.
- Все это необходимо перемешивать на протяжении 3 минут.
Таким образом, вы получите готовую смесь, которую уже можно легко применять в строительстве. Из нее изготовляют блоки либо применяют в качестве половой стяжки.
Свойства полистиролбетона
Положительными качествами, которыми располагает полистиролбетон, обеспечивается довольно серьезная конкуренция многим материалам похожего назначения.

- Несмотря на высокие показатели теплозащиты и небольшую плотность, полистиролбетон способен выдерживать серьезные нагрузки во время процессов сжатия и растяжения. Благодаря этому, его широко применяют при строительстве несущих конструкций.
- Огнестойкость полистиролбетона может достигнуть до 90 минут. Он считается негорючим строительным материалом.
- Материал характеризуется морозостойкостью.
- Низкий показатель водопоглощения позволяет сохранить параметр теплопроводности даже при попадании на материал влаги.
- Отличная адгезия ко всем известным материалам, применяющимся в строительной сфере. Легко и быстро шпаклюется и поддается дальнейшей обработке.
- Выдерживает более высокую нагрузку, чем бетоны ячеистого типа за счет более эластичной структуры.
- Устойчив к таким разрушительным образованиям, как гниение. Кроме того, проявляет стойкость к воздействию солнечного света, действию микроорганизмов и плесени.
Видео:
Loading … Спасибо Вам за добавление этой статьи в:rmnt.net
армированная полистиролбетонная смесь, способ приготовления смеси, способ изготовления теплоизоляционных изделий, панель и блок (варианты) — патент РФ 2309134
Изобретения относятся к производству строительных материалов и изделий. В состав для получения армированной полистиролбетонной смеси входит, кГ/м3: портландцемент — 160-170, вспененный гранулированный полистирол — 15-17, базальтовое волокно — 0,50-0,70, смола древесная омыленная — 0,35-0,50, пластифицирующая добавка — С-3 — 1,50-2,50, гидрофобизирующая добавка — 0,4-0,5, полиакриламид — 0,40-0,60, лигнопан Б-2 — 0,35-0,50, вода — 50-55. Способ приготовления армированной полистиролбетонной смеси включает смешивание компонентов состава для ее получения. При этом предварительно перемешивают пенополистирол, базальтовое волокно и добавки, введенные совместно с частью воды затворения. Затем при перемешивании вводят портландцемент, продолжают перемешивать в течение 5-15 сек, после чего добавляют воду и перемешивают 25-40 сек. Изготовление изделий из полистиролбетонной смеси осуществляют объемным вибропрессованием при величине уплотнения 8-15 кГ/см2. Технический результат заключается в упрощении способа приготовления смеси, высокой прочности изделий, улучшении теплоизоляционных свойств, высокой морозостойкости низкой паропроницаемости и низком водопоглощении. 6 н. и 3 з.п. ф-лы, 3 ил. 
Рисунки к патенту РФ 2309134
Изобретения относятся к производству строительных материалов и изделий, в частности, к теплоизоляционно-конструкционным материалам и изделиям на основе цементного вяжущего, вспененного полистрольного заполнителя и минеральных волокон.
Известны состав сырьевой смеси, способ ее приготовления и способ изготовления армированных полистиролбетонных изделий (патент РФ 2223931, кл. С04В 38/08, 20.02.2004 /1/). Известный состав включает, мас.%: портландцемент 68-70, вспененный полистирол 3-6, воздухововлекающую добавку — смолу древесную омыленную (СДО) (на сухое вещество) 0,1-0,2, воду остальное; армирующий материал в виде нитей или прутков (сверх 100%) 5-12. При приготовлении сырьевой смеси гранулированный вспененный полистирол с фракциями диаметром 3-5 мм смачивают частью воды затворения при перемешивании, вводят цемент, оставшуюся воду затворения, воздухововлекаюшую и пластифицирующую добавки. При формовании изделий полученную смесь подают с помощью насоса в опалубку с установленным в ней каркасом из армирующего материала — нитей или прутков, уложенную смесь отверждают, распалубливают и выдерживают до набора прочности. Плотность получаемых изделий 500-800 кГ/м3, прочность при сжатии 17,5-32,5 кГ/см2, коэффициент теплопроводности 0,11-0,17 Вт/м·°С.
Армирующий материал в известном способе /1/ не перемешивают с другими компонентами сырьевой смеси. Равномерность его распределения в получаемом изделии, а следовательно, и физико-механические и эксплуатационные характеристики определяются равномерностью распределения нитей или прутков в опалубке-форме и прочностью сцепления полистиролбетонной смеси с этими армирующими элементами. Целесообразно отметить многооперационность приготовления сырьевой смеси и сложность в обеспечении равномерного распределения армирующего материала.
Известна панель из полистиролбетона, выполненная в виде прямоугольной монолитной плиты с пазами и гребнями — выступами по торцам (свидетельство на полезную модель РФ 17329, кл. Е04С 2/00, 27.03.2001 /2/).
Известен строительный блок, выполненный из полистиролбетона в виде замкнутой оболочки с продольными и поперечными перемычками, которые образуют сквозные каналы; по крайней мере, на одной боковой стороне блока расположены дистанцирующие выступы, а на верхних гранях перемычек выполнен продольный паз (свидетельство на полезную модель РФ 22490, кл. Е04С 1/00, 10.04.2002 /3/).
Физико-механические свойства известных изделий определяются, наряду с другими характеристиками, свойствами полистиролбетонной смеси. Такие характеристики, как, например, прочность при сжатии и изгибе для таких изделий ниже, чем могут быть обеспечены при наличии армирующих элементов.
Наиболее близким аналогом является состав армированной полистиролбетонной смеси, способ ее приготовления и способ изготовления изделий, описанные в патенте РФ 2150446, кл. С04В 38/08, 10.06.2000 /4/.
Известный состав для приготовления сырьевой смеси включает, мас.%: минеральное вяжущее (цемент) 68-90, полистирольный заполнитель (смесь частиц из вспененных полистирольных гранул фракции 0,04-1,25 мм и частицы рваного пенополистирола) 0,7-2,3, щелочестойкое минеральное волокно (стекловолокно или минеральная вата) 1,4-5,2, воздухововлекающая добавка — (СДО) или смола нейтрализованная воздухововлекающая 0,3-0,7, пластифицирующая добавка С-3 0,25-0,55, вода остальное. При приготовлении смеси полистирольный заполнитель смачивают в смесителе частью воды затворения, затем подают цемент, волокнистый материал, оставшуюся часть воды затворения, пластифицирующую и воздухововлекающую добавки и перемешивают до получения однородной смеси. При изготовлении изделий полученную смесь подают в форму, формуют изделия и термообрабатывают при температуре 70°С.
Получаемые изделия характеризуются плотностью 850-1120 кГ/м 3, прочностью при сжатии 19,5-27,2 МПа, прочностью при изгибе 6,4-9,3 МПа, коэффициентом теплопроводности 0,226-0,273 Вт/м·К, водопоглощением 7,7-10,2 мас.%.
Задачей данного изобретения является создание состава для получения армированной полистиролбетонной смеси достаточно простым методом ее приготовления, а также способа изготовления изделий из этой смеси, характеризующихся при низкой плотности достаточно высокой прочностью при сжатии и изгибе, хорошими теплоизоляционными свойствами, высокой морозостойкостью, паро проницаемостью и низким водопоглощением.
Сформулированная задача решается за счет того, что состав для получения армированной полистиролбетонной смеси, включающий портландцемент, полистирольный заполнитель, щелочестойкое минеральное волокно, воздухововолекающую добавку — смолу древесную омыленную, пластифицирующую добавку — С-3 и воду, дополнительно содержит гидрофобизирующую добавку — ГКЖ-94, структурообразующую добавку — полиакриламид, и регулятор твердения — Лигнопан Б-2, а в качестве полистирольного заполнителя — предварительно вспененный гранулированный полистирол с размером гранул 2,8-3,0 мм и в качестве щелочестойкого минерального волокна — базальтовое волокно с длиной волокон 15-20 мм и диаметром 12-15 мкм, при следующем соотношении компонентов, кг/м 3:
| портландцемент | 160-170 |
| указанный полистирол | 15-17 |
| указанное базальтовое волокно | 0,50-0,70 |
| смола древесная смыленная (50%-ный раствор) | 0,35-0,50 |
| С-3 (на сухое) | 1,50-2,50 |
| ГКЖ-94 (50%-ной концентрации) | 0,40-0,50 |
| полиакриламид (10%-ный раствор) | 0,40-0,60 |
| Лигнопан Б-2 | 0,35-0,50 |
| Вода | 50-55 |
Сформулированная задача решается также за счет того, что в способе приготовления армированной полистролбетонной смеси, включающем смешивание компонентов состава для ее получения, при смешивании компонентов вышеприведенного состава предварительно перемешивают пенополистирол, базальтовое волокно и добавки, введенные совместно с частью воды затворения, затем при перемешивании вводят портландцемент, продолжают перемешивать в течение 5-15 сек, после чего добавляют воду и перемешивают 25-40 сек.
Сформулированная задача решается также за счет того, что в способе изготовления изделий из полистиролбетонной смеси, включающем приготовление смеси путем смешивания компонентов состава для ее получения, формование и отверждение, формование приготовленной вышеприведенным способом армированной полистролбетонной смеси из компонентов указанного ранее состава осуществляют объемным вибропрессованием при величине уплотнения 8-15 кг/см 2.
Формование может быть осуществлено с использованием пустотообразователей.
Панель армированную полистролбетонную изготавливают указанным ранее способом в виде прямоугольной монолитной плиты с гребнем или выступом, по крайней мере, на одном торце и с, по крайней мере, одним пазом — на другом.
Блок армированный полистиролбетонный изготавливают указанным ранее способом монолитным с, по крайней мере, одним пазом на одной его боковой стороне и с, по крайней мере, одним выступом — на другой.
Блок армированный полистиролбетонный изготавливают указанным ранее способом в виде замкнутой оболочки, содержащей продольные и/или поперечные перемычки, которые образуют полости или сквозные каналы. Такой блок может быть выполнен с пазом или пазами, по крайней мере, на одной его боковой стороне, и с соответствующим выступом или выступами — на другой. На верхних гранях перемычек и боковых сторон может быть выполнен продольный паз.
Именно указанный качественный и количественный состав обеспечивает получение достаточно простым способом армированной полистиролбетонной смеси, характеризующейся равномерным распределением по объему гранул вспененного полистирола и базальтовых волокон, не расслаивающейся в течение времени (не менее часа), достаточного для ее транспортировки на производственной территории или для доставки на стройплощадки.
При содержании компонентов в составе выше или ниже указанных в формуле значений изменяются нежелательным образом такие характеристики смеси, как устойчивость к расслаиванию, однородность смеси, формуемость, а также характеристики изготавливаемых изделий: плотность, прочность, теплопроводность, морозостойкость, водопоглощение.
Именно указанные в формуле сочетания размеров гранул пенополистирола (2,8-3,0 мм) и базальтовых волокон (длина 15-20 мм и диаметр 12-15 мкм) необходимы для равномерного их распределения в смеси и повышения устойчивости смеси к расслаиванию. При длине волокон свыше 20 мм и их диаметре меньше 12 мкм отмечено скручивание волокон или их измельчение, что приводит к ухудшению перемешиваемости смеси, неравномерному распределению волокон, ухудшению физико-механических характеристик получаемых из такой смеси изделий. При увеличении размера гранул пенополистирола повышается склонность смеси к расслаиванию. При уменьшении размеров гранул пенополистирола и длины волокон и увеличении их диаметра увеличивается плотность смеси и плотность формуемых из нее изделий.
В способе приготовления смеси порядок подачи компонентов на смешивание и продолжительность отдельных этапов перемешивания подобраны экспериментально. При больших продолжительностях перемешивания наблюдается скручивание базальтовых волокон, их дробление, а также дробление пенополистирольных гранул. При меньших продолжительностях не достигается равномерного распределения гранул пенополистирола и базальтовых волокон в смеси.
Используемые материалы:
— портландцемент по ГОСТ 10178-85;
— вспененный гранулированный полистирол с размером гранул 2,8-3,0 мм, полученный одно- или многоступенчатым вспениванием суспензионного вспенивающегося полистирола по ОСТ 301-05-202-92Е или марок R, SEPS, ZKF;
— пластификатор С-3 по ТУ 6-36-0204229-625;
— смола древесная омыленная — СДО по ТУ 13-02-81078-02-93;
— ГКЖ-94 — гидрофобизирующая жидкость [-C2H5Si(H)O-] n, где n=9÷14;
— Лигнопан Б-2 — модифицированные электролитами лигносульфонаты с молекулярной массой 10-50;
— Полиакриламид, например, по ТУ 6-02-00209912-41-94 или ТУ 6-10-1049-92.
Реализация заявленных изобретений подтверждается примерами.
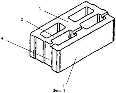
На фиг.1 представлено изделие из описанного выше конструкционно-теплоизоляционного материала, выполненное в виде имеющего несколько расположенных рядами пустот блока, используемого, например, для стен.
На фиг.2 представлен блок (узкий) из того же материала, используемый, например, в качестве кладочных изделий для перегородок или в качестве утеплителя при укладке его параллельно несущей или ограждающей конструкции здания или сооружения.
На фиг.3 представлено изделие, выполненное из конструкционно-теплоизоляционного материала, в виде имеющего расположенные рядом пустоты блока, используемого, например, для стен.
Пример 1. В герметичный баросмеситель загружают 16 кг вспененного гранулированного полистирола с размером гранул 2,8-3,0 мм, 0,6 кг базальтового волокна с длиной волокна 18 мм и диаметром 13 мкм, 0,35 кг смолы древесной омыленной, разбавленной частью воды затворения, 2 кг С-3, 0,5 кг полиакриламида, разбавленного частью воды затворения до 10%-ной концентрации, 0,4 кг ГКЖ-94 в виде 50%-ной эмульсии, 0,4 кг Лигнопана Б-2, перемешивают до однородной массы, затем при перемешивании вводят 160 кг портландцемента М-500, продолжают перемешивать в течение 10 сек, после чего добавляют остаток воды затворения (общее ее содержание 55 кг) и перемешивают 30 сек.
Полученную однородную смесь пневмотранспортом подают к дозаторам линии формования для изготовления монолитных блоков с пазом на одной боковой стороне и выступом — на другой. Размещенную в формах смесь подвергают объемному вибропрессованию при наложении колебаний от ИВ-99Е снизу и уплотнении сверху при давлении 10 кг/см2. После формования блоки на поддонах ставят на сушку.
Полученные блоки характеризуются плотностью 220 кг/м3, прочностью при сжатии 0,95 МПа, прочностью при изгибе 0,4 МПа, коэффициентом теплопроводности 0,078 Вт/м·К, водопоглощением при полном погружении 1,4% по объему, паропроницаемостью 0,85 мг/м·ч·Па, морозостойкостью (по ГОСТ 10060.2-95) F70.
Пример 2. В герметичный баросмеситель загружают 15 кг вспененного гранулированного полистирола с размером гранул 2,8-3,0 мм, 0,7 кг базальтового волокна с длиной волокна 18 мм и диаметром 13 мкм, 0,45 кг смолы древесной омыленной, разбавленной частью воды затворения, 2,5 кг С-3, 0,45 кг полиакриламида, разбавленного частью воды затворения до 10%-ной концентрации, 0,4 кг ГКЖ-94 в виде 50%-ной эмульсии, 0,35 кг Лигнопана Б-2, перемешивают до однородной массы, затем при перемешивании вводят 170 кг портландцемента М-500, продолжают перемешивать в течение 15 сек, после чего добавляют остаток воды затворения (общее ее содержание 53 кг) и перемешивают 40 сек.
Полученную однородную смесь пневмотранспортом подают к дозаторам линии формования для изготовления монолитных панелей с пазом на одной боковой стороне и выступом — на другой. Размещенную в формах смесь подвергают объемному вибропрессованию при наложении колебаний от ИВ-99Е снизу и уплотнении сверху при давлении 12 кг/см 2. После формования панели на поддонах ставят на сушку.
Формуют прямоугольную монолитную панель с выступом на одном торце и пазом на другом.
Пример 3. В герметичный баросмеситель загружают 17 кг вспененного гранулированного полистирола с размером гранул 2,8-3,0 мм, 0,5 кг базальтового волокна с длиной волокна 18 мм и диаметром 13 мкм, 0,50 кг смолы древесной омыленной, разбавленной частью воды затворения, 2,3 кг С-3, 0,55 кг полиакриламида, разбавленного частью воды затворения до 10%-ной концентрации, 0,45 кг ГКЖ-94 в виде 50%-ной эмульсии, 0,35 кг Лигнопана Б-2, перемешивают до однородной массы, затем при перемешивании вводят 165 кг портландцемента М-500, продолжают перемешивать в течение 12 сек, после чего добавляют остаток воды затворения (общее ее содержание 50 кг) и перемешивают 35 сек.
В формы для получения блоков размещают 4 пустотообразователя, имеющих в горизонтальном сечении форму близкую прямоугольной, подают приготовленную смесь и формуют объемным вибропрессованием при давлении сверху 15 кг/см 2 блок в виде замкнутой оболочки 1, содержащей продольную 2 и поперечную 3 перемычки (фиг.1). Пазы 4 на боковых сторонах и перемычке могут быть образованы размещением, после загрузки смеси в форму, соответствующего протяженного формообразующего элемента.
Получаемые по изобретениям изделия характеризуются следующими показателями:
| Плотность, кг/м3 | 175-425 |
| прочность при сжатии, МПа | 0,35-1,8 |
| прочность при изгибе, МПа | 0,15-0,6 |
| коэффициент теплопроводности, Вт/мК | 0,065-0,10 |
| водопоглощение при полном погружении, % по объему | 1-2 |
| морозостойкость | F50-F100 (ГОСТ 10060.2-95) |
| паропроницаемость, мГ/м·ч·Па | 0,85-0,90 |
| потеря прочности при 50-кратном | |
| замерзании до -50°С, % | 1,5-1,8. |
ФОРМУЛА ИЗОБРЕТЕНИЯ
1. Состав для получения армированной полистиролбетонной смеси, включающий портландцемент, полистирольный заполнитель, щелочестойкое минеральное волокно, воздухововлекающую добавку — смолу древесную омыленную, пластифицирующую добавку — С-3 и воду, отличающийся тем, что он дополнительно содержит гидрофобизирующую добавку — ГКЖ-94, структурообразующую добавку — полиакриламид и регулятор твердения — Лигнопан Б-2, а в качестве полистирольного заполнителя — предварительно вспененный гранулированный полистирол с размером гранул 2,8-3,0 мм и в качестве щелочестойкого минерального волокна — базальтовое волокно с длиной волокон 15-20 мм и диаметром 12-15 мкм, при следующем соотношении компонентов, кг/м 3:
| портландцемент | 160-170 |
| указанный полистирол | 15-17 |
| указанное базальтовое волокно | 0,50-0,70 |
| смола древесная омыленная (50%-ный раствор) | 0,35-0,50 |
| С-3 (на сухое) | 1,50-2,50 |
| ГКЖ-94 (50%-ной концентрации) | 0,4-0,5 |
| полиакриламид (10%-ный раствор) | 0,40-0,60 |
| Лигнопан Б-2 | 0,35-0,50 |
| вода | 50-55 |
2. Способ приготовления армированной полистиролбетонной смеси, включающий смешивание компонентов состава для ее получения, отличающийся тем, что при смешивании компонентов состава по п.1 предварительно перемешивают пенополистирол, базальтовое волокно и добавки, введенные совместно с частью воды затворения, затем при перемешивании вводят портландцемент, продолжают перемешивать в течение 5-15 с, после чего добавляют воду и перемешивают 25-40 с.
3. Способ изготовления изделий из полистиролбетонной смеси, включающий приготовление смеси путем смешивания компонентов состава для ее получения, формование и отверждение, отличающийся тем, что формование приготовленной способом по п.2 армированной полистиролбетонной смеси из компонентов состава по п.1 осуществляют объемным вибропрессованием при величине уплотнения 8-15 кг/см2.
4. Способ изготовления изделий по п.3, отличающийся тем, что формование осуществляют с использованием пустотообразователей.
5. Панель армированная полистиролбетонная, изготовленная способом по п.3, характеризующаяся тем, что она выполнена в виде прямоугольной монолитной плиты с гребнем или выступом, по крайней мере, на одном торце и с, по крайней мере, одним пазом — на другом.
6. Блок армированный полистиролбетонный, изготовленный способом по п.3, характеризующийся тем, что он выполнен монолитным с, по крайней мере, одним пазом на одной его боковой стороне и с, по крайней мере, одним выступом — на другой.
7. Блок армированный полистиролбетонный, изготовленный способом по п.4, характеризующийся тем, что он выполнен в виде замкнутой оболочки, содержащей продольные и/или поперечные перемычки, которые образуют полости или сквозные каналы.
8. Блок по п.7, отличающийся тем, что, по крайней мере, на одной его боковой стороне выполнен паз и/или пазы, а на другой — соответствующие выступ или выступы.
9. Блок по п.8, отличающийся тем, что на верхних гранях перемычек и боковых сторон выполнен продольный паз.
www.freepatent.ru
Полистиролбетон — новое качество энергоресурсосберегающего строительства
Развивающееся современное строительство, как индивидуальное, так и коммерческое, нуждается в таких строительных материалах, использование которых позволит в кратчайшие сроки возводить экономичные, теплые, экологически чистые и пожаробезопасные здания.
Особое значение в современном строительстве, ввиду постоянного роста цен на энергоносители, уделяется вопросам теплоэнергоресурсосбережения.
Использование при возведении ограждающих конструкций материалов, сочетающих в себе как конструкционные, так и теплоизоляционные свойства — один из перспективных и экономически выгодных способов решения данной задачи. В число таких материалов четко вписывается достаточно новый, но уже отлично себя зарекомендовавший в строительном мире теплоэффективный материал — полистиролбетон.
Полистиролбетон (ГОСТ Р 51263-99) можно классифицировать к виду легких бетонов на цементном вяжущем с основным заполнителем — полистирол вспененный гранулированный (ПВГ). Полистирол вспененный гранулированный (ПВГ) представляет собой продукт одно- или многоступенчатого (чаще всего двухступенчатого) вспенивания суспензионного вспенивающегося фракционированного полистирола (бисера) (ОСТ 301-05-202-92Е).
Получение оптимального заполнителя (Марки по насыпной плотности 10, фракции 2-5мм) для производства полистиролбетона и изделий из него на оборудовании МП «ТЕХПРИБОР» возможно при использовании бисера полистирола самозатухающего, тип ПСВ-С марки 3 (ОСТ 301-05-202-92Е).
Использование вспененного гранулированного полистирола в качестве заполнителя для легких бетонов обусловлено рядом уникальных свойств этого материала, основное из которых — чрезвычайно малая плотность (менее 20 кг/м3). Это несомненное преимущество вспененного полистирола перед другими заполнителями для легких бетонов позволяет получить полистиролбетон исключительно малых плотностей с отличными теплоизоляционными свойствами (так, полистиролбетон средней плотностью 350 кг/м3 имеет коэффициент теплопроводности 0,095 Вт/(м·°С).
Малая плотность вспененных гранул полистирола обусловлена наличием в структуре равномерно распределенных микроскопических плотных клеток, заполненных воздухом. Итак, каждая гранула вспененного полистирола состоит из 98 % воздуха и только 2 % этого объема занимает полистирол. Эта замечательная особенность структуры вспененного полистирола и придает ему уникальные теплоизолирующие, звукопоглощающие свойства.
Возможность сочетания свойств вспененного полистирола и бетона в одном материале позволила получить уникальную комбинацию конструкционных + тепло- и звукоизоляционных свойств. Что позволило применять полистиролбетон не только как теплоизоляционный материал в ненесущих конструкциях, но и как материал, воспринимающий нагрузку для возведения самонесущих ограждающих конструкций.
Монтаж ограждающих конструкций из полистирольных блоков позволяет полностью отказаться от использования таких недолговечных и нетехнологичных материалов как пенопласт, утеплители на основе минеральной ваты.
Помимо своих теплоизоляционных характеристик полистиролбетон обладает стойкостью к биологическому разрушению и химическому воздействию, не является средой для жизнедеятельности микроорганизмов, насекомых и грызунов и вполне может стать альтернативой деревянным материалам по таким параметрам как паропроницаемость и тепловая инерция. По комфортности проживания в зданиях с возведением ограждающих конструкций из полистиролбетона трудно найти конкурентов.
Технология изготовления полистиролбетона марок по средней плотности от D250 до D600, обладающего отличными теплоизоляционными свойствами, предполагает использование специализированного смесительного оборудования в силу некоторых технологических особенностей данного материала.
Так как основной объем полистиролбетона составляют гранулы вспененного полистирола, а доля цемента и песка не велика, то в диапазоне получения низких плотностей полистиролбетона возможен недостаток цементно-песчаного раствора для полного заполнения межполистирольного пространства. Тем самым, получение однородной удобоукладываемой полистиролбетонной смеси, без внесения соответствующих корректировок составов, невозможно.
Возможность получения удобоукладываемого, хорошо уплотняемого полистиролбетона, без потери своих технических возможностей, достигается введением в состав полистиролбетонных смесей различных добавок.
Наибольшее преимущество в решении данной задачи получили добавки, обладающие воздухововлекающим эффектом. Поризация цементно-песчаной смеси путем воздухововлечения и образования мелких воздушных пузырьков сферической формы, способствует заполнению свободного объема между гранулами полистирола и уменьшению плотности цементно-песчаного раствора. Эффект воздухововлечения придает смеси пластичность без увеличения количества воды, которое, несомненно, привело бы к понижению прочностных характеристик полистиролбетона.
Введение воздухововлекающих компонентов в состав полистиролбетонной смеси обусловлено и особенностью его структуры. Так как плотность основного заполнителя полистиролбетона — вспененных гранул полистирола в несколько раз (~20-30) меньше плотности цементно-песчаного раствора, то для уменьшения этого различия и снижения плотности полистиролбетона, предотвращения отслоения гранул полистирола даже в случае интенсивного виброуплотнения, необходима поризация растворной части путем введения воздухововлекающих добавок. Вовлеченный воздух увеличивает объем цементного раствора, уменьшает его плотность, придает смеси пластичность, вязкость. Удобоукладываемость полистиролбетонной смеси значительно увеличивается.
Причем, в производстве полистиролбетона предпочтение отдается добавкам, которые образуют из вовлеченного воздуха пузырьки значительно меньшего диаметра. Вследствие этого пена характеризуется стабильной, более прочной и долговечной структурой.
В производстве полистиролбетона отлично себя зарекомендовала воздухововлекающая добавка СДО (смола древесная омыленная), введение которой в полистиролбетонную смесь в количестве 0,1 % от массы цемента, способствует образованию воздушных пузырьков диаметром менее 1 мкм.
Таким образом, структура полистиролбетона образована гранулами вспененного полистирола, которые формируют крупные поры, образованные сферическими гранулами ПСВ, и воздушными пузырьками — мелкие поры.
Такое сочетание пор различного диаметра идентично двухмодальной схеме распределения воздушных сферических пор в пенобетоне. Причем, такое смешанное сочетание пор наиболее оптимально для получения бетонов низких плотностей.
Инертные и вяжущие составляющие полистиролбетонной смеси
Немаловажным фактом в получении замечательных характеристик полистиролбетона является правильный выбор вяжущих и инертных составляющих.
Согласно ГОСТ Р 51263-99 «Полистиролбетон. Технические условия» в качестве вяжущего для изготовления полистиролбетона следует применять портландцемент или шлакопортландцемент, удовлетворяющие требованиям ГОСТ 10178.
Но, ввиду нестабильности качества производимого цемента при достаточно высокой его стоимости, для обеспечения требуемых прочностных характеристик приходится повышать расход цемента, что нецелесообразно в производстве теплоэффективных строительных материалов (полистиролбетона, пенобетона), где и так наблюдается достаточно высокий расход цемента.
МП «ТЕХПРИБОР» предлагает проверенные решения экономии цемента без отрицательных последствий для качества выпускаемого материала.
Как известно, цемент представляет собой тонкомолотый порошок серого цвета с удельной поверхностью 2000-3000 см2/г, гранулометрический состав которого неоднороден. Основной процент представлен цементными зернами размером от 30 до 60 мкм, которые вступают в процесс гидратации значительно позже, а на первоначальный набор прочности в большей степени влияет содержание цементных зерен размером до 30 мкм. Соответственно, для увеличения эффективности цемента, необходимо увеличение содержания именно этих частиц цементных зерен.
В решении этой задачи поможет домол цемента на предлагаемом МП «ТЕХПРИБОР» измельчителе-дезинтеграторе серии «ГОРИЗОНТ»®.
Увеличение активности вяжущих материалов в производстве полистиролбетона
Методика повышения вяжущих свойств цемента, прежде всего, связана с увеличением его удельной поверхности и оптимизации гранулометрического состава.
С увеличением удельной поверхности цемента увеличивается его активность, а, следовательно, увеличиваются прочностные характеристики бетонных изделий, конструкций, особенно в первые сутки твердения.
Так, помол цемента за один прогон на измельчителе-дезинтеграторе «Поток-3000 М» позволяет увеличить удельную поверхность цемента на 3 % (с 2830 см2/г до 2910 см2/г), при этом его активность увеличивается на 5 %, а прирост прочности бетона в первые сутки твердения составляет 45 %.Таким образом, повышение активности цемента позволит не только снизить расход цемента без отрицательных последствий для качества готовых изделий, но и сократить сроки выдержки изделий в формах, что наиболее актуально в литьевой технологии производства полистиролбетонных стеновых блоков.
Как известно, использование для изготовления строительных изделий долго хранящегося цемента нецелесообразно, ввиду получения, даже при повышенных его расходах, низких технических характеристик изделий. Домол залежавшегося цемента позволит вновь возродить его марочные характеристики путем удаления (разрушения) агрегированных частичек цемента и высвобождения их потенциальной активности.
Модуль крупности инертных составляющих смеси в производстве полистиролбетона
Еще одним немаловажным условием получения качественного полистиролбетона низких плотностей являются особые требования к модулю крупности применяемого заполнителя.
Производство полистиролбетона низких плотностей основано на максимально возможном сокращении пространства между гранулами ПСВ. Использование инертного заполнителя (песка, шлака) повышенного модуля крупности не позволит сократить межполистирольное пространство (пространство между гранулами ПСВ) и получить максимально плотную укладку гранул ПСВ, а, следовательно, получить теплоэффективный материал. Поэтому в производстве полистиролбетона, как и пенобетона, низких плотностей целесообразно использование песка с модулем крупности Мк<1,0.
Так, помол природного речного песка за один прогон на измельчителе-дезинтеграторе «ГОРИЗОНТ»® позволяет снизить первоначальный модуль крупности с 2,21 до 0,57, т.е. песок из группы крупного переходит в группу очень тонких песков, что наиболее оптимально для производства как полистиролбетона, так и неавтоклавного пенобетона.В случае отсутствия чистых тонких песков (Мк<1,0) вблизи производства, одним из решений в данной ситуации может быть механоактивация более крупного песка путем его помола на измельчителе-дезинтеграторе.
В процессе помола происходит не только изменение модуля крупности песка, увеличение его удельной поверхности, но и разрушение комкообразных образований песка, растирание глинистых и других природных примесей, активизирование отдельных зерен вследствие их частичного измельчения и истончения поверхностного слоя.
Совместная активация вяжущих и инертных составляющих полистиролбетона позволяет получить не только улучшенные характеристики материалов, но и активизировать процессы гидратации клинкерных минералов непосредственно в процессе помола, путем высвобождения содержащейся в песке природной влажности воды и увлажнения цементных частиц. Интенсивный помол песка природной влажности и цемента с начальной минимальной активизацией процессов гидратации клинкерных минералов способствует лучшему распределению воды затворения на поверхности системы «цемент-песок» и максимально полной гидратации цементных зерен именно в начальный период твердения, что наиболее важно для сокращения времени набора распалубочной прочности изделий и динамики оборота формовочной оснастки на производстве.
Использование процессов механоактивации материалов (цемента, песка) в производстве полистиролбетона позволит получить не только качественную структуру, но и великолепные физико-механические свойства материала при значительной экономии составляющих.
Приготовление полистиролбетонной смеси
Процесс приготовления полистиролбетонной смеси основан на равномерном распределении гранул полистирола в поризованной цементно-песчаной матрице.
Смешивание компонентов и приготовление полистиролбетонной смеси для изготовления конструкционно-теплоизоляционного полистиролбетона плотностью D 450-600 возможно при использовании бетоносмесителей принудительного действия.
Отличные результаты в получении полистиролбетона более низких плотностей были получены с использованием турбулентных смесителей с функцией виброактивации компонентов.
Приготовление полистиролбетонной смеси в виброактиваторе обеспечивает равномерное распределение гранул вспененного полистирола в цементно-песчаной матрице. Высокочастотная вибрация при турбулентном перемешивании смеси способствует не только равномерному распределению компонентов смеси, но и устранению процессов флокулообразования, обеспечивает высокую связанность системы, позволяет использовать цемент невысокого качества (в том числе лежалого) без существенных потерь прочностных показателей полистиролбетона, а при использовании качественных материалов обеспечить их экономию, без ухудшения технических характеристик готовых изделий.
При использовании литьевой технологии получения стеновых блоков из полистиролбетона в кассетных формах, за счет значительного сокращения времени набора прочности виброактивированного вяжущего (особенно в первые сутки твердения), обусловленного более интенсивной гидратацией клинкерных минералов, обеспечивается быстрая распалубка формующей оснастки.
Сокращение времени выдержки изделий в кассетных формах способствует более динамичному обороту формующей оснастки, а, следовательно, и увеличению производительности.
Таким образом, высокая технологичность, выигрыш в теплосбережении и шумоизоляции при отсутствии дополнительных финансовых затрат позволяют полистиролбетону стать лидером крупного домостроения.
Автор статьи серии «Строительная лоция»
инженер — технолог МП «ТЕХПРИБОР»
Коренюгина Н.В.
www.tpribor.ru