| ||||||||||||||||||||||||||||||||||||||||||||||||||||||||||||||||||||||||||||||||||||||||||||||||||||||||||||||||||||||||||||||||||||||||||||||||||||||||||||||||||||||||||||||||||||||||||||||||||||||||||||||||||||||||||||||||||||||||||||||||||
Опоры трубопроводов тепловых сетей — теплосетевые опоры Серия 5.
903-13В данном разделе нашего сайта вы найдете информацию о классификации опор тепловых сетей, а так же об основных параметрах (размере и весе), предъявляемых требованиях, комплектности, сроках изготовления продукции.
Виды опор для тепловых сетей ТС.
Выпуск 7-95 — неподвижные опоры тепловых сетей |
Выпуск 8-95 — подвижные опоры теплосетей |
В двух выпусках 7-95 и 8-95 данной серии представлены как скользящие, так и неподвижные опоры для труб тепловых сетей. Все опоры тепловых сетей имеют конструкционные отличия в зависимости от толщины изоляции трубопровода. На участках бесканальной прокладки трубопроводов подвижные опоры не устанавливают, кроме тех которые применяются для труб менее Dy = 175 включительно. Скользящие опоры применяют при прокладке труб в непроходных или полупроходных каналах и для нижнего ряда труб в тоннелях.
Расстояние между опорами рассчитывается проектировщиком, согласно действующим нормативным документам .
При строительстве теплосети возводят следующие сооружения: колодцы, камеры и павильоны над камерами для установки запорно — измерительной арматуры, компенсирующих устройств и прочего линейного оборудования. Осуществляют постройку фильтрующих дренажных сооружений, насосных станций, устанавливают ограждающие теплопровод конструкции, неподвижные и подвижные опоры (иногда еще и направляющие), опорные камни.
Применение с строительстве.
Основание каналов для прокладки трубопроводов и размещения в них опор делают двух видов — бетонное или железобетонное, которые в свою очередь могут быть либо сборными либо монолитными. Бетонные и железобетонные каналы создают очень надежные основания для размещения строительных конструкций и предохраняют канал от проникновения в него грунтовых вод. Бетонное или железобетонное основание выполняют важнейшую роль — воспринимают вес строительных конструкций и грунта над каналом, нагрузки от транспорта, вес трубопровода с изоляцией и теплоносителем, рассредоточивает давление и тем самым снижается возможность осадки строительных конструкций в местах сосредоточенных нагрузок: под опорными камнями и под стенами канала.
Паровые системы теплоснабжения бывают однотрубными и двухтрубными, а образующийся при работе конденсат возвращается по специальной трубе — конденсатопроводу. При начальном давлении, которое составляет от 0,6 до 0,7 МПа, а иногда и от 1,3 до 1,6 МПа, скорость распространения пара — 30…40 м/с. При выборе способа прокладки теплопроводов главной задачей является обеспечение долговечности, надежности и экономичности решения.
Сами тепловые сети монтируют из стальных электросварных труб, расположенных на специальных опорах. На трубах устраивают запорную и регулирующую арматуры (задвижки, вентили). Опоры трубопроводов создают горизонтальное незыблемое основание. Интервал между опорами определяют при проектировании.
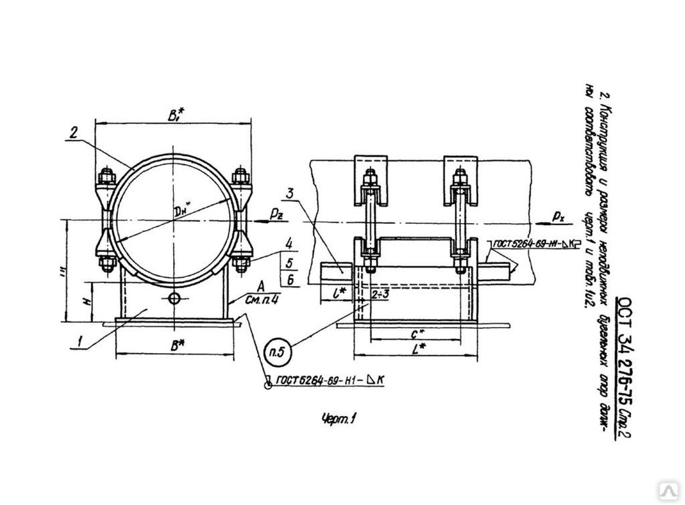
Опоры тепловых сетей подразделяют на неподвижные и подвижные. Неподвижные опоры фиксируют расположение конкретных мест сетей в определенной позиции, не допускают никаких смещений. Подвижные опоры допускают перемещение трубопровода по горизонтали вследствие температурных деформаций.
Опоры поставляются комплектно согласно рабочим чертежам, разработанным в установленном порядке. Мы гарантируем соответствие опор и подвесок требованию соответствующего стандарта при соблюдении потребителем правил монтажа и хранения (в соответствии с настоящим стандартом). Гарантийный срок эксплуатации — 12 месяцев со дня поставки изделия заказчику. На все опоры предоставляется паспорт качества и сертификаты на используемые для изготовления материалы (по запросу).
фиксированных мостов | Округ Малтнома
Ранние мосты
Ранние мосты строились из дерева и камня, потому что эти материалы были легко доступны. Большинство ранних каменных мостов включали в себя арки, которые передавали вес движения и конструкции на основание моста. Деревянные мосты были первыми, в которых использовались балки, переносившие нагрузку от одной опоры на другую. Эти опоры часто называют опорами или изгибами.
Многие мосты были построены из дерева и камня; например, опоры могли быть построены из камня, а палуба — из дерева.
Эстакады, форма пирса, обычно используемая железными дорогами для поддержки мостов, могут быть сделаны из дерева, стали или бетона.
Поскольку потребность в более длинных пролетах росла, древесина использовалась для создания ферм, способных прокладывать большие расстояния с минимальным количеством материала. Фермы представляют собой решетки, состоящие из прямых элементов треугольной формы. Эти модели различаются, и некоторые из них были названы в честь инженеров, которые их создали, например фермы Уоррена, Пратта, Хоу, Финка и Паркера.
Крытые мосты являются примерами деревянных ферм. По всему Орегону есть много крытых мостов начала 20 века. Крышки защищают мосты от непогоды и продлевают срок их службы.
Современные мосты
Большинство современных мостов построены из различных комбинаций стали и бетона. Эти материалы позволяют строить более крупные, долговечные и прочные конструкции, чем те, что сделаны из дерева или камня.
Многие из первых деревянных мостов в районе Портленда позже были заменены стальными и бетонными конструкциями. Например, первоначальный мост на Моррисон-стрит был построен из дерева в 1886 году и был заменен стальным поворотным мостом в 1905 году. Этот мост, в свою очередь, был заменен нынешним стальным подъемным мостом в 1919 году.58.
Сталь
Сталь уже много лет используется при строительстве мостов. Стальные балки можно собирать различными способами, чтобы обеспечить необходимую прочность и длину пролета, необходимые для пересечения требуемого зазора. Мост № 1 на ЮВ-Серкл-авеню использует стальные балки с бетонным настилом для пересечения небольшого ручья. В Хоторнском мосту используются стальные балки, называемые стрингерами, для соединения балок перекрытий под мостом, поддерживающим настил. Большие стальные балки (балки, созданные болтовым соединением или сваркой стальных пластин) используются для строительства длинных пролетов мостов. Например, на подходах к мосту Марквам используются стальные балки.
Некоторые из первых стальных мостов использовали фермы в качестве основных элементов для перевозки грузов. Хоторнский мост включает фермы Parker в свою конструкцию, а Бродвейский мост использует версию фермы Pennsylvania-Petit. Все эти мосты являются примерами сквозных ферм, где проезжая часть проходит между фермами. Старый мост Селлвуд был примером фермы настила, где проезжая часть опирается на ферму.
Сталь также используется для изготовления мостов других форм. Мост Фремонт является примером арочного моста, построенного из стали. Мост на острове Росс представляет собой мост со стальными фермами, имеющий форму арки.
Арка со стальным настилом
Арочный мост — это мост с опорами (опоры на каждом конце надстройки моста), имеющими форму изогнутой арки. Арочные мосты работают за счет частичного переноса веса моста и его нагрузок на горизонтальную тягу, сдерживаемую опорами с обеих сторон. В случае арки настила настил или проезжая часть опирается на опорные арки, которые, в свою очередь, поддерживаются устоями и опорами в воде.
Область между арками и настилом известна как перемычка. Если перемычка сплошная, как это обычно бывает в старых каменных или каменных арочных мостах, она называется арочным мостом с закрытыми перемычками. Если настил поддерживается рядом вертикальных колонн, поднимающихся от арки, что типично для новых мостов, он называется арочным мостом с открытыми перемычками. Для арочного моста со стальным настилом арки и перемычки изготовлены из стали. Устои, опоры и настил обычно делаются из бетона.
Новый мост Селлвуд является примером стальной арки.
Бетон
Сегодня многие небольшие мосты строятся с использованием бетонных балок. Эти балки могут состоять из:
чистый бетон
бетон, армированный стальными стержнями или сеткой
бетон, предварительно натянутый или натянутый стальными канатами
стальные балки, залитые бетоном
В этих различных узлах балок используется способность бетона выдерживать нагрузки сжатия и способность стали выдерживать нагрузки растяжения.
Мост, ведущий SE Hogan Road через Джонсон-Крик, является примером конструкции из предварительно напряженных бетонных плит. Мост, который ведет 207-ю северо-восточную авеню через железнодорожные пути Union Pacific Railroad, является примером конструкции с железобетонными балками.
Более крупные мосты, такие как мост Гленна Джексона, по которому проходит I-205 через реку Колумбия, используют сегментную бетонную конструкцию коробчатого сечения для перекрытия больших промежутков между опорами, чтобы обеспечить поддержку проезжей части выше. Бетон также можно использовать для создания арок, как это показано на виадуке SW Vista Avenue и Stark Street Viaduct.
Висячие
Висячие мосты, настилы которых подвешены на вантах и опорах, используются в местах, где трудно установить опоры. Мост Святого Иоанна — впечатляющий пример подвесного стального моста. Большие стальные опоры поддерживают пучки кабелей, перекинутых через перекресток. Палуба поддерживается дополнительными тросами, называемыми подвесками, прикрепленными к связкам.
Вантовый мост — новый тип моста, который в последнее время набирает популярность по всей стране. В этих мостах используются прямые тросы для соединения башен или пилонов с настилом. В отличие от подвесных мостов, башни которых симметричны, вантовые мосты могут иметь одну или несколько опор или различные размеры. Пешеходный мост Орегонского университета медицинских наук и новый мост TriMet Tilikum Bridge через реку Уилламетт являются местными примерами вантовых мостов.
Как заделать трещины в бетоне
Первоначально опубликовано в сентябре 2017 г. издательством Falling Up Media, обновлено в августе 2022 г. продукт в ведре с водой, затем затирая трещины кельмой. Это не является ни структурно обоснованным решением, ни долгосрочным решением, но этого будет достаточно, если трещины являются просто симптомами процесса созревания бетона — небольшие трещины, которые возникают по мере высыхания бетона, когда смесь переувлажнена. Но быстрого исправления недостаточно, если трещины являются результатом давления или крутящего момента от внешнего фактора, такого как корень дерева или зыбь земли.
Традиционно правильное заделывание трещин в бетоне требовало полного удаления трещины, что включало в себя удаление бетона вокруг трещин и повторную заливку секции. Однако в случаях, когда бетон выдерживает значительный вес или поддерживается арматурой, удаление бетона может ослабить структурную целостность бетона и привести к дальнейшему повреждению.
К счастью, современные эпоксидные смолы настолько совершенны, что после отверждения эпоксидная смола часто обладает большей прочностью на растяжение, чем бетон. Это означает, что вероятность нарушения структурной целостности стены или плоской конструкции сводится к минимуму за счет использования промышленной эпоксидной смолы. Тем не менее, использование эпоксидной смолы, хотя оно и может замедлить или предотвратить рост трещин, не дает такой же косметической консистенции, как полное удаление трещин и начало заново на растрескавшемся участке бетона.
Трещины в бетоне бывают трех типов: трещины в бетоне без арматуры; трещины в бетоне с арматурой; и трещины в бетоне, который является структурной опорой.
Определение типа исправления трещины требует понимания назначения бетона.
При заливке бетона для объектов с минимальной нагрузкой, таких как: внутренние дворики, тротуары и подъездные пути, арматура не является необходимостью. Треснувший бетон, не содержащий арматурного стержня, можно исправить, вырезав поврежденный участок бетонной пилой, разбив бетон кувалдой или отбойным молотком и заполнив зазор свежим бетоном. Перед повторным заполнением секции бетоном важно определить, что вызвало растрескивание бетона, и принять контрмеры, чтобы предотвратить такое же повреждение в будущем. Корни являются частой причиной трещин в плоском бетоне. Обрезание корней и высыпание значительного количества каменной соли на землю перед повторной заливкой секции, как правило, является долгосрочным решением проблем с корнями.
Вздутие земли — более сложная проблема. Лучшим средством предотвращения набухания грунта является выкопать яму в земле и заполнить ее чрезвычайно пористым материалом, таким как щебень, или заполнить яму чрезвычайно непористым материалом, таким как глина.
Заполнение отверстия бетонным нижним колонтитулом до уровня существующего бетона также может предотвратить повторное растрескивание секции.
Тот же процесс можно использовать для ремонта трещин в минимальном весе с арматурным стержнем, что и без него. Однако есть дополнительный шаг. Крайне важно врезаться в бетон только на несколько дюймов с помощью пилы по бетону, чтобы не прорезать арматуру. Использование отбойного молотка для разрушения бетона не является хорошей идеей, когда задействована арматура или риск растрескивания или разрушения бетона вокруг участка с трещиной, который необходимо удалить, увеличивается в геометрической прогрессии. Используйте ручные кувалды и столярный молоток, чтобы минимизировать риск. Снова примите меры, чтобы новый бетон не растрескался в результате той же проблемы, затем повторно залейте секцию.
Несущий бетон с арматурой Ремонт трещин в несущем весе бетоне с помощью арматуры является значительно более сложной задачей, чем ремонт растрескавшегося бетона с минимальной несущей способностью.
Вырезание секций может ослабить структурную целостность несущего бетона, такого как подпорные стены, нижние колонтитулы/фундаменты и колонны. Первый шаг, который нужно предпринять, это устранить катализатор крекинга. Например, для устранения трещин в подпорной стене необходимо выкопать материал за стеной, установить надлежащую дренажную систему, заполнить трещины промышленной эпоксидной смолой, а затем снова заполнить зазор между стеной и материалом материалом, который менее подвержен вспухать.
Трещины в нижних колонтитулах/фундаментах и блочных стенах также можно отремонтировать с помощью эпоксидной смолы, но опять же, очень важно устранить причину трещин. Например, при оседании дома может потребоваться сооружение башмака снаружи фундамента, чтобы предотвратить дальнейшее оседание. Трещины в колонне – еще одна существенная проблема. Хотя существуют средства для заполнения трещин, предотвращение дальнейшего растрескивания является самой большой проблемой.

п. изделия, кг
Опора приваривается к несущей поверхности и используется для того, чтобы различные участки системы теплотрассы оставались в целости. Опоры гасит воздействующие на трубу вибрации и предотвращает отклонения от линейной направленности всей тепловой конструкции.