Фундаментные балки: размеры, серия, назначение
Фундаментные балки (или рандбалки) из железобетона используются в качестве основания под стены зданий с отдельно стоящими фундаментами. Чаще всего такая технология применяется для промышленных объектов, сельскохозяйственных строений и зданий общественного назначения. Основная функция балок заключается в создании опоры под стены и связывании отдельных опор в единое целое.
Область применения балок
Чаще всего такие конструкции применялись для строительства промышленных объектов и зданий общественного назначения при использовании фундаментов стаканного типа. В настоящее время такие опорные элементы используются редко. Но балки не утратили свою актуальность. Они могут быть использованы в качестве ростверка для свайного или столбчатого основания каркасных строений.
Сборная технология имеет ряд преимуществ перед монолитом. Основным плюсом становится сокращение сроков выполнения работ, поскольку отпадает необходимость выжидать время твердения бетона.
Устройство фундаментных балок при возведении жилых частных домов характеризуется некоторыми сложностями:
- часто при строительстве индивидуального жилья используются нетиповые решения, использование элементов, изготовленных по серии (определенные размеры, сечение) затрудняется;
- типовые конструкции имеют слишком большие размеры, для их монтажа необходима большегрузная техника, что удорожает процесс строительства.
Перед началом работ важно учесть эти недостатки и учесть их последствия.
Функции железобетонных фундаментных балок
ЖБ-балка выполняет две основные функции:
- Является несущим изделием для внешних и внутренних стен. При нарушении целостности отмостки ФБ препятствуют потерям тепла из строительного объекта.
- Отделяет стеновые конструкции от грунта и тем самым предотвращает попадание грунтовой влаги в стеновые материалы и сохраняет их эксплуатационные характеристики.
Железобетонные балки используются в качестве оснований самонесущих кирпичных, блочных, панельных стен, стен с навесными панелями.
Эти изделия применяются в качестве оснований как для сплошных стен, так и для стеновых конструкций с проемами.
Виды фундаментных балок
При использовании элементов для жилых и промышленных зданий руководствуются двумя нормативными документами:
- ГОСТ 28737-90 содержит основную информацию относительно размеров конструкций, форм их сечения, маркировки, материалов, требований приемки, методов контроля качества и условий хранения и перевозки;
- серия 1.115.1-1.95 — указания к применению и рабочие чертежи балок для промышленных и сельских объектов;
- серия 1.115.1-1 — маркировка, применение, рабочие чертежи и требования к изготовлению элементов для жилых зданий.
Совет! Чаще всего заводы изготавливают балки по ГОСТу 28737-90 для промышленных зданий. Не стоит этого пугаться. Такие балки можно использовать и для жилых объектов.
Типы сечений фундаментных балок.
Согласно ГОСТ 28737-90 и сериям фундаментные балки под стены могут иметь типы сечений, представленные в таблице.
| Маркировка | Описание сечения | Высота | Возможная длина |
| 1БФ | трапеция с нижней гранью 160 мм и верхней 200 мм | 300 мм | 1,45 м — 5,95 м |
| 2БФ | тавровое сечение с основанием шириной 160 мм, ширина верхней части составляет 300 мм | 300 мм | 1,45 м — 5,95 м |
| 3БФ | тавровое сечение с опорной частью шириной 200 мм, верхняя грань — 400 мм | 300 мм | 1,45 м — 5,95 м |
| 4БФ | тавр с основанием 200 мм и верхней частью 520 мм | 300 мм | 1,45 м — 5,95 м |
| 5БФ | трапеция с нижней частью 240 мм и верхней 320 мм | 300 мм | 10,3 м — 11,95 м |
| 6БФ | трапеция с нижней частью 240 мм и верхней 400 мм | 600 мм | 10,3 м — 11,95 м |
По ширине отклонение может составлять до 6 мм, а по высоте до 8 мм. Такие результаты не являются браком.
Технология монтажа фундаментных балок
Технология монтажа фундаментных балок
На монтаж строительных конструкций разрабатываются специальные технологические карты.
Монолитная фундаментная балка не исключение и общие правила существуют. Но как не бывает двух одинаковы проектов или условий на строительной площадке, так не бывает и одинаковых решений для монтажных работ на объекте.
Первое, что выполняется при монтаже фундаментов, это разбивка осей здания, выемка грунта, подготовка основания и затем устройство фундаментов. Монтаж фундаментных балок это уже следующий этап, к которому приступают после полной готовности фундамента.
В каркасном типе зданий балки являются связями между отдельно стоящими фундаментами и опорой для стеновых конструкций. Поэтому осевая линия элемента должна совпадать с осью стены. На внешней линии стаканов под колонны она будет сдвинута от центра фундамента, а на лини внутренних колон совпадать.
Монтаж производится одновременно по всей площади здания при помощи крана, поэтому балки должны быть завезены на площадку и распределены равномерно. Порядок укладки жби определяется условиями работы на объекте и может начинаться как со средней оси здания, так и с периметра.
Чем отличаются заводская ФБ и монолитная фундаментная балка
Наиболее распространен способ возведения каркасных зданий с готовыми изделиями марки ФБ. Но в некоторых случаях, например при металлических каркасах, целесообразнее заливать конструкцию на месте. Сначала собирается опалубка, в нее закладывается арматурный каркас, который затем заливается бетонным раствором.
При заливке монолитной фундаментной балки оставляются выступающие стержни арматуры для связи с элементами фундамента, если это предусмотрено проектом. Но обычно соединение , без жесткой связи монолитной фундаментной балки с колоннами и фундаментом.
Балочная опора при этом не сплошная, а с разрывом. Особенно это правило обязательно для стен из сэндвич панелей. Величина разрыва небольшая, всего 50 мм. Этот зазор заполняется минватой, а не бетонируется, чтобы не получилась сплошная балка длиной равной длине стены.
Монтаж готовых балок ФБ намного легче и выполняется быстрее. На жби есть монтажные петли и изделия просто укладываются на уступ стакана под колонну.
Жесткое соединение с колонной или основой так же не требуется. Хотя иногда для устойчивости конструкции прибегают к способу обвязки хомутами.
При любом способе балочной опоры под стены производится контроль совпадения разметки и осевой линии изделий. От этого зависит прочность и устойчивость всего здания. Так же как от прочности балок. Они должны соответствовать по допустимой нагрузке стеновому материалу. ЖБИ с более высокими характеристиками по несущей способности, это перерасход средств, так как стоимость их достаточно высока. И наоборот, меньшая несущая способности приведет к нарушению устойчивости сооружения.
Как выбрать
Рандбалки таврового сечения.
Длина балки подбирается в зависимости от расстояния между фундаментами. К размеру необходимо прибавить запас на опирание с двух сторон. Размеры сечения выбираются в зависимости от нагрузки. При использовании изделий по индивидуальному заказу выполняется расчет.
Для типовых элементов чаще всего известна максимальная нагрузка (несущая способность).
Ее можно уточнить на заводе изготовителе. При необходимости пользуются таблицами из серии. В них указаны рекомендуемые маркировки для разных конструктивных решений стен.
Фундаментные балки для панельных и кирпичных стен
В каркасных зданиях со стенами из мелкоштучных материалов (кирпича, легкобетонных блоков) или панелей, для передачи нагрузок от стен на фундаменты используются специальные конструкции – балки фундаментные железобетонные, которые в зависимости от конструктивного решения нулевого цикла здания могут иметь различную длину, а в зависимости от веса ограждающих конструкций и различную несущую способность.
Эти балки рассчитываются на нагрузку от сплошных наружных стен, а также стен с оконными и дверными проемами. В то же время, такие конструкции не используются в пролетах, где предусматривается проем под ворота, поскольку они не рассчитаны на восприятие нагрузок от автомобильного транспорта.
Московским заводом ЖБИ-4 выпускается широкая номенклатура фундаментных балок для каркасных зданий с пролетом колонн 6,0 м:
- длиной, которая зависит от конструкции фундамента от 4,30 до 5,95 м;
- шириной опорной полки, определяемой в зависимости от толщины стенового ограждения, от 0,26 до 0,52 м;
- высотой 0,30 и 0,45 м;
Такой ассортимент железобетонных изделий этого назначения, позволяет выполнить стеновое ограждение зданий как производственного, так и гражданского назначения из кирпича, строительных блоков или стеновых панелей, возводимых в Москве и Московской области.
Материалы для изготовления
Основное сырье для фундаментных балок — тяжелый бетон. Марка подбирается в зависимости от расчетной нагрузки, длины элемента и типа арматуры. Армирование может быть с предварительным напряжением или без него. ГОСТ предписывает следующее:
- балки длиной до 6 м могут изготавливаться как с предварительным напряжением арматуры, так и без него;
- все элементы длиной более 6 м выпускаются с предварительно напряженным армированием.
Чаще всего заводы предлагают все балки с предварительно напряженной арматурой. Для таких изделий применяется бетон марок М250 — М350 (или классов В20 —В25).
Для армирования назначают стержни классов:
- АIII (А400), ВрI и ВрпI без предварительного напряжения;
- АIII (А400), АIV (А600) с предварительным напряжением.
Балки фундаментные, их назначение, типы
Сборные железобетонные фундаментные балки служат для опирания на них конструкций стен, они также защищают пол от продувания в случае просадки отмостки.
Применение фундаментных балок обязательно в производственных зданиях с кирпичными и блочными стенами. При навесных панельных стенах фундаментные балки хотя и не несут нагрузки от них, однако существенно облегчают производство работ и обеспечивают долговечность нижней части панелей. Установка стен на фундаментные балки кроме экономических создает также и эксплуатационные преимущества — упрощает устройство под ними всевозможных подземных коммуникаций (каналов, туннелей и т.п.).
Форма поперечного сечения фундаментных балок определяется по каталогу в зависимости от типа (конструкции) и толщины стены и может быть трапециевидной или тавровой. Поперечное сечение имеет скосы, облегчающие извлечение балок из форм при изготовлении.
Рисунок – фундаментная балка таврового сечения
Рисунок — фундаментная балка трапециевидного сечения
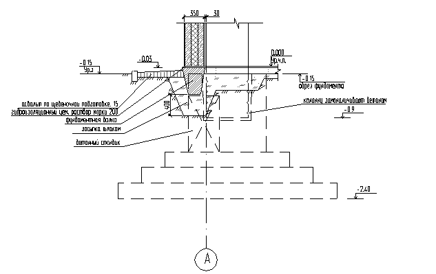
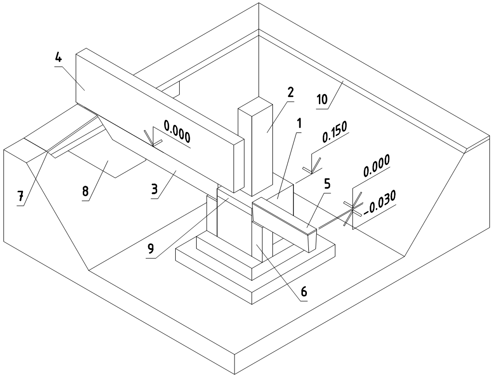
Фундаментные балки свободно укладывают между подколониками фундаментов соседних колонн на специальные бетонные столбики, устраиваемые на уступах фундаментов.
Столбики иногда называют приливами, их размеры в плане не менее 300×600 мм. Зазоры между торцами балок и подколонниками должны быть не менее 25 мм, их заполняют бетоном класса С8/10.
Рисунок -опирание фундаментной балки на фундамент
1 – набетонку по верху стакана фундамента до отметки -0.030 выполнять из бетона класса С8/10 после монтажа колонн, рам ворот и балок фундаментных
Для опирания наружных стен балки укладывают с внешней стороны колонн так, чтобы ось балок совпадала с осью стены. Для опирания конструкций внутренних стен (при их наличии) продольные оси балок совмещают с центрами колонн.
Длина фундаментных балок определяется по рисунку
Lф.б.=Lшага-(а/2+75+с+25)·2
Рисунок -укладка фундаментной балки на фундамент
В шаге воротного проема фундаментные балки отсутствуют, т.к. на нагрузку от транспорта они не рассчитаны. Кладку кирпичного обрамления ворот опирают на набетонки столбчатых фундаментов колонн.
Отметка верха фундаментной балки всегда должна быть — 0,030 м. На этой отметке по верху балки устраивают горизонтальную гидроизоляцию из 1…2 слоев рулонного гидроизоляционного материала на мастике или слоя цементно-песчаного раствора состава 1:2 толщиной 30 мм.
Для предотвращения деформации балок вследствие возможного пучения грунтов снизу под балки и со сторон предусматривают подсыпку из дренажных материалов (шлака, крупнозернистого песка или кирпичного щебня). Подсыпка выполняет и еще одну функцию — исключает возможность промерзания пола вдоль наружных стен здания.
Вдоль фундаментных балок на поверхности грунта устраивают тротуар или отмостку с уклоном от стен здания 3 … 5 % для отвода поверхностных вод.
Рисунок -Узел фундамента под колону крайнего ряда
—
Маркировка
Чтобы правильно заказать элементы фундаментов на заводе, необходимо знать не только нужные размеры и тип сечения балок, но и их обозначение.
В общем случае оно выглядит следующим образом:
ХБФ ХХ.
Цифра на первой позиции может равняться от 1 до 6 и обозначает тип сечения изделия. Двузначное число после буквенной части показывает округленную длину элемента в дециметрах. После такой маркировки может быть указан тип армирования. Через тире показывают класс стали. Также в конце может быть указана водопроницаемость бетона и его устойчивость к химическим средам.
Совет! Чаще всего при заказе на заводе типовых изделий не нужно определять марку стали. Достаточно лишь правильно выбрать типоразмер балки и ее длину.
Преимущества железобетонных фундаментных балок
Положительные характеристики ЖБ-балок:
- высокие прочностные параметры;
- устойчивость к влаге;
- стойкость к перепадам температур, низким температурам;
- возможность использования в районах с повышенной сейсмоактивностью.
По сравнению с ленточным фундаментом, сборные и монолитные ЖБ-балки обеспечивают сокращение сроков строительства.
К минусам можно отнести большую массу железобетонных изделий, требующую применения тяжелой строительной техники.
| |||||
| ✎ New thread | Private message | Name | Date | |||
| 45 | 535 | Помогите пожалуйста перевести фразу с английского вопрос из теста | 1 2 all | Incredible | 13.01.2022 | 13:48 |
| 817 | 14673 | Ошибки в словаре | 1 2 3 4 5 6 7 8 9 10 11 12 13 14 15 16 17 all | 4uzhoj | 02.2021 |
13:36 |
| 2 | 49 | ОФФ: горизонтальная черта в начертании символов | Lapelmike | 16.01.2022 | 11:40 |
| 4 | 147 | Помогите расшифровать, пожалуйста! | mikhail93 | 15.01.2022 | 14:20 |
| 5 | 89 | hilar shadow медицинский термин в рентгене | ekaterina_ukr | 15.01.2022 | 20:29 |
| 2 | 106 | Помогите разобраться с пословицами, пожалуйста! | krstphr1 | 15. 01.2022 |
15:10 |
| 6 | 232 | grace time | displacedbones | 13.01.2022 | 20:36 |
| 4 | 154 | Помогите перевести, пожалуйста! | SagaSaga | 14.01.2022 | 15:31 |
| 6 | Прошу помощи — cutest | Посторонним_В | 14.01.2022 | 15:54 | |
| 12 | 184 | prevent the widening of a global decarbonisation divide | adelaida | 13. 01.2022 |
16:43 |
| 2 | 138 | Просадка пола | dimawww3 | 13.01.2022 | 16:18 |
| 9 | 270 | Прошу помощи / Нотариат нем-англ / «отпечатан только на одной стороне листа» | Mme Kalashnikoff | 12.01.2022 | 15:32 |
| 7 | 189 | operational support | krisstte | 11.01.2022 | 14:39 |
| 29 | 490 | Mouth operated bib cock | zhigansky | 8. 01.2022 |
12:57 |
| 6 | 171 | аs a commercial gesture | Arima | 12.01.2022 | 10:23 |
| 186 | VSAP | Gohar_85 | 12.01.2022 | 17:45 | |
| 7 | 255 | помогите, пожалуйста, перевести | teachengl16 | 12.01.2022 | 10:24 |
| 621 | 20253 | Проблемы в работе нового сайта | 1 2 3 4 5 6 7 8 9 10 11 12 13 14 all | 4uzhoj | 15. 05.2019 |
11:05 |
| 10 | 182 | механическая вентиляция легких | costyan | 11.01.2022 | 16:08 |
| 6 | 219 | Обучающиеся ВУЗов и ССУЗов | Nick02 | 11.01.2022 | 13:35 |
| 102 | 2244 | Транскрипция | 1 2 3 all | aksa | 12.11.2021 | 23:21 |
| 22 | 815 | защита проекта | 1 2 all | VictorMashkovtsev | 11. 08.2019 |
|
| 5 | 135 | rebor | Ying | 11.01.2022 | 3:12 |
Фундаменты и фундаментные балки: adcitymag — LiveJournal
Конструкции фундаментов существенно влияют на стоимость здания. Так, в общем объеме здания трудоемкость возведения фундаментов составляет 6—8%, а расход железобетона может достигать 20%. По способу возведения фундаменты подразделяют на монолитные и сборные.
По экономическим соображениям фундаменты небольших и средних р-азмеров, а также облегченные фундаменты ребристой и пустотелой конструкций целесообразно выполнять сборными составными или сборными одноблочными, если масса блока не превышает 6 т. Такие фундаменты перевозят и монтируют обычными кранами.
Под колонны каркаса предусматривают отдельные фундаменты с подколонниками стаканного типа, а стены опирают на фундаментные балки.
Ленточные фундаменты под ряды колонн или сплошные под здания (за исключением фундаментных плит в универсальных зданиях) устраивают редко — на слабых или просадочных грунтах и при больших ударных воздействиях на грунт технологического оборудования.
Рис. 1. железобетонный каркас одноэтажного здания-
Унифицированные монолитные железобетонные фундаменты, имеющие ступенчатую конструкцию с подколонником и стаканом для заделки
Рис. 2. Типы фундаментов промышленных зданий:
а — монолитный; б — сборный составной; в — свайный; г — сборный ребристый; д — сборный пустотелый; е — с подколонником пенькового типа; 1 — ростверк; 2 — свая
В зависимости от величины нагрузки на колонны, ее сечения и глубины заложения подошвы фундаментов предусмотрено несколько типоразмеров фундаментов. Высота фундаментных блоков 1,5 и от 1,8 до 4,2 м, с градацией через 0,6 м; размеры подошвы в плане от 1,5Х-1,5 до 6,6X7,2 м с модулем 0,3 м; размеры подколонника в плане от 0,9X0,9 до 1,2X7,2 м с модулем 0,3 м.
Глубина стакана принята 0,8; 0,9; 0,95 и 1,25 м, а высота ступеней — 0,3 и 0,45 м.
Сборные фундаменты могут состоять из одного блока (подколенника со стаканом) или быть составными из подколонника и опорной фундаментной плиты. По расходу бетона, стоимости и затратам труда на возведение сборные фундаменты экономичнее монолитных, но на них больше расходуется стали.
Подколонник устанавливают на плиту по слою цементно-песчаного раствора. При действии на фундамент изгибающего момента соединение подколонника с плитой усиливают сваркой закладных элементов; места сварки заделывают бетоном. Площадь подошвы составных фундаментов может быть доведена до 27 м2.
В целях уменьшения веса и снижения расхода стали под колонны рекомендуется применять сборные ребристые или пустотелые фундаменты. Такие фундаменты достаточно жестки, прочны и трещиноустойчивы.
Фундаменты с подколонниками пенькового типа устраивают под железобетонные колонны большого сечения или под стальные колонны. Пенек, являющийся элементом колонны, устанавливают в период работ нулевого цикла.
Пенек с фундаментом и колонну с пеньком соединяют сваркой выпусков арматуры и бетоном, нагнетаемым в швы.
В случаях залегания у поверхности земли слабых грунтов и близкого расположения уровня грунтовых вод под колонны промышленных зданий целесообразнее устраивать свайные фундаменты. Широко распространены железобетоные сваи, имеющие квадратное или круглое (полое) сечение. Головные части свай связывают монолитным или сборным железобетонным ростверком, который служит одновременно подколенником.
Возведение свайных фундаментов взамен обычных значительно уменьшает объем земляных работ, снижает расход материалов, допускает меньшую глубину заложения фундаментов под оборудование (она зачастую обусловлена наличием насыпного грунта от обратной засыпки котлованов фундаментов).
Размеры стакана в плане делают большими сечения колонн: поверху— на 150 и понизу —на 100 мм. Днище стакана располагают на 50 мм ниже отметки пяты колонны. Проектное положение низа колонны фиксируют слоем бетона, укладываемого на дно стакана.
Зазоры между стенками стакана и поверхностью колонны заполняют бетоном на мелком гравии. Под спаренные колонны в местах температурных швов и перепадов высот смежных пролетов устанавливают фундаменты с двумя раздельными стаканами.
В целях сокращения числа типоразмеров колонн верх фундаментов независимо от глубины заложения подошвы следует располагать в уровне примыкающей к зданию земли, т. е. на 0,15 м ниже отметки чистого пола цеха. Это позволяет вести монтаж колонн при засыпанных котлованах, после устройства подготовки под полы и прокладки подземных коммуникаций, т. е. после работ нулевого цикла.
Глубина заложения подошвы фундаментов зависит от грунтовых условий и глубины промерзания грунта. При наличии в цехе подвалов, тоннелей или приямков вблизи колонн глубину заложения фундаментов; под эти колонны увеличивают. Разница в отметках заложения фундаментов (даже по одному ряду колонн) может достигать нескольких метров.
Увеличить глубину заложения фундаментов можно путем увеличения высоты их стаканной части, устройства подколонников пенькового типа (или вставок-банкетов), применением песчаной, щебеночной или бетонной подготовки требуемой толщины, а также использованием удлиненных колонн.
Первые три варианта позволяют применять колонны той же длины, что и принятые по наименьшей отметке заложения фундаментов. Во всех случаях конструкции фундаментов не изменяются.
Рис. 3. Стык прямоугольной колонны с фундаментом
1-колонна, 2-стакан фундамента, 3-армобетонная прокладка, 4-клиновой вкладыш
Колонны с фундаментами соединяют различными способами. В практике отечественного строительства колонны закрепляют в фундаментах бетоном. Такое крепление является жестким.
Стены каркасных зданий опирают на фундаментные балки, укладываемые между подколонниками фундаментов на специальные железобетонные столбики или на консоли колонн. Наличие фундаментных балок облегчает устройство под стенами тоннелей, каналов и коллекторов для ввода в здание различных подземных коммуникаций. Фундаментные балки, кроме того, защищают пол от продувания в случае просадки от-мостки, вследствие чего конструкция панельных стен без фундаментных балок допускается только для неотапливаемых зданий.
В местах устройства ворот для въезда в цех автомобильного или железнодорожного транспорта фундаментные балки не предусматривают. Железобетонную раму ворот и участки стены в пределах этого шага колонн опирают на монолитную подбетонку.
Рис. 4. Фундаментные балки:
а — типы балок; б — опирание балок на столбики; в — то же, на выпуски арматуры; 1 — набетонка высотой 120 мм; 2 — подливка из раствора толщиной 20 мм; 3 — железобетонный столбик; 4 — стеновая панель; 5 — выпуски арматуры
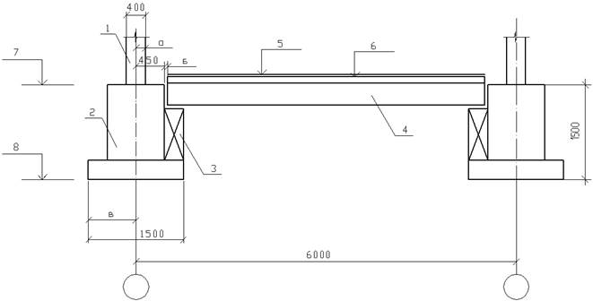
Железобетонные фундаментные балки при шаге колонн 6 м в зависимости от размеров подколенников и способов опирания имеют длину от 5,95 до 4,3 м. Сечение фундаментных балок — тавровое и трапециевидное (рис. Х-4, а).
Под самонесущие стены из кирпича, мелких блоков и панелей высоту сечения балок принимают 450 мм, а под стены навесные из панелей — 300 мм. Ширина сечения балок поверху в зависимости от типа и толщины стены может составлять 200—520 мм.
При шаге колонн 12 м применяют балки трапециевидного сечения высотой 400 и 600 мм (последние для панельных стен с кирпичным цоколем), шириной поверху 300 и 400 мм; длина балок 11,95—10,2 м.
Верх фундаментных балок должен быть на 30 мм ниже уровня пола (отметка — 0,03 м). Балки устанавливают на подливку из цементного раствора толщиной 20 мм. Раствором заполняют также зазоры между торцами балок и стенками подколонников.
Навесные панели стен допускается опирать на слой набетонки, передавая их массу непосредственно на подколонники. В этом случае фундаментные балки целесообразно опирать на подколонники (а не на столбики) через консоли, выполняемые на каждом торце балок из двух стержней диаметром 18 мм. Длина таких консолей 150 мм. Отсутствие опорных столбиков позволяет упростить опалубку подколонников, снизить расход бетона и трудоемкость возведения фундаментов.
На практике работы нулевого цикла иногда заканчивают ниже отметки —0,15 м. В таких случаях фундаментные балки допускается укладывать на верхние уступы подколонников (при сохранении отметки верха балок — 0,03 м). При этом отпадает необходимость в столбиках, а фундаментные балки требуются одинаковой длины независимо-от места укладки (5,95 и 11,95 м).
По фундаментным балкам для гидроизоляции стен укладывают один-два слоя рулонного водонепроницаемого материала на мастике. Во избежание деформации балок вследствие пучения грунтов снизу и сбоков балок предусматривают подсыпку из шлака, крупнозернистого песка или кирпичного щебня.
Рис. 5. Детали фундаментов крайнего ряда колонн:
1 — песок; 2 — щебеночная подготовка; 3 — асфальтовое покрытие толщиной 20—40 мм;. 4 — гидроизоляция; 5 — колонна; 6 — шлак или крупнозернистый песок; 7 — железобетонные столбики; 8 — фундаментная балка
В отапливаемых зданиях при расположении рабочих мест около наружных стен необходимо утеплять пристенную зону пола цеха на ширину до 2 м. Для этой цели используют шлак, укладываемый слоем толщиной 0,5—0,7 м. По периметру здания устраивают отмостку из асфальта или бетона шириной 0,9—1,5 м, которой придают уклон 3—5% от стены.
Несущие стены в зданиях бескаркасных или с неполным каркасом опирают на ленточные фундаменты, которые, как и в гражданских зданиях, выполняют из сборных элементов.
#И, #Фундаментные Балки, #ФУНДАМЕНТЫ
Каркас одноэтажных промышленных зданий и его конструктивные элементы
Каркас одноэтажных промышленных зданий и его конструктивные элементы
Каркас — несущая основа здания, которая состоит из поперечных и продольных элементов. Поперечные элементы — рамы воспринимают нагрузки от стен, покрытий, перекрытий (в многоэтажных зданиях), снега, кранов, ветра, действующего на наружные стены и фонари, а также нагрузки от навесных стен.
Основные элементы каркаса — рамы. Они состоят из колонн и несущих
конструкций покрытий — балок или ферм, длинномерных настилов и пр.
Эти элементы соединяют в узлах шарнирно с помощью металлических
закладных деталей, анкерных болтов и сварки. Рамы собирают из
типовых элементов заводского изготовления. Другие элементы каркаса —
фундаментные, обвязочные и подкрановые балки и подстропильные
конструкции.
Каркасы проектируют железобетонными, металлическими и смешанными. При строительстве промышленных зданий в большинстве случаев применяют железобетонные каркасы.
Фундаменты. Под колонны каркаса зданий устраивают фундаменты из железобетона в сборном или монолитном исполнении. Проектируют их, как правило, ступенчатой формы (см. схему ниже).
Фундаменты под колонны
Колонны. Для восприятия вертикальных и горизонтальных нагрузок в
промышленных зданиях предусматривают отдельные опоры — колонны. В
современном индустриальном строительстве применяют преимущественно
сборные железобетонные колонны заводского изготовления
прямоугольного или квадратного сечения.
Железобетонные колонны для промышленных зданий
Крайние колонны крановых пролетов имеют односторонний выступ —
консоль, средние — двусторонние консоли.Колонны изготавливают из бетона классов В20, ВЗ0 и В40, армируют их сборными каркасами из горячекатаной стали периодического профиля класса А-III. Для крепления связей стеновых панелей, подкрановых балок, стропильных и подстропильных конструкций в колоннах предусматривают закладные металлические детали, представляющие собой металлические пластины с приваренными к ним анкерными стержнями. Для распалубки, погрузки и разгрузки в колоннах предусматривают подъемные монтажные петли из стали гладкого профиля.
Фундаментные балки. Они служат для передачи нагрузки от наружных и
внутренних стен здания на фундаменты колонн. Фундаментные балки для
наружных стен выносят за грани колонн, а для внутренних стен
располагают между колоннами по линии их осей. Балки имеют тавровое
(см. схему ниже) или трапецеидальное поперечное сечение. Длина
основных балок при шаге колонн 6000 мм — 4950 мм, при шаге 12000 мм
— 10700 мм.
Фундаментные балки
Ширина верхней полки фундаментных балок для кирпичных и блочных стен равна 300, 400 и 520 мм, а для панельных стен — 200, 240, 300 и 400 мм. Высота балок 400 и 600 мм. Фундаментные балки изготовляют из бетона классов В20 … В40, армируют стержнями периодического профиля из стали класса А-II. Укладывают их непосредственно на ступени фундаментов или на бетонные столбики.
Зазоры между торцами балок и фундаментов заполняют бетоном. По верхней поверхности балок устраивают гидроизоляцию. Пучинистые грунты из-под балок убирают и делают песчаную или шлаковую подсыпку.
Обвязочные балки. Они служат для опирания на них кирпичных или
мелкоблочных стен в местах перепада высот, а также при устройстве
ленточного остекления для опирания части стены, расположенной над
остеклением.
Балки изготовляют прямоугольного сечения или
прямоугольного сечения с четвертью (см. схему ниже):
Обвязочная балка
Подкрановые балки. Они предназначены для опирания рельсовых путей, по которым передвигаются мостовые краны. Их изготавливают из железобетона и реже из стали. По конструктивному решению подкрановые балки бывают нескольких типов (см. схему ниже): таврового сечения с обычным армированием, таврово-трапецеидального сечения напряженно-армированные.
Сборные железобетонные подкрановые балки

Подкрановые балки таврового сечения с обычным армированием предназначаются под краны грузоподъемностью не свыше 5 т, балки таврово-трапецеидального сечения — для кранов грузоподъемностью 6,0 … 30,0 т, двутаврового сечения — для кранов 30 … 50 т. Длина балок 6000 и 12000 мм, высота 1000 … 1400 мм. Подкрановые балки изготовляют из бетона классов В3 … В50, армируют их высокопрочной прядевой или стержневой арматурой класса А-III. В балках предусмотрены закладные детали для крепления их к колоннам, а также крепления к ним рельсов и токопроводящих шин.
Связи. Для обеспечения пространственной жесткости в зданиях между
колоннами устраивают связи. По устройству они разделяются на
крестовые и портальные. Связи изготавливают из стальных прокатных
профилей. Для их крепления в колоннах предусматривают дополнительные
закладные детали. Связи располагают в продольных рядах колонн у
середины каждого температурного блока. Кроме вертикальных связей
между колоннами устанавливают еще горизонтальные и вертикальные
связи между фермами (балками) покрытий.
Фундаменты стаканного типа из железобетона.. Объемно–планировочные и конструктивные решения канифольно-терпентинного цеха
Похожие главы из других работ:
Автоматизация процессов производства железобетонных изделий
1.1 Создание автоматизированной системы контроля и управления качеством в производстве сборного железобетона
Эффективность управления производством в современных условиях в значительной мере определяется наличием методов и технических средств управления качеством продукции на всех стадиях технологического процесса…
Методы и средства для измерения внутренних и линейных размеров деталей типа «Корпус» и «Вал»
1.1.2 Деталь типа «Вал»
…
Мини-цех по производству колбас
7.1 Фундаменты
Фундаменты запроектированы для строительства здания с наружными стенами из силикатного рядового кирпича, облегчённой кладки t = 600 мм или сухих несыпучих грунтах.
Фундаменты ленточные, монолитные из бетона М-150…
Обслуживание и ремонт оборудования компрессорной станции №14 «Приводино»
1.7.2 Нагнетатель типа 520-12-1
Центробежный нагнетатель типа 520-12-1 предназначен для сжатия природного газа, транспортируемого по магистральным газопроводам при температуре газа до минус 15°С и воздуха до минус 50°С…
Описание конструкции и принципа действия станочного приспособления
1.3 Расчёт годовой программы выпуска заданной детали. Выбор типа производства. Характеристика выбранного типа производства по технологическим и организационным признакам
Значительное влияние на выбор методов получения и обработки заготовки, уровень механизации и автоматизации работ на участке, степень концентрации технологических операций…
Основные направления вторичного использования цементного и асфальтового бетонов
Глава 3. Оборудование для переработки некондиционного бетона и железобетона
В мировой практике организация производства и использования вторичного заполнителя из бетонного лома осуществляется по трем вариантам: 1.
Бетонный лом с места демонтажных работ транспортируется на завод по производству заполнителей…
Поверка средств измерений. Разработка методики поверки секундомера электронного У-41М
1) утверждение типа стандартных образцов или типа средств измерений;
…
Проектирование настенного поворотного крана по заданной схеме
2.1.1 Выбор типа конвейера и типа настила
Тип конвейера и тип настила выбирается в соответствии с ГОСТ22281-92. Настил применяется трех типов: — легкий — при насыпной плотности транспортируемого груза с < 1т/м3; — средний — при с = 1-2 т/м3; — тяжелый — при с > 2 т/м3…
Проектирование нефтехозяйства сельскохозяйственного предприятия
10 Проектирование элементов нефтесклада: фундаменты под резервуары и технологическое оборудование
Фундаменты под оборудование должны удовлетворять тре-бованиям СНиП «Бетонные и железобетонные конструкции мо-нолитные. Нормы проектирования».
Допускаемые отклонения размеров фундамента от проекта не должны превышать следующие величины…
Разработка бункерно-ориентирующего устройства для ориентации заготовок в пространстве и подачи их на станок
4.2 БЗУ элеваторного типа
Бункерно-ориентирующее устройство этого типа (рис. 4.2) часто применяется на практике. Рисунок 4.2 — БЗУ элеваторного типа Конструкция лопастей зависит от формы подаваемых заготовок. Например, для гладких валиков лопасти устанавливают так…
Расчет оборудования компрессорного цеха
2.1 Нагнетатель типа 280-12-7
Центробежный нагнетатель Н-280-12-7 предназначен для сжатия природного газа, транспортируемого по магистральным газопроводам при температуре газа до минус 15 (С и воздуха до минус 50С)…
Расчет параметров буровзрывных работ при промыслово-геофизических работах
4.4 Выбор типа ВВ и СИ
Первой стадией выбора рациональных ВВ при проведении горных выработок должна быть оценка технической возможности использования различных ВВ в соответствующих условиях.
При этом из существующих ВВ выбираются те…
Расчёт объёмного гидропривода
2.2.2 Гидроцилиндр типа ДСШ 14.56.001
Гидроцилиндры поршневые предназначены для преобразования энергии перекачиваемой насосом жидкости в механическую энергию исполнительного механизма…
Технология изготовления бетонной смеси
4. Общие сведения и классификация железобетона
Как известно, бетон имеет существенный недостаток, присущий почти всем искусственным и природным материалам: он хорошо работает на сжатие, но плохо сопротивляется изгибу и растяжению. Прочность бетона при растяжении составляет 1/10…..
Формовочный цех завода ЖБИ по производству панели внутренних стен из тяжелого бетона для крупнопанельных жилых зданий
1.2 Состояние и перспективы развития бетона и железобетона
Несмотря на относительную молодость в сравнении с такими традиционными строительными материалами, как дерево, глиняный кирпич, железо.
..
Основания и фундаменты 5стр.
Типы фундаментов . Технико-экономические показатели (прдолжение)
Индустриальными являются сборные бетонные и железобетонные фундаменты. Сборные ленточные фундаменты (рис. 11) монтируют из железобетонных или бетонных блоков прямоугольной или трапециевидной формы (подушки) и стеновых блоков в виде параллелепипедов. Блоки-подушки укладывают на утрамбованную песчаную подготовку толщиной 150 мм (при песчаных грунтах подготовка не требуется). Блоки стен фундаментов изготовляют сплошными или пустотелыми (для сухих грунтов), что уменьшает расход бетона и их массу, однако в водонасыщенных грунтах в пустоты может проникнуть вода, что вызовет их разрушение при замерзании. Целесообразна укладка железобетонных подушек фундаментов не сплошной лентой, а с разрывами, засыпаемыми грунтом. В отдельных случаях устраивают несимметричные по сечению фундаменты, что целесообразно при внецентренном действии нагрузок, когда их равнодействующая значительно смещена от оси фундамента.
Рис. 11. Ленточный фундамент из крупных блоков
а — поперечный разрез; б — фасад фундамента; 1 — тротуар или отмостка; 2 — фундаментный стеновой блок; 3 — фундаментный блок-подушка
Столбчатые фундаменты в основном применяют в промышленном и сельском строительстве; в гражданском строительстве их устраивают, как правило, для малоэтажных зданий и сооружений, при незначительных нагрузках на фундаменты. В этом случае замена ленточных фундаментов столбчатыми дает экономический эффект. Нагрузки передаются на столбы фундамента с помощью фундаментных балок (рис. 12). Столбчатые фундаменты устраивают также под внутренние колонны зданий, под трубы, оборудование и машины. Столбчатые фундаменты бывают деревянными (стулья) и каменными— из бута, бетона, железобетона и др. Деревянные стулья применяют для деревянных сооружений, в основном для временных зданий. Стул с нижней поперечной подкладкой менее жесток, чем стул с крестовиной и подкосами.
Перед установкой на место стулья антисептируют. Для колонн промышленных зданий применяют сборные столбчатые железобетонные фундаменты стаканного типа, состоящие из башмака или блока-стакана и опорных плит под ним (рис. 13).
Рис. 12. Опирание фундаментных балок
1 — балка; 2 — стена; 3 — бетонный столбик; 4 — колонна
Рис.13. Конструктивные решения сборных фундаментов промышленных зданий
а — одноблочные; б — двухблочные; в — многоблочные; 1 — стакан; 2 — плита
Если нагрузки на фундамент значительны, а грунт основания слаб и неоднороден, устраивают сплошные фундаменты по всей площади сооружения в виде железобетонной монолитной плиты.
При устройстве фундаментов под машины и оборудование в промышленных зданиях в соответствии с главой СНиП П-Б.7-70 «Фундаменты машин с динамическими нагрузками. Нормы проектирования» необходимо учитывать кроме статических динамические нагрузки, которые вызывают колебания конструкций зданий.
Фундаменты под машины должны быть прочными, устойчивыми, недопустимы осадки, деформации и вибрация. Различают два вида фундаментов под машины: массивные и рамные. Массивные фундаменты сооружают из монолитного бетона или железобетона или из плит с отверстиями для крепления машин. Рамные фундаменты устраивают для машин с большим числом оборотов.
стр.1 стр.2 стр.3 стр.4 стр.5 стр.6
Объемно–планировочные и конструктивные решения канифольно-терпентинного цеха (Курсовая работа), стр.5
Рисунок 1.12
Возведение свайных фундаментов сокращает сроки строительства, трудоемкость, снижает до минимума объем земляных работ без отрывки котлована с применением механизации рядом с существующими зданиями и сооружениями, т.е. дает возможность строить экономично даже в тех условиях, когда несущая способность грунтов позволяет создавать ленточные или столбчатые фундаменты.
Фундамент на свайном основании.
1 — железобетонный башмак; 2 — бетонный ростверк; 3 — железобетонные сваи.
Рисунок 1.13
Сплошные фундаменты применяют при неблагоприятных геологических и гидрогеологических условиях площадки строительства. Конструктивно их выполняют так, что они образуют сплошную железобетонную плиту под всем зданием или сооружением толщиной от 500 до 1500 мм.
Фундаментные балки (рандбалки) служат для опирания само несущих или навесных стен по периметру промышленного здания.
Укладку железобетонных фундаментных балок выполняют по обрезам фундамента между подколонниками или их опирают на специальные бетонные столбики, которые бетонируют на месте при установке колонн каркаса (рисунок 1.14).
Железобетонные фундаментные балки.
а — типы балок; б — опирание на бетонные столбики или уступы фундаментов; 1-бетонирование по месту; 2 — бетонный столбик; 3 — цементный раствор
Рисунок 1.14
Применение фундаментных
балок облегчает прокладку под стенами
различных коммуникаций, тоннелей,
каналов и других устройств.
Фундаментную
балку укладывают так, чтобы верхняя
грань ее была выше поверхности грунта,
но всегда ниже уровня чистого пола
здания (отметка — 0,03 м). В этом случае при
просадке отмостки фундаментная балка
защищает конструкцию пола снаружи и не
охлаждает зимой здание через возможные
неплотности, поэтому проектирование
панельных стен без фундаментных балок
разрешается только в неотапливаемых
зданиях.
При шаге колонн 6 м железобетонные фундаментные балки выпускают таврового сечения высотой 400 мм с шириной полки 300, 400 и 520 мм при длине 4950 мм. Если шаг колони 12 м, то фундаментные балки проектируют трапециевидного сечения высотой 400 и 600 мм с шириной поверху 300 и 400 мм, а по низу — 240 мм при длине 10700 мм. Фундаментные балки, примыкающие к температурному шву и торцевым стенам, делают короче на 500 мм.
Для защиты стен от переувлажнения
по верхней грани фундаментных балок
наклеивают гидроизоляцию, которая
состоит из одного двух слоев рубероида
на битумной мастике.
Под фундаментной
балкой отрывают траншею глубиной до
0,7 м с заполнением ее шлаком, крупнозернистым
песком или кирпичным щебнем, что
предотвращает выпирание стен в пучинистых
грунтах при замерзании их или избыточном
увлажнении. Для отвода талых и дождевых
вод от фундаментов по периметру всех
промышленных зданий делают отмостку
из асфальта или бетона шириной 0,9-1,5 м с
уклоном от стены 3-5%.
Для одноэтажных производственных зданий химической промышленности применяют унифицированные колонны из сборного железобетона заводского изготовления (рисунок 1.15). Колонны имеют квадратное прямоугольное или двухветвевое сечение. Их проектируют для промышленных зданий, не оборудованных мостовыми кранами и предназначенных под крановую нагрузку. При высоте пролета до 9,6 м в промышленных зданиях колонны делают сплошного сечения, если высота более 9,6 м, — из двух ветвей, которые по высоте связываются горизонтальными распорками через 1,5-3,0 м.
Колонны квадратного и
прямоугольного сечения имеют следующие
унифицированные размеры: 400х400, 400х600,
400х800, 500х500, 500х600 и 500х800 мм.
У колонн
двухветвевого сечения размеры приняты
следующие: 400х1000, 500х1000, 500х1300.500х1400,
500х1550.600х1400, 600х1900 и 600х2400 мм.
В железобетонных колоннах (только в крайних) имеются стальные закладные элементы с анкерными болтами для крепления ферм, вертикальных связей, подкрановых балок и стеновых панелей. Заделку в стакан фундамента квадратных и прямоугольных колонн в зданиях без мостовых кранов производят на 750 мм. в зданиях с мостовыми кранами-на 850 мм, а для двухветвевых колонн при отметке оголовка 10.8 м-на 900 м и если отметка верха оголовка более 10,8 м, то глубина заделки-1200 мм (отметка низа колонны — 1,35 м). Колонны, многоэтажных зданиий сборного железобетона имеют два вида сечений-400 х400и 400х600 мм (типовое решение).
Ригели перекрытий многоэтажных
промышленных зданий для пролетов 6 и 9
м имеют одинаковую высоту сечения 800 мм
и отличаются между собой только процентом
армирования каркаса. Основными несущими
элементами перекрытий являются ребристые
железобетонные плиты номинальной длиной
6 м шириной 1,5 м, а доборные-0,75 м.
Стыки колонн проектируют выше перекрытия на 600 мм через два этажа и выполняют посредством приварки стержней к стальным головкам, а затем их замоноличивают по арматурной сетке.
В настоящее время колонны прямоугольного сечения применяют для промышленных зданий без мостовых кранов высотой до 9,6 м включительно и для зданий, оборудованных мостовыми кранами при высоте до 10,8 м включительно, а колонны двухветвевого сечения для всех зданий с высотами от 10,8 до 18 м.
При больших нагрузках на перекрытие, наличии провисающего оборудования и возможного в перспективе изменения технологического процесса, а также на взрывоопасных производствах железобетонные плиты перекрытий и покрытий опираются поверху ригелей.
Типы железобетонных колонн.
А — для зданий без мостовых
кранов; б — то же, с мостовыми кранами; в — закладовые элементы колонны; 1 —
оголовок из листа 8х300х400 и два болта М
20х130; 2 — упор подкрановой балки — 8х200х400;
3 — опора подкрановой балки — 8х400х550 и
четыре болта М 20х150; 4 — элементы из
уголков 63х5х200 для крепления стеновых
панелей.
Рисунок 1.15
Если верхний этаж многоэтажных промышленных зданий проектируют однопролетным с целью устройства подвесных или мостовых кранов или по технологическим условиям, то для покрытия верхнего этажа применяют те же несущие.
Для покрытий промышленных зданий в качестве несущего настила наиболее часто применяют железобетонные ребристые плиты длиной 6 и 12 м при их ширине 3 и 1,5 м.
Железобетонные балки и
фермы. Железобетонные балки применяют
для пролетов от 6 до 18 м в покрытиях
промышленных зданий с односкатным,
двухскатным и плоским профилем кровли.
В двухскатных балках покрытий
запроектирован ломаный верхний пояс с
уклоном скатов 1: 11. В целях снижения
массы балок, а также для создания
возможности смонтировать под покрытием
трубопроводы, воздуховоды и другие
инженерные коммуникации в вертикальных
стенках балок делают сквозные отверстия
различной геометрической фермы. Балки
с пролетом более 12 м крайне громоздки
и имеют большую массу, поэтому для
облегчения транспортировки их расчленяют
на отдельные сборные элементы с
последующей сборкой и применением
напряженной пучковой или прядевой
арматуры.
После натяжения арматуры
закладные трубки в отдельных элементах
балки заполняют жидким цементным
раствором, который предохраняет стальную
арматуру от коррозии.
При пролетах 6 и 9 м балки изготовляют таврового сечения и имеют высоту на опоре от 550 до 790 мм а для пролётов 12 и 18 м поперечное сечение их — двутавровое с высотой на опоре от 790 до 1490 мм.
B верхнем поясе балок закладывают стальные пластинки, к которым прикрепляют сваркой прогоны или панели покрытия. На нижнем поясе и стенке также устанавливают закладные устройства для закрепления путей подвесного транспорта. Опорные части балок имеют стальные листы с вырезами для крепления их к колоннам.
Железобетонные фермы предназначены для покрытий промышленных здании с пролетами 18, 24, 30 м, но, в отдельных случаях могут перекрывать пролеты в 36 м и более.
В зависимости от условий
строительства, возможности транспортировки
и способа изготовления фермы могут быть
цельными либо расчлененными на полуфермы
или на отдельные блоки длиной до 6 м.
Железобетонные фермы по расходу металла экономичнее стальных конструкций, но значительно тяжелее их, что затрудняет перевозку и усложняет монтажные работы. Геометрическая схема фермы определяет очертание ее верхнего и нижнего поясов, а также расположение раскосов и стоек.
В настоящее время выпускают следующие типы железобетонных ферм, применяемых в промышленном строительстве: сегментные, арочные, треугольные, трапециевидные и с параллельными поясами. Для изготовления ферм применяется бетон высоких марок 300-500 с предварительным напряжением арматуры в нижних растянутых поясах. Раскосы в решетчатых фермах значительно усложняют использование межферменного пространства при монтаже инженерных коммуникаций и воздуховодов. Поэтому целесообразнее применять безраскосные фермы Виренделя с параллельными поясами или арочные (рисунок 1.17). Треугольные и трапециевидные фермы применяют реже.
Железобетонные стропильные
фермы обычно устанавливают с шагом 6
или 12 м. В случае расположения колонн в
промышленных зданиях с шагом 12-24 м,
увеличивать шаг стропильных ферм более
6 м нецелесообразно при необходимости
устройства подвесных потолков, а также
при креплении подъемно транспортного
оборудования (кошки, тали, подвесные
краны, краны-штабелеры) к нижнему поясу
фермы.
В этом случае по колоннам вдоль промышленного здания устанавливают подстропильные конструкции, на которые опираются стропильные фермы или балки
Пространственная жесткость и неизменяемость системы покрытий с железобетонными фермами обеспечивается за счет приварки настилов к стальным закладным элементам в верхних поясах ферм, в результате чего в плоскости покрытия создается жесткий диск.
Железобетонные балки покрытий.
а — для скатных покрытий; б — для плоских покрытий; в — деталь крепления балки к колонне; 1 — закладной элемент колонны; 2 — опорный лист балки (фермы)
СИСТЕМЫ ФУНДАМЕНТА: УРОВЕННАЯ БАЛКА VS. НАСТРОЙКА ФУНДАМЕНТА
Думая о системе, поддерживающей дома или коммерческие здания, большинство людей думают, что она начинается с фундамента. Но даже система фундамента нуждается в фундаменте, поэтому самым первым элементом при подготовке схемы вертикальной поддержки является нижняя часть фундамента. Хотя не для всех фундаментов требуется железобетон, мы сконцентрируемся на двух типах, для которых это необходимо: выравнивающая балка и распорные фундаменты.
ФУНДАМЕНТ
Когда цель строительства включает в себя стойкость и долговечность, вы не можете отказаться от расходов на фундамент, особенно в районах, часто подвергающихся воздействию сильных ветров, землетрясений или наводнений.Вместе с фундаментами фундаменты также борются с дифференциальной осадкой, когда здание оседает с разной скоростью и не по вертикали. В дополнение к предотвращению трещин и структурных повреждений, возникающих из-за экстремальной дифференциальной осадки, фундаменты также:
- передача нагрузки на фундамент или непосредственно на землю
- закрепить конструкцию, чтобы противостоять ветру, наводнениям и землетрясениям
- держать подвал сухим
- отделить влагостойкие строительные материалы от земли
В зависимости от различных условий окружающей среды на строительной площадке железобетонные фундаменты могут поддерживать фундамент с максимальной прочностью.
ОСНОВАНИЯ
Фундаменты предлагают несколько основных преимуществ для фундаментов.
- Обеспечивают ровную поверхность, на которой можно построить фундамент.
- Кроме того, они обеспечивают сопротивление восходящим силам почвы, противодействующим направленным вниз силам веса выше.
- При ширине, превышающей сам фундамент, фундаменты служат для распределения нагрузки здания на грунт.
- Фундаменты повышают прочность системы фундамента в слабых или расширяющихся грунтах.Подвижные грунты давят на стены фундамента выше основания и в стороны. Фундаменты
- помогают поглощать давление и укрепляют фундамент на неустойчивом грунте. Фундаменты
- позволяют заглубить фундамент достаточно глубоко ниже уровня земли, чтобы избежать глубины промерзания, когда пучение и оттаивание также вызывают неравномерную осадку.
Таким образом, фундаменты помогают предотвратить проседание или коробление фундамента. Они также помогают фундаменту оставаться перпендикулярным земле и удерживать высокие здания в вертикальном положении.
Из множества вариантов фундамента железобетон может поддерживать фундамент в двух стилях. Каждый из них лучше всего подходит для определенных условий окружающей среды.
КОНЦЕВАЯ БАЛКА
Если фундамент должен уходить глубоко в землю, правильным выбором может быть балочный фундамент. На крутых склонах, в расширяющихся грунтах и там, где по проекту предусмотрен опорный или стоечный фундамент, балки уровня перекрывают расстояние между несущими бетонными опорами или деревянными столбами. Балка уровня либо опирается непосредственно на почву, либо имеет собственные сваи для поддержки.При рытье траншеи и заливке горизонтальной балки шириной не менее восьми дюймов и на глубину, равную пролету между опорами, фундамент непрерывной горизонтальной балки будет распределять нагрузку здания на грунт или его опорные точки, где их основания распределяют нагрузку. нагрузка на почву.
РАСШИРЕННОЕ ОСНОВАНИЕ
Фундаменты лучше всего подходят для неглубоких фундаментов, где грунт хорошо уплотнен и стабилен.
Также известные как Т-образные опоры (если Т перевернута), распорные опоры опираются непосредственно на почву и на несколько дюймов шире стены фундамента.Вы определяете ширину и толщину в соответствии с нагрузкой, которую он будет нести сверху, и типом почвы внизу.
Наиболее часто используемые в жилых помещениях, часто распорные фундаменты не нуждаются в усилении в соответствии с нормами, хотя вы все равно должны использовать номинальную арматуру для изгиба. Чем ниже несущая способность грунта, тем шире должна быть распорка, чтобы избежать резкой осадки. Фундаменты также заливают ниже линии промерзания. Нижние колонтитулы создают ровную и гладкую линию, по которой затем заливается бетонный фундамент, чтобы сформировать непрерывную стену, поддерживающую периметр дома.
БАРТОН ЭКСПЕРТИЗА
Группа экспертов по бетону в Barton Supply может помочь вам определить лучшее бетонное основание для вашего проекта и предоставить вам все материалы, необходимые для воплощения вашего плана в жизнь.
Независимо от того, строите ли вы дом по индивидуальному заказу, целостную застройку или коммерческую структуру, у нас есть все, что вам нужно, чтобы построить идеальную систему основания и фундамента.
Ремонт фундамента для опор и балок
Что такое фундамент для опор и балок?
Столбчатый и балочный фундамент является альтернативой плитному или цокольному фундаменту.Плитные фундаменты обычно недороги, могут быть построены быстро и сделаны из железобетона. Дом с плитным фундаментом не имеет подвала. Фундамент из пирса и балки обычно включает в себя подполье под жилым помещением и опоры для поддержки фундамента. Поскольку он обеспечивает большую устойчивость в подвижных грунтах, опорно-балочный фундамент может принести домовладельцу больше преимуществ.
В опорно-балочном фундаменте бетонная опора армируется сталью (арматурой), образуя прочную клетку внутри опоры.Опоры установлены на бетонной подушке, которая также укреплена стальной арматурой. Фундаментная балка опирается на опору или колонну.
Плитные фундаменты и проблемы с фундаментами
Плитные фундаменты часто подвергаются неблагоприятному воздействию изменяющихся грунтовых условий. В таких штатах, как Техас, Колорадо, Канзас и других, обширные глинистые почвы влияют на фундаменты домов. Это одна из основных причин, почему в таких городах, как Хьюстон, штат Техас, и Сан-Антонио, штат Техас, так часто возникают проблемы с фундаментом.Глинистые почвы удерживают воду. При перенасыщении глинистый грунт расширяется и вздымается вверх к фундаменту. По мере высыхания грунт дает усадку и фундамент оседает. Это движение, вызванное постоянным изменением состояния почвы, вызывает трещины в плитном фундаменте, что приводит к плесени, сырости и другим проблемам внутри дома.Преимущества фундамента из пирсов и балок
Поскольку фундамент из пирсов и балок обеспечивает свободное пространство, домовладелец выигрывает от более легкого доступа к отоплению и водопроводу.Сантехнические трубы часто располагаются под плитным фундаментом — когда одна из этих трещин трескается, стоячая вода под плитой может вызвать проблемы с фундаментом.
Еще одним преимуществом столбчато-балочного фундамента является его платформенная конструкция. Фундамент из пирса и балки увенчан деревянной платформой, которая может быть более удобной для суставов и спины, когда домовладельцы ходят по полу. Полы над плитным фундаментом не имеют такой податливости, так как укладываются на бетонную подушку.
Фундаменты для пирсов и балок обычно используются в городах с умеренным климатом, таких как Канзас-Сити, штат Миссури.
Столбчатый и балочный фундамент также может называться стоечно-балочным фундаментом. Независимо от конструкции вашего фундамента, обратитесь к специалисту по ремонту фундамента, чтобы уменьшить любые дополнительные повреждения.
Сколько стоит ремонт фундамента пирса и балки?
Стоимость ремонта структурных повреждений опорного и балочного фундамента зависит от размера дома и степени повреждения, но обычно колеблется в пределах 5600–8500 долларов.
Если необходимы дополнительные неструктурные услуги, такие как герметизация подполья, пароизоляция, осушители, отстойные насосы, снижение уровня радона или дренаж, затраты могут возрасти.
Фундамент из столбов и балок хороший?
Что такое опорно-балочный фундамент?
Мы много слышим о ремонте фундамента, потому что сегодня большинство домов строятся на цементном фундаменте. Здесь заливается цементная плита, а поверх нее строится каркас дома. О чем мы мало слышим, так это о ремонте опорно-балочных фундаментов.
Пирсовые и балочные фундаменты распространены среди домов возрастом 50, 60, 75 лет и старше.Здесь опоры, обычно цементные, вкапываются в землю, а балки размещаются на месте, простираясь от одной опоры к другой. Эти балки поддерживают балки, на которых построен черный пол, а затем фактический пол, оставляя под домом пространство около 18 дюймов между балками и землей. Ремонт фундамента пирса и балки необходим, когда земля сдвигается, и дом соскальзывает с одной или нескольких из этих балок, а балки соскальзывают с этих опор.
Как построить пирс и балку?
В 1960-х годах и раньше дома строились из опор и балок.
Затем было обнаружено, что можно заливать бетон в формы для создания плитного фундамента, и столбы и балки практически устарели. Однако до плитного фундамента установка пирса и балки подняла дом с земли и оставила подполье, а в некоторых случаях и подвал.
Тип конструкции пирса и балки был уникальным, и, как и те, которые все еще существуют, необходимы регулярные проверки, за которыми часто следует ремонт фундамента пирса и балки. Как строить столбчато-балочный фундамент? Четыре простых шага:
- Шаг первый: заглубляйте опоры в землю, пока они не закрепятся.Это могут быть цементные опоры или деревянные (кедровые) опоры.
- Шаг второй: Добавьте бетонное основание вокруг каждой опоры, чтобы предотвратить их смещение.
- Шаг третий: Добавьте балки (обычно деревянные, некоторые используют стальные) от опоры к опоре. Они будут использоваться для соединения лаг пола.
- Шаг четвертый: Установите черновой пол на балки, а затем основание пола на него.

Является ли опорно-балочный фундамент постоянным?
Существует множество компонентов, которые считаются составляющими постоянного фундамента, например, бетонные блоки при использовании с сейсмостойкой системой крепления (ERBS).Эта системная система требует, чтобы опорные опоры располагались на расстоянии друг от друга в соответствии с рекомендациями отечественных производителей между опорными распорками при положительном землетрясении. Вот несколько примеров домов, которые опираются на опоры помимо фундамента из опор и балок:
.- Сборные дома
- Модульные дома
- Мобильные дома
Опоры могут быть изготовлены из цемента или дерева, как указано выше в шагах по сооружению опорно-балочного фундамента. Сложенные бетонные блоки также используются для опор, причем любой из этих методов считается постоянным фундаментом.
Почему опорно-балочный фундамент вместо фундаментной плиты?
С учетом того, что опорно-балочный фундамент нуждается в регулировке и ремонте опорно-балочного фундамента, а также со временем может ухудшиться, почему установка опорно-балочного фундамента по-прежнему популярна? Одно из ключевых преимуществ фундамента из опор и балок, которое делает его первым выбором для многих домовладельцев, заключается в том, что ремонт фундамента из опор и балок дешевле, чем фундамент из цементных плит.
Еще одно преимущество: любые дополнения или ремонт сантехники проще и дешевле из-за 18-дюймового пространства для обхода. Фундаменты из пирса и балки проще для дома, если они построены с учетом следующих факторов:
- Сжатие и расширение почвы значительны.
- Строительство планируется на склоне холма или на неровной поверхности.
- Дом находится в районе, подверженном наводнениям.
Насколько глубоки опорно-балочные фундаменты?
Сами опоры должны быть заглублены не менее чем на 12 дюймов под землю.В районах, где зимы регулярно приносят отрицательные температуры, опоры должны быть на 12 дюймов ниже линии промерзания. Независимо от того, где построен дом, столбы должны иметь основание толщиной восемь дюймов и в два раза шире, чем столбы, которые он поддерживает.
На каком расстоянии должны быть опоры дома?
Стандартное расстояние от восьми до десяти футов. Однако, если конструкция должна быть многоэтажной или сделана из тяжелого материала, такого как сталь, инженер может порекомендовать разместить их ближе друг к другу, например, от четырех до шести футов.
Каковы две распространенные проблемы с опорой у Пирса?
Фундамент из пирсов и балок, как правило, является очень устойчивым способом построить дом. Однако, как и у плитного фундамента, у них есть свои проблемы:
- Обрушение пирсов: пирсы полностью или частично обрушились, наклонились или затонули. Их может сбросить и стабилизировать профессиональный подрядчик.
- Сдвиг балок: Балки могут смещаться, обычно это происходит, когда опоры сдвинуты или утонули.
- Неудачные прокладки: Дом, который ранее был покрыт прокладками низкого качества, такими как фанера, сгниет, что потребует повторного выравнивания дома с использованием прокладок более высокого качества.
- Распад или гниение балок: Это проблема деревянных балок, подверженных воздействию влаги.
Нужна помощь с фундаментом для опор и балок в районе Даллас-Форт-Уэрт, штат Техас? Solid Rock Foundation Repair здесь, чтобы помочь.
Позвоните 817-400-7625 сегодня.
: что это такое?
Слышали ли Вы о ремонте опорно-балочных фундаментов.Возможно, у вас есть, но большинство домовладельцев не понимают, что это на самом деле влечет за собой.
В частности, столбчатые и балочные фундаменты чаще всего используются в домах с подпольем. Как правило, опорные и балочные фундаменты имеют наружные стены из бетона или цементных блоков с внутренними опорами, которые поддерживают балки деревянного пола и опорные балки.
Вам нужен ремонт основания пирса и балки?
Ниже приведен список признаков неисправности, которые могут указывать на необходимость надлежащего ремонта фундамента.
Знакомы ли вы с какими-либо из этих проблемных признаков? Если это так, вам нужна помощь профессионала! Эти проблемы не являются простым решением «сделай сам». Не создавайте дальнейшего повреждения фундамента неправильным ремонтом.
Что вызывает проблемы с фондом?
Проблемы с фундаментом могут быть вызваны множеством факторов, в том числе плохой конструкцией и плохим грунтом.
Плохая конструкция: В некоторых случаях почва, на которой был построен ваш дом, была подготовлена неправильно.Следовательно, это приводит к проблемам с расчетами в будущем. Кроме того, строительные ошибки, такие как перекрытие балок пола, вызовут проблемы со структурой.
Окружающая среда: Мать-природа не сочувствует нуждам вашего дома. На самом деле, проливные дожди, засуха и сильная жара могут нанести вред вашему фундаменту.
Почва: Ваша почва похожа на губку. Во влажном состоянии он расширяется. При высыхании сжимается. Таким образом, если погода жаркая и сухая, почва под вашим домом будет сжиматься и затвердевать.Если погода дождливая, почва расширится и размякнет. Это приводит к проблемам урегулирования для вашего дома.
Ремонт фундаментов опор и балок
Источник проблемы укажет необходимые решения. В Indiana Foundation Service мы используем проверенные и проверенные решения для ремонта фундамента, в том числе винтовые сваи и толкающие сваи.
Кроме того, каждое решение будет разработано с вашей стороны в соответствии с конкретными потребностями вашего дома.
Почему основания для опор и балок в Амарилло нуждаются в регулировке каждые 2–4 года
Ваше основание для опор и балок Crawl-Space подвержено уникальным проблемам, поэтому требует регулярной регулировки.
К счастью, мы делаем эти настройки быстро, безболезненно и удобно для вашего кошелька.
КОРИ ДЭВИС, СОВЛАДЕЛЕЦ
В районе Амарилло существует два основных типа фундамента: фундамент из бетонных плит и фундамент из опор и балок.
Сегодня бетонные плитные фундаменты встречаются гораздо чаще. Они прочнее и долговечнее, чем опорно-балочные фундаменты, поэтому они есть в большинстве домов, построенных с 1980-х годов. Дома, построенные до этого, скорее всего, стоят на опорно-балочном фундаменте.И поскольку вы находитесь на этой странице прямо сейчас, это, вероятно, включает и вас.
Вы, вероятно, здесь, потому что заметили некоторые признаки проблем с фундаментом или проблемы с пространством для обхода.
Если вы никогда не регулировали свои опоры и балки, ваш дом, вероятно, испытывал эти проблемы прямо у вас под носом в течение долгого времени. Они только сейчас проявились в повреждениях, которые видны на виду.
Прежде чем я перейду к решению вашей проблемы с опорой и балкой, давайте поговорим о том, почему для этого типа фундамента требуется регулярная ТСХ.
Почему необходима регулярная регулировка опор и балокСуществует несколько причин, по которым регулировка опор и балок в районе Амарилло необходима каждые два-четыре года.
Для начала опоры и балки сделаны из дерева . Дерево просто не так прочно, как бетон. Таким образом, столбчатые фундаменты подвержены проблемам, которых нет у бетона (например, гниение).
Во-вторых, установка опорно-балочного фундамента позволяет конечному количеству опорных точек выдерживать нагрузку вашего дома.Если ваш столбчатый фундамент имеет 10 точек опоры, весь вес вашего дома переносится на одну из этих 10 точек.
Итак, если ваш дом весит 20 000 фунтов, каждая из этих 10 точек нагрузки должна нести 2 000 фунтов. Это большой вес!
Не только это, но и груз каждой опорной точки должен пройти через настил, балки, балки, и опоры, прежде чем он достигнет земли. Это может вызвать большую нагрузку на опоры и балки, делая их склонными к движению.
Сравните это с фундаментом из бетонной плиты, который полностью опирается на землю. По сути, это обеспечивает неограниченное количество опорных точек, а также создает прямой путь для перемещения грузов. Если ваш дом весит 20 000 фунтов, каждая точка нагрузки несет ответственность только за 1 фунт веса. А поскольку бетонный плитный фундамент обеспечивает прямой путь нагрузки к земле под вашим домом, он вызывает меньшую нагрузку на опорные точки.
Если это звучит запутанно, позвольте мне объяснить на примере…
Скажем, я стоял в вашем доме, который имеет опорно-балочный фундамент.В зависимости от того, где я нахожусь, ближайшая точка опоры может быть в пяти или шести футах от меня.
Это означает, что моим 180 фунтам, возможно, придется преодолеть довольно большое расстояние, чтобы их перевели в ближайшую точку поддержки. Поскольку точка опоры находится так далеко — и поскольку мой вес должен проходить через настил, балки и т. д., — вероятность смещения фундамента выше.
А теперь представьте, что я стою в доме вашего соседа, у которого фундамент из бетонной плиты. Мои 180 фунтов переместятся прямо под то место, где я стою.Куда бы я ни пошел в доме, это всегда будет так. Поскольку существует прямой путь нагрузки к земле и практически бесконечное количество точек опоры, на фундамент не оказывается такой большой нагрузки. В результате риск смещения фундамента намного ниже.
Что делать дальше?Все это, по сути, далеко не означает, что регулярно регулируйте свой опорно-балочный фундамент в Амарилло! В идеале каждые два-четыре года если у вас нет надлежащей стабилизации грунта.
Ты, наверное, не прыгаешь от радости при мысли об этом.
Но регулировка пирса и балки — это хрестоматийное определение проекта «унция профилактики = фунт лечения». Если вы не будете регулярно регулировать опоры и балки, это может привести к СЕРЬЕЗНЫМ (и ОЧЕНЬ ДОРОГИМ) структурным повреждениям вашего дома.
И, как я уже упоминал, стабилизация грунта может значительно сократить стандартный интервал корректировок от двух до четырех лет. Дома с балками, в которых мы установили наш стабилизатор грунта EcSS 3000, могут прослужить 10 и более лет без регулировки.В некоторых случаях нам НИКОГДА не приходилось возвращаться после того, как мы стабилизировали почву клиента!
Если вы даже подозреваете, что у вас возникли проблемы с опорно-балочным фундаментом, немедленно свяжитесь с нами. Хотя вы, возможно, только сейчас заметили проблему, поверьте мне, она продолжалась намного дольше. Мы можем использовать наш специальный 27-точечный анализ вашего дома и пространства для обхода, чтобы точно определить проблему и ее серьезность.
Мы даже запишем нашу инспекцию, чтобы вы могли увидеть точную проблему из первых рук.
После того, как мы проанализируем наши выводы с вами, мы дадим рекомендации по правильному решению проблемы. Затем мы предоставим вам железную цитату и отступим, чтобы дать вам время все обдумать. Мы даже можем создать план обслуживания со скидкой, чтобы вы могли отрегулировать свой фундамент по низкой цене.
Или нет — выбор за ВАМИ. Последнее, что мы когда-либо делали, — это давили на вас, чтобы вы приняли решение. Мы просто хотим, чтобы у вас были все факты, необходимые для того, чтобы сделать не только правильный выбор… но и тот выбор, который вам наиболее удобен.
Знайте факты о ремонте фундамента пирса и балки
Фундаменты для столбов и балок были хитом до 60-х годов, и хотя сегодня они гораздо менее популярны, они по-прежнему используются в районах, подверженных наводнениям. Столбчатый и балочный фундамент не опирается непосредственно на землю, и в этом его главное отличие от бетонного плитного фундамента.
Вместо этого типичный опорно-балочный фундамент будет иметь бетонные опоры, которые устанавливаются глубоко в землю для удержания веса здания.В результате между уровнем земли и полом дома создается подполье.
Фундамент на столбах и балках имеет ряд преимуществ по сравнению с другими типами фундаментов, но также имеет и свои недостатки. Таким образом, важно взвесить все «за» и «против», прежде чем строить новый дом, чтобы вы могли выбрать то, что лучше всего подходит для вас. Имейте в виду, что район, в котором вы живете, и почва в значительной степени определяют наилучший тип фундамента для вашего нового дома.
Одним из преимуществ дома из опор и балок является то, что, поскольку дом расположен на возвышении, он менее подвержен повреждениям в результате влаги или затопления. Кроме того, подполье позволяет удобно выполнять инженерный ремонт, такой как сантехника и электричество, поскольку участки под домом легко доступны. Напротив, фундамент из бетонных плит может потребовать значительных усилий для доступа к таким коммуникациям, что может сделать ремонт намного более дорогостоящим.
Ремонт опорных и балочных фундаментов также, как правило, намного дешевле, чем ремонт плитных фундаментов.
С другой стороны, строительство опор и балок не рекомендуется в районах, подверженных ураганам и землетрясениям, поскольку они могут быть подвержены серьезным повреждениям, поскольку опоры не устанавливаются так глубоко в землю. Кроме того, в зависимости от веса дома и пространства, оставшегося между опорами, домовладельцам, возможно, придется иметь дело с провисанием и скрипом полов. По этой же причине столбчатые и балочные фундаменты не рекомендуются для больших зданий. Пространство для ползания также может привести к таким проблемам, как накопление влаги, плесень и грибок, а также заражение грызунами и насекомыми.
ПРИЧИНЫ И ПРИЗНАКИ ПРОБЛЕМ ФУНДАМЕНТА
Грунт может отслаиваться от пирса и балочного фундамента в сезоны, когда погода становится все более жаркой и сухой. В результате дисбаланс влажности может привести к оседанию, что приведет к трещинам внутри и снаружи дома.
Точно так же, когда корни деревьев высасывают воду из почвы, она обезвоживается и вызывает ее усадку. Это также вызывает оседание.
Трещины в стенах, выпуклые стены, наклонные стены или дымоход, трещины в перекрытиях и гаражные трещины — другие признаки несостоятельности фундамента, и по мере того, как дом оседает, трещины становятся больше и более очевидными.Кроме того, следите за проседающим или оседающим фундаментом и проверяйте подполье на наличие трещин в фундаменте.
Утечки в водопроводе или плохой дренаж могут привести к серьезному повреждению опор и балочных фундаментов. Избыток воды заставляет почву расширяться, что может привести к смещению опор и фундамента, а также смещению дома. Неправильное уплотнение почвы перед строительством дома также может привести к неожиданному смещению под фундаментом. Некоторые из признаков, на которые следует обратить внимание, включают торчащие окна и двери или плесень и трещины на фундаменте.Как правило, это вызвано плохим дренажем и движением грунта.
Влажность почвы также может увеличиться в сезон сильных дождей, и вы можете заметить трещины в фундаменте. Глинистая почва особенно восприимчива к удержанию влаги и, следовательно, представляет более высокий риск повреждения влагой. Почва расширяется по мере поглощения влаги, вызывая напряжение в фундаменте и приводя к неровным участкам пола и растрескиванию гипсокартона.
РЕМОНТ ФУНДАМЕНТА ПИСН И БАЛОК
Различные варианты ремонта опор и балок могут быть выбраны в зависимости от причины повреждения фундамента.
Это включает в себя дополнительную поддержку фундамента вашего дома. Этот метод используется, когда фундамент не выдерживает нагрузки, о чем свидетельствуют трещины вдоль основания ваших стен. Деревянные опоры вставляются под существующие балки в вашем фундаменте, чтобы увеличить его несущую способность. Площадь опорной поверхности также увеличена, что помогает передавать нагрузку на новые опоры.
Сонотруба (полая бетонная колонна) может использоваться, когда в вашем подвале имеются серьезные трещины или уклон пола, чтобы укрепить существующий фундамент.
Сонотрубка вставляется вокруг арматуры основания фундамента, а затем заливается бетоном, чтобы закрепить ее. Сонотрубы часто используются в стареющих фундаментах, чтобы выровнять любые уклоны и продлить срок службы конструкции. Сонотрубки могут быть предварительно обрезаны и отформованы, а также бывают разных размеров.
Этот метод предполагает использование гидравлических домкратов для поднятия уровня пола в помещении до его естественного положения. Ранее установленные прокладки заменяются металлическими и постоянными наполнителями, а балки добавляются по мере необходимости в местах, где требуется усиление пола.Внутренние прокладки, блоки или стальные опоры могут быть добавлены для усиления стабилизации системы пола и внутренней конструкции. Бетонные цилиндры и стальные опоры заменяют гидравлические домкраты, обеспечивая постоянную поддержку конструкции.
Фундамент — это еще один способ укрепить область под нагрузкой вашего фундамента. Это может включать замену слабого грунта под вашим фундаментом бетоном, который также можно комбинировать с балками для дополнительной поддержки.
Затем напряжение передается на балку для усиления поддержки.В качестве альтернативы сваи, заключенные в сталь, могут быть забиты в предварительно просверленные отверстия, чтобы они опирались на более надежный грунт глубиной более 5 метров. Таким образом, нагрузка на фундамент переносится на более глубокую и надежную почву.
Наиболее подходящий метод ремонта опор и балок будет зависеть от основной причины повреждения и степени. Вот почему важно вызвать специалистов, как только вы заметите проблему с фундаментом в вашем доме из пирса и балки.
Не менее важно работать с командой, которая разбирается в вопросах ремонта фундамента и имеет в этом большой соответствующий опыт.Под релевантным мы подразумеваем авторитетную компанию, которая предлагает услуги по ремонту фундамента в вашем конкретном районе или регионе. Это связано с тем, что географические факторы играют огромную роль, когда речь идет о фундаменте дома. Имейте в виду, что стоимость ремонта фундамента для опоры также будет зависеть от вашего местоположения, метода ремонта и степени повреждения.
GL Hunt в течение последних 30 лет предоставляет отличные услуги по ремонту пирсов и балок в Остине и его окрестностях, и мы стремимся обеспечить безопасность вашего дома, предлагая гарантированные экономичные решения в случае повреждения фундамента.Позвоните нам сегодня, чтобы запланировать осмотр вашего фонда или обсудить варианты финансирования.
Свод правил Калифорнии, раздел 8, раздел 1604.7. Подвесные балки, фундаменты и полы над шахтой.
Эта информация предоставляется бесплатно Департаментом производственных отношений. со своего веб-сайта www.dir.ca.gov. Эти правила предназначены для удобства пользователя, и не делается никаких заявлений или гарантий, что информация является текущим или точным.Полный отказ от ответственности см. на странице https://www.dir.ca.gov/od_pub/disclaimer.html. Подраздел 4. Приказы о безопасности строительства
Статья 14.
Строительные подъемники
(a) Подвесные балки и фундаменты.
Подвесные балки и фундаменты для непосредственной поддержки машин или шкивов, или того и другого, должны соответствовать следующим требованиям:
(1) Требуются балки и опоры.
Машины, механизмы и шкивы должны поддерживаться и поддерживаться на месте таким образом, чтобы эффективно предотвращать ослабление или смещение какой-либо части в условиях эксплуатации.
Опорные балки, если они используются, должны быть из стали или железобетона. Балки не требуются под машинами, шкивами и механизмами или контрольным оборудованием, которые опираются на полы, при условии, что такие полы спроектированы и установлены так, чтобы выдерживать возложенную на них нагрузку.
(2) Потолочные балки, перекрытия и их опоры.
Балки перекрытий, перекрытия и их опоры должны быть рассчитаны не менее чем на сумму следующих нагрузок:
(A) Нагрузка, действующая на балки и опоры, которая должна включать в себя полный вес машины, шкивов, контроллера, регулятора и любого другого оборудования вместе с той частью пола машинного помещения, если таковая имеется, опирающейся на них.
(B) Удвоенная сумма натяжений всех стальных канатов, поддерживающих кабину, проходящих через шкивы или барабаны, поддерживаемые балками, при номинальной нагрузке в кабине.
(3) Фундаменты, балки и полы для механизмов и шкивов, не расположенных непосредственно над шахтой.
Для машин и шкивов, расположенных ниже или по бокам подъемника, фундамент для машин и шкивов и их опор должен быть рассчитан на выдерживание следующих нагрузок:
(A) Фундамент должен выдерживать общий вес машины, шкивов и другого оборудования, а также пола, если таковой имеется.
(B) Балки шкивов и фундаментные болты должны выдерживать двойную вертикальную составляющую натяжения всех подъемных канатов, проходящих через шкивы или барабаны на фундаменте или балках, за вычетом веса машины или шкивов.
(C) Балки шкивов и фундаментные болты должны выдерживать двойную горизонтальную составляющую, если таковая имеется, натяжения всех подъемных канатов, проходящих через шкивы или барабаны на фундаменте или балках.
(D) Фундамент должен выдерживать удвоенный опрокидывающий момент, если таковой имеется, создаваемый натяжением всех подъемных канатов, проходящих через шкивы или барабаны на фундаменте или балках.
(4) Крепление машин и оборудования к балкам, фундаментам или перекрытиям.
(A) Потолочные балки и перекрытия.
Машины или оборудование должны быть закреплены на верхних балках или перекрытиях и опираться на них.
ИСКЛЮЧЕНИЯ:
1. Вторичные или отклоняющие шкивы тяговых подъемников.
2. Устройства и их принадлежности для ограничения или замедления скорости автомобиля.
(B) Балки или фундаменты, поддерживающие механизмы и шкивы, расположенные не непосредственно над шахтой.
Машины и шкивы, расположенные ниже или с одной стороны шахты, должны быть прикреплены к балкам, фундаменту или полу с помощью болтов, должны соответствовать Американскому национальному стандарту для стандартных крепежных изделий с внешней и внутренней резьбой из низкоуглеродистой стали, G38.
5-1969 (ASTM A307-68) и должны иметь достаточный размер и количество, чтобы выдерживать применимые условия нагрузки, указанные в Разделе 1604.7(a)(2). Исходя из этих начальных нагрузок, общее натяжение анкерных болтов не должно превышать 12,00 фунтов./ дюйм 2 чистого сечения, а общий сдвиг не должен превышать 8 600 фунтов / дюйм 2 фактической площади в плоскости сдвига. Если болты проходят через наклонные полки конструктивных форм, головки болтов должны быть с наконечниками или со скошенными головками или должны быть снабжены стальными шайбами со скошенными углами, а гайки на наклонных фланцах должны посажены на стальные шайбы со скошенными углами.
ИСКЛЮЧЕНИЕ: Могут использоваться болты, изготовленные из стали с большей прочностью, чем указано в Американском национальном стандарте G38.5-1969 (ASTM A307-68), и максимально допустимые напряжения увеличиваются пропорционально соотношению пределов прочности.Удлинение должно соответствовать требованиям соответствующего американского национального стандарта.
(C) Веревочные сцепки для подвесных подъемных механизмов.
В тех случаях, когда подъемные канаты крепятся к конструкции над подъемником, пластины сцепки и блокирующие балки сцепки, если они используются, должны быть закреплены и установлены поверх потолочных балок, машинных балок или поверх вспомогательных балок, соединенных к полотнам подвесных балок. Сцепные пластины, блокирующие или вспомогательные балки должны быть закреплены болтами, заклепками или сваркой и должны быть расположены таким образом, чтобы натяжение подъемных канатов не вызывало непосредственного натяжения болтов или заклепок.Болты должны соответствовать Американскому национальному стандарту G38.5-1969 (ASTM A307.68), Американскому национальному стандарту для высокопрочных болтов и соединений из конструкционной стали, включая подходящие гайки и плоские закаленные шайбы, G38.6-1972 (ASTM A325-71a). ), или Спецификации американского национального стандарта для болтов из закаленной и отпущенной легированной стали для соединений конструкционной стали, G24.
19-1972 (ASTM A490-71). Заклепки должны соответствовать Американскому национальному стандарту для стальных конструкционных заклепок, G42.2-1968 (ASTM A502-65).Сварка должна соответствовать Американскому обществу сварщиков, нормам сварки конструкций D1.1. Там, где болты и заклепки подвергаются срезающим напряжениям из-за натяжения подъемных канатов, общий сдвиг не должен превышать 8 600 фунтов/кв. дюйм фактической площади в плоскости сдвига. За исключением случаев, когда используются фрикционные соединения в соответствии с Американским национальным стандартом G38.6-1972 (ASTM A325-71a) и Американским национальным стандартом G24.19-1972 (ASTM A490-71), допустимые напряжения согласно Разделу 1604.7(a) (5)(А) должен использоваться.
Напряжения в сварных швах из-за натяжения подъемных канатов не должны превышать 12 000 фунтов/дюйм2 в расчете на площадь сварного шва.
Опорные балки пластины сцепки должны быть рассчитаны на двойную сумму натяжения всех подъемных канатов, прикрепленных к пластинам сцепки.
Суммарные напряжения при растяжении плюс изгиб в пластинах сцепки и формах пластин сцепки не должны превышать 12 000 фунтов/дюйм2.
ИСКЛЮЧЕНИЕ: Болты, изготовленные из стали с большей прочностью, чем указано в американском национальном стандарте G38.5-1969 (ASTM A307-68), и максимально допустимые напряжения увеличиваются пропорционально соотношению пределов прочности. Удлинение должно соответствовать требованиям соответствующего американского национального стандарта.
(D) Литые металлы при растяжении или изгибе.
Литые металлы с удлинением менее 20% на длине 2 дюйма, которые подвергаются растяжению или изгибу, не должны использоваться для поддержки машин или оборудования с нижней стороны потолочных балок или полов.
(5) Допустимые напряжения для механизмов и шкивных балок или полов и их опор.
Удельные напряжения для всех машин и шкивов, а также перекрытий и их опор, основанные на нагрузках, рассчитанных в соответствии с Разделом 1604.
7(a)(2), не должны превышать 80 процентов, а удельные напряжения в конструкциях башни или мачты должны не превышать сто процентов разрешенных для статических нагрузок следующими стандартами:
(А) Конструкционная сталь.
Спецификация AISC по проектированию, изготовлению и монтажу металлоконструкций для строительства.
(B) Железобетон.
Строительные нормы и правила для железобетона ANSI A89.1 (ACI 318).
Если напряжения, вызванные нагрузками, отличными от подъемных нагрузок, опирающихся на балки или пол, превышают напряжения, вызванные подъемными нагрузками, можно использовать 100% допустимых напряжений.
(b) Настил над шахтой.
Если грузоподъемный механизм установлен наверху шахты, необходимо предусмотреть сплошной пол для технического обслуживания, осмотра и смазки.Пол должен быть из 2-дюймовых досок или аналогичного материала, защищенных от перемещения перилами, установленными со всех открытых сторон. Там, где грузоподъемная машина расположена в нижней части шахты, должен быть обеспечен соответствующий доступ для обслуживания, осмотра и смазки верхней катушечной головки и шкивов.
02.2021
01.2022
01.2022
01.2022
05.2019
08.2019