Рекомендации по снижению глубины промерзания грунта
Главная / Утепление дома / Глубина промерзания грунта
Для повышения температуры пола первого этажа желательно повышать теплозащитные свойства наружных стен. Необходимо также, чтобы цоколь имел достаточные теплозащитные характеристики. Это имеет особенно большое значение при полах, расположенных непосредственно на грунте или бетонной подготовке. Таким путем можно исправить ошибки теплоизоляции фундамента или ее отсутствие в пучинистых грунтах, когда деревянные дома деформируются, а на кирпичных стенах образуются трещины.
Этот довольно недорогой метод позволяет сделать пучинистые грунты непромерзаемыми или малопромерзаемыми, не выкапывая их на всю глубину фундамента.
Чтобы защитить Фундамент, на дно траншеи глубиной 40— 50 см отрытой по периметру дома, насыпают слой крупного песка толщиной 20 см. Если дом построен на торфяных, болотистых почвах или в месте с высоким уровнем грунтовых вод, на дно вначале укладывают слой геотекстиля для предотвращения заиливания, затем дренажный слой толщиной не менее 10 см (щебень фракции 5—20 мм), а уже сверху него — песок.
По периметру траншеи в этом случае полезно устроить дренажную канаву. Геоткань должна выходить на поверхность по краю отмостки или дренажа.
В любом случае верхний слой насыпают с небольшим уклоном от стены фундамента (1:20), утрамбовывают и на него укладывают плиты ЭППС. При глубине промерзания грунта 1,5 м рекомендуемая ширина теплоизоляции 1,2— 1,4 м, толщина — 100 мм.
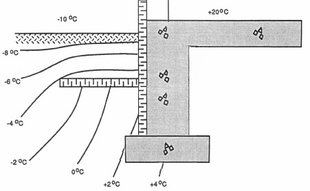
Уровень потерь тепла через наружные углы значительно превышает теплопотери через прямолинейные участки, поэтому в углах толщина слоя утеплителя должна быть примерно в полтора раза больше, чем вдоль стен. Сверху утеплитель засыпают слоем песка толщиной не менее 30 см и устраивают отмостку (рис. 1). Таким способом удается полностью устранить промерзание грунта вблизи фундамента дома и обеспечить его неплохую теплоизоляцию.
Вместо укладки пенополистирольных плит можно устроить по периметру здания теплую отсыпку, например шлаком, керамзитом, пенопластовой крошкой и т. п. Для исключения намокания утеплители могут использоваться в целлофановых мешках в виде матов.
Также с целью уменьшения глубины промерзания грунта следует предусматривать задернение участка и посадку кустарниковых насаждений, которые аккумулируют отложения снега.
Рис 1. Теплоизоляция грунта вокруг здания 1 — гидроизоляция фундамента; 2 — геотекстиль, 3 — утеплитель; 4 — песок; 5 — щебень; 6 — отмостка; 7 — дренажная труба
Приклеивание плит из пенополистирола следует начинать снизу, укладывая плиты горизонтально в один ряд. Работа должна проводиться в сухую, погоду при температуре воздуха не ниже 5 °С. Для приклеивания плит применяют цементно-песчаный раствор, холодный битум на водной основе, битумную мастику МБК-Г-75, клей для пенопласта «Церезит СТ-85» и другие клеящие составы на полиуретановой, цементной или акриловой основе, не содержащие органических растворителей. Мастики и клеи, содержащие растворители, использовать для крепления пенопластов нельзя.
Следующий ряд плит устанавливается встык к уже приклеенному нижнему ряду. Не допускается повторный монтаж приклеенных плит, а также изменение положения плиты по прошествии нескольких минут после приклеивания.
В случае низкой несущей способности стены (старая штукатурка шелушится или отваливается при слабых ударах молотка) плиты дополнительно крепятся при помощи дюбелей. Диаметр головки дюбеля для крепления пенополистирола должен составлять не менее 60 мм. Длина части дюбеля, которая находится в углублении стены, равна: для стен под штукатурку — 6 см, для стен из пустотелого керамического кирпича и легкого бетона — 9 см. Количество связующих элементов составляет 4—6 шт/м2, на угловых участках — 8 шт./м2.
Армирующая сетка накладывается через 3 дня после приклеивания пенополистирола (на это время следует обеспечить защиту пенополистирола от прямого воздействия солнечных лучей). Клей наносится слоем толщиной 3 мм от угла здания. Сетка прикладывается к свежему слою клея, при этом следует оставить за углом 15 см сетки, которые потом нужно загнуть и утопить на другой стороне угла. Нахлест соседних листов сетки должен составлять 10 см.
Угловые участки теплоизоляционных плит у оконных проемов усиливаются кусками сетки размером 20×35 см.
Углы перед наложением сетки должны предохраняться от повреждений алюминиевыми уголками. Выравнивающий штукатурный слой должен наноситься не ранее чем через 3 дня после наложения сетки. Работы должны проводиться в ясную и безветренную погоду при температуре 5—25 °С. Следующий слой штукатурки наносится методом «мокрым на мокрое», т. е укладывается, когда нижний слой еще не схватился.
Как утеплять грунт и предотвратить морозное пучение почвы
Морозное пучение грунтов представляет серьезную опасность всем строениям, опирающимся на грунт. Особенно страдают от вспучиваниия малоэтажные дома, легкие конструкции, дороги. Пучение возникает вследствие замерзания воды. Расширяясь, грунт выдавливает из себя конструкции, деформирует их, уровень почвы при этом поднимается.
Какие силы действуют на строения
На строения заглубленные в почву воздействуют несколько разнонаправленных усилий:
- нормальные — направленые снизу вверх на подошву конструкции,
- перпендикулярные – действуют в горизонтальной плоскости,
- касательные – силы трения при поднятии или опускании грунтов.

Величина усилий воздействия зависит от степени увлажненности грунтов, их состава, может весьма различаться, по длине даже одного фундамента. Это только увеличивает опасность, так как происходит неравномерное выдавливание или изгибание конструкции, что приводит к ее разлому.
Какие грунты пучат
На территории России до 80% площадей составляют пучащие грунты. Поэтому проблема борьбы с морозным пучением актуальна для ранее построенных зданий без надлежащего утепления земли прилегающей к фундаменту.
К пучению склонны все грунты содержащие в себе глину – глины, сугленки, супеси, пески с пылевато-глинистыми частицами. Именно глина содержит в себе связную воду. К непучащим относятся только крупные и средние пески.
Характерные повреждения – трещины в фундаментах и стенах, перекос дверных и оконных проемов, вспучивание дорожек с невозможностью открыть дверь, перекос легких конструкций возле дома. В худшем случае – разрушение стен.
Утепление грунта – основной метод борьбы с пучением
Основной метод борьбы с морозным пучением почвы заключается в утеплении грунта.
Листы теплоизолятора создают повышенное сопротивление тепловому потоку, в результате холод, идущий с поверхности не сможет заморозить слои под утеплителем, так как туда будет постоянно поступать тепло с земли, из здания через фундамент.
Ранее применяемые мероприятия по засыпке конструкций песчаной подушкой толщиной до 0,5 метра, с ограждением ее холстом против заиливания, с отводом воды дренажами, можно считать полезными и в дополнение к современному утеплению грунта.
Оптимальным утеплительным материалом, способным находиться в грунте в незащищенном состоянии является экструдированный пенополистирол. Он достаточно крепкий и не впитывает воду. Применяются марки с плотностью 35 кг/м куб. Для утепления под дорогами, по которым движется автомобиль, – 50 кг/м куб.
Размеры утеплителя
Какая толщина утеплителя необходима для эффективного утепления грунта? Согласно рекомендациям специалистов, проводивших тепловые расчеты и основываясь на опыте эксплуатации утепленных отмосток возле домов, минимальная толщина утеплителя экструдированный пенополистирол равна 50 мм.
Но вокруг углов здания (на протяжении 2 м от угла), где суммируется холод, нужно двойная толщина.
Рекомендуется, чтобы ширина утепления положенному по уровню поверхности почвы была не меньше чем глубина промерзания . Это обеспечит достаточную ширину полосы с положительной температурой. Но типовыми конструкциями мелкозаглубленных утепленных фундаментов предусматривается закладка горизонтальной теплоизоляции на уровне подошвы фундамента — 0,4 — 0,5 метра заглубления, при этом ширина полосы утепления значительно уже и определяется расчетом. Широкий же котлован поверху засыпается обратно не пучащим мелким материалом.
Конструкция теплоизоляции
Листы утеплителя экструдированый пенополистирол должны соединяться между собой в паз, их необходимо укладывать вплотную к утеплению фундамента.
Полоса укладывается с наклоном в 2 – 3% от фундамента, что бы обеспечивался сток воды от дома. Часто по краю утепления в грунте укладывается и дренаж, который отводит воду от фундамента.
Делается траншея глубиной 0,5 – 0,6 метра. Дно траншеи засыпается песком 10 – 20 см толщиной, которым формируется и уклон в сторону от дома.
На песок укладываются листы экструдированного пенополистирола, накрываются гидроизолятором. Утеплитель засыпается песчаной подушкой толщиной минимум 20см. Поверху на подушку укладываются штучный материал для дорожек, которым оформляется отмостка вокруг дома. Бетонировать отмостку не рекомендуется, ввиду ненадежности такой отделки.
Утепление грунта под легкими пристройками и дорогами
Очень часто необходимо утеплять грунт под всякого рода пристройками к дому – верандой, террасой, лестницей с крыльцом, подъездной дорожкой к гаражу и т.п. Эти все строения нуждаются в защите от морозного пучения. Утепление грунта производится по аналогии, как и возле фундамента. Но в данном случае строения не отапливаются, замораживаются зимой, поэтому грунт нужно утеплять под всей их площадью.
Делается котлован на глубину до 0,6 метров от подошвы конструкции и шириной большей на глубину промерзания в каждую сторону (расчетное уширение).
На дно котлована укладывается песчаная подсыпка, которой и формируется сток воды в нужную сторону (обычно от центра конструкции). Листы утеплителя укладываются на подсыпку, накрываются гидроизоляционным материалом, сверху делается песчано-гравийная подсыпка толщиной от 300 мм, которой формируется подушка для перераспределения точечных давлений. Иногда с этой целью закладываются готовые ж/б блоки, или делается заливка легкого фундамента.
Термоизоляция трубопроводов
Обычно трубопроводы утепляют скорлупой из пенополистирола экструдированного. Но этот метод плох тем, что если в трубопровод перестанет поступать теплая вода (энергия), то он все равно замерзнет в замороженном грунте, какой бы толщины скорлупа не была.
Трубопровод заложенный не глубоко (ниже половины глубины промерзания) можно обогреть энергией земли, если утеплить целый участок грунта по аналогии с приведенными выше примерами.
Полоса утеплителя закладывается на половине глубины от расположения трубопровода, а ширина листов должна быть расчетной.
Но целесообразность таких действий по сравнению с глубоким расположением трубопровода должна определяться расчетом, впрочем, надежней всегда располагать трубопровод ниже глубины промерзания грунтов. Ширину траншеи можно немного уменьшить, если сделать из утеплителя полукороб – с боковыми гранями небольшой высоты.
Утепление грунтов в последнее время получило самое широкое распространение, и являются основным способом предотвращения воздействия морозного пучения на строения.
Как предотвратить замерзание почвы зимой? – Теплицы Planta
Поддержание температуры почвы в морозные зимние месяцы может стать серьезной проблемой для многих заядлых садоводов, даже для тех, кто выращивает в теплице. К сожалению, в мерзлой почве ваши растения могут бороться за выживание до сбора урожая.
Но с небольшой сезонной подготовкой и несколькими творческими приемами, , вы можете поддерживать оптимальную температуру почвы и гарантировать, что Ваша оранжерея будет цвести всю зиму.
Одним из лучших решений для сохранения температуры почвы является ее изоляция от промерзшей земли на зиму. Используя приподнятые грядки и горшки, ваша почва будет легче дренироваться и нагреваться намного быстрее, чем при посадке прямо в землю.
В качестве дополнительного бонуса приподнятые грядки и горшки помогут сохранить прохладу почвы даже в жаркие летние месяцы.
Предварительный прогрев почвы
Простой способ правильно начать зимний сезон — предварительно прогреть почву. Используя темное покрытие, такое как черный пластиковый брезент, вы можете удерживать тепло от солнца и сохранять почву красивой и теплой. Эта умная тактика не только помогает поглощать тепло и влагу, но и сохраняет почву достаточно теплой для легкой пересадки и более высокой скорости прорастания.
Поскольку ночи становятся холоднее, вы можете продолжать использовать это в качестве быстрого решения, чтобы разогреть свои грядки и стимулировать рост значительно после окончания обычного посевного сезона.
Добавьте слой мульчи на грядкиНемного мульчи поможет защитить почву от мороза. Добавление слоя органического вещества поверх ваших грядок помогает сохранить влагу, обеспечивает изоляцию и, что наиболее важно, может предотвратить образование льда. Легкая мульча, которая не уплотняет почву, а действует как естественное покрывало на земле, дает наилучшие результаты.
Мы рекомендуем укладывать толстый слой мульчи на грядки сразу после первых сильных заморозков.
Некоторые из лучших натуральных материалов, которые можно использовать для изоляции почвы, включают:
- Солома
- Сосновые иглы
- Древесная щепа
- Опавшие листья
- Кора
- Компост
Акцент на зимний полив
Ваши привычки полива в зимние месяцы могут сильно повлиять на состояние почвы и, как следствие, на здоровье вашего сада.
Влажная почва может удерживать значительно больше тепла, чем сухая. Тем не менее очень важно поливать свой сад в подходящее время. Для достижения наилучших результатов рекомендуется сделать следующее:
- Тщательно полейте свой тепличный сад до первых заморозков: Увлажняя почву при температуре выше нуля, она сможет удерживать тепло до того, как наступят зимние холода.
- Поливайте свой сад в теплице в течение дня : В преддверии зимы вы должны планировать поливать свой сад, когда светит солнце. Таким образом, ваша почва сможет удерживать больше тепла и выделять влагу и тепло в течение всего вечера.
Ни для кого не секрет, что богатая питательными веществами почва необходима для процветания тепличного сада. Но знаете ли вы также, что здоровая почва может предотвратить замерзание ваших грядок? Использование высококачественной почвы, богатой органическими веществами и питательными веществами , помогает поддерживать необходимое количество влаги в почве и снижает скорость испарения.
Если вы не уверены в здоровье вашей почвы и уровне питательных веществ, мы рекомендуем провести быстрый тест почвы, прежде чем добавлять какие-либо дополнительные добавки.
Сохраняйте тепло почвы с помощью теплицы
Если вы объедините эти рекомендации с качественной зимней теплицей, ваша почва без проблем будет впитывать солнце и обеспечивать достаточное количество тепла для ваших растений, чтобы они процветали в самые холодные зимние месяцы.
Что вы делаете зимой, чтобы земля не замерзла? Будем рады услышать ваши рекомендации! Дайте нам знать ваши мысли в разделе комментариев ниже.
Почему теплицы Planta?- Ветроустойчивость до 100 км/ч (узнайте больше о том, как наши теплицы выдерживают воздействие высокогорного климата).
- Выдерживает снеговую нагрузку от до 98 фунтов на квадратный фут (480 кг/кв.м).
- Изготовлен из прочной оцинкованной стальной рамы.
- Панели из поликарбоната обеспечивают 100% защиту от ультрафиолетовых лучей.
- Теплица Sungrow имеет форму колокола — позволяет ветру, снегу и граду соскальзывать с боков.
- Расширяемый (модели Sungrow, Sigma и Farmer могут быть увеличены более чем на 100 футов)
- Сделано в Европе и исключительно импортируется
- Необслуживаемый
Задавайте вдумчивые вопросы, делитесь полезными советами или высказывайте слова поддержки другим владельцам теплиц.
Включите JavaScript для просмотра комментариев с помощью Disqus.
Избегайте обслуживания Кошмар замороженных труб
Прошлой зимой мы участвовали в онлайн-дискуссиях о замораживании труб и изоляции. Мы подчеркнули, что лучший способ избежать проблем с замерзанием – это уложить трубы в русло и наклон, чтобы в промежутках между водопользованиями в трубах оставался только воздух.
На ум приходят некоторые ситуации, требующие изоляции:
- Неглубокая канализационная линия дома к септиктенку, проходящая под тротуаром или дорожкой, которая остается открытой на зиму
- Канализационные линии между несколькими резервуарами для сточных вод, такими как последовательно соединенные септиктенки или септиктенк с насосным резервуаром или фильтрующим материалом
- Там, где линия подачи проходит от септика под подъездной дорогой или в других местах, где топография или почва ограничивают глубину, на которую можно закопать трубу
- Канализационные соединения, выходящие из передвижных домов (Как часто вам приходится залезать под передвижной дом, чтобы оттаять трубы?)
- Вставьте трубу в большую трубу для создания изолирующего воздушного пространства
- Используйте листы полистирола поверх трубы
- Используйте предварительно изолированную трубу с полиуретановой пеной, окружающей трубу и заключенную в полиэтиленовый рукав
ИЗУЧИТЕ СВОИ ВОЗМОЖНОСТИ
Наш предпочтительный метод — использование предварительно изолированной трубы, которая может быть немного дороже, но стоит вложений.
Это основано не только на нашем опыте в Миннесоте, но и на тех случаях, когда у нас есть системы устранения неполадок в различных областях. Мы обнаружили, что в районах с экстремальными и продолжительными холодами, таких как северная Миннесота, не хватает техники рукава. Так что, хотя это может быть эффективным в районах на юге или западе, не так много там, где мы живем. Кроме того, когда используются изоляционные листы, мы часто видим ошибку выбора материала, не рассчитанного на заглубление в почву.
В ходе обсуждения очень полезную информацию предоставили коллеги из Висконсина, Колорадо и других штатов. Хотя все согласились с тем, что предварительно изолированная труба, вероятно, была лучшим выбором, она не всегда доступна, когда и где она необходима, поэтому используется другой метод. Давайте расширим обсуждение альтернативных решений:
При использовании листов пенополистирола поверх трубопровода 1 дюйм экструдированного пенопласта с закрытыми порами высокой плотности соответствует изоляционной способности приблизительно фута почвенного покрова.
Немного другой, но похожий подход заключается в создании коробки вокруг трубопровода с использованием листов полистирола. Вокруг трубопровода между листами и трубой должно быть не менее 6 дюймов заполнителя. Толщина изоляционных листов будет зависеть от типа первоначального грунта, глубины заглубления и прогнозируемой глубины промерзания. Проверьте коды сантехники для водопроводных или канализационных труб, чтобы узнать рейтинги в вашем регионе.
ПЛАНИРУЙТЕ НА ЗИМУ
Другое предложение состоит в том, чтобы использовать нагревательные кабели в проблемных местах, таких как пересечение подъездных путей. Это включает в себя использование трубы внутри большей трубы с использованием быстроразъемных муфт Fernco или других, чтобы при необходимости новый нагревательный кабель можно было вставить в трубу. Насколько это возможно — в зависимости от глубины закапывания — также рассмотрите возможность укладки листов полистирола сверху. От себя лично, сосед Джима в северном Висконсине успешно использовал этот подход, когда его канализационная труба пересекалась от септика рядом с домом под подъездной дорогой к насосной цистерне. До этого решения трубопровод периодически замерзал.
Еще одно предложение «труба в трубе» от установщика заключалось в том, чтобы обернуть канализационную трубу пузырчатой пленкой и клейкой лентой внутри большей трубы. Проблема с этим подходом заключается в том, что мы не уверены, обеспечивает ли пузырчатая пленка большую изоляционную ценность, чем просто использование двойной трубы, и все ли продукты с пузырчатой пленкой обеспечивают одинаковую изоляционную ценность.