| Название конференции | Статус конференции | Место и время проведения | Название докладов, тезисов, сообщений и публикаций материалов | Ф.И.О. авторов МГТУ |
|---|---|---|---|---|
| Актуальные проблемы современной науки, техники и образования: 73-ая международная научно-техническая конференция | международная | г. Магнитогорск, ФГБОУ ВПО «МГТУ» им. Г.И.Носова, 20-24 апреля, 2015 г. |
«Новая формула для определения прочности объемно сжатого бетона трубобетонных колонн» | Кришан А.Л. профессор, доктор техн. наук Заикин А.И. канд. техн. наук, профессор каф. ПЗиСК Мухаметзянов А.И. (студ. 3 курса, гр. СБ-12-2) Величко Д.В. (студ. 4 курса, гр. СБ-11-2) |
| Актуальные проблемы современной науки, техники и образования: 73-ая международная научно-техническая конференция | международная | г. Магнитогорск, ФГБОУ ВПО «МГТУ»им. Г.И.Носова, 20-24 апреля, 2015 г. |
«К определению расчетного сопротивления сжатию высокопрочной арматуры» | Кришан А.Л. профессор, доктор техн. наук Зайцева Е.П. (студ. 5 курса, гр. СК-10) Ситдикова А.Р. (студ. 5 курса, гр. СК-10) Карпов Д.Ю. (магистрант, гр. ССм-13-2) |
| Актуальные проблемы современной науки, техники и образования: 73-ая международная научно-техническая конференция | международная | г. Магнитогорск, ФГБОУ ВПО «МГТУ» им. Г.И.Носова, 20-24 апреля, 2015 г. |
«Силовое сопротивление центрально сжатых трубобетонных колонн квадратного поперечного сечения со спиральным армированием» | Астафьева М.А. аспирант, ассистент каф. ПЗиСК (до 35 лет) Дистанов Р.Ф. (студ. 6 курса, заоч. ) Калинчук Т.В.(студ. 6 курса, заоч.) Конькова Е.Р. (студ. 6 курса, заоч.) |
| Актуальные проблемы современной науки, техники и образования: 73-ая международная научно-техническая конференция | международная | г. Магнитогорск, ФГБОУ ВПО «МГТУ» им. Г.И.Носова, 20-24 апреля, 2015 г. |
«Трубобетонные колонны круглого поперечного сечения со спиральной арматурой» | Астафьева М.А. аспирант, ассистент каф. ПЗиСК (до 35 лет) Аблякимов А.К. (студ. 6 курса, заоч.) Оганисян О.Б. (студ. 6 курса, заоч.) |
| Актуальные проблемы современной науки, техники и образования: 73-ая международная научно-техническая конференция | международная | г. Магнитогорск, ФГБОУ ВПО «МГТУ» им. Г.И.Носова, 20-24 апреля, 2015 г. ![]() |
«Прочность и жесткость неразрезных сталебетонных балок» | Сагадатов А.И. канд. техн. наук, доцент каф. ПЗиСК (до 35 лет) Назаренко Д.И. (магистрант, гр. ССм-13-2) Хабиров И.Р. (студ. 5 курса, гр. СК-10) Фазулзянов Р.И. (студ. 5 курса, гр. СК-10) |
| Актуальные проблемы современной науки, техники и образования: 73-ая международная научно-техническая конференция | международная | г. Магнитогорск, ФГБОУ ВПО «МГТУ» им. Г.И.Носова, 20-24 апреля, 2015 г. |
«Экспериментальные исследования внецентренно сжатых трубобетонных колонн квадратного поперечного сечения» | Сабиров Р.Р. аспирант, ассистент каф. ПЗиСК (до 35 лет) Алисейчик С.А. (студ. 5 курса, гр. СК-10) Райкова К.И. (студ. 4 курса, гр. СБ-11-2) |
| Актуальные проблемы современной науки, техники и образования: 73-ая международная научно-техническая конференция | международная | г. Магнитогорск, ФГБОУ ВПО «МГТУ»им. Г.И.Носова, 20-24 апреля, 2015 г. |
«Сопоставление результатов экспериментальных и теоретических исследований на сжатие трубобетонных элементов с высокопрочной стержневой арматурой» | Сабиров Р.Р. (до 35 лет) Кузнецова М.В. (студ. 3 курса, гр. СБ-12-2) Сосна В.О. (магистрант, гр. ССм-13-2) Сугурова А.М. (магистрант, гр. ССм-13-2) |
| Актуальные проблемы современной науки, техники и образования: 73-ая международная научно-техническая конференция | международная | г. Магнитогорск, ФГБОУ ВПО «МГТУ» им. Г.И.Носова, 20-24 апреля, 2015 г. |
«Прочность коротких трубобетонных колонн квадратного поперечного сечения» | Мельничук А.С. канд. техн. наук, ст. преп. каф. ПЗиСК (до 35 лет) |
| Актуальные проблемы современной науки, техники и образования: 73-ая международная научно-техническая конференция | международная | г. Магнитогорск, ФГБОУ ВПО «МГТУ»им. Г.И.Носова, 20-24 апреля, 2015 г. |
«Способ определения К1 бетона» | Варламов А.А. канд. техн. наук, профессор каф. ПЗиСК Савина Д.Г. (студ. 5 курса, гр. СК-10) Коновалова А.Н. (студ. 5 курса, гр. СК-10) |
| Актуальные проблемы современной науки, техники и образования: 73-ая международная научно-техническая конференция | международная | г. Магнитогорск, ФГБОУ ВПО «МГТУ» им. Г.И.Носова, 20-24 апреля, 2015 г. |
«Методика исследования деформации бетона» | Варламов А.А. канд. техн. наук, профессор каф. ПЗиСК Яковлева И.С. (студ. 5 курса, гр. СК-10) Майрина А.Г. (студ. 5 курса, гр. СК-10) |
| Актуальные проблемы современной науки, техники и образования: 73-ая международная научно-техническая конференция | международная | г. Магнитогорск, ФГБОУ ВПО «МГТУ»им. Г.И.Носова, 20-24 апреля, 2015 г. |
«Результаты испытания платформенного стыка» | Гаврилов В.Б. канд. техн. наук, доцент каф. ПЗиСК Гусева М.В. (студ. 5 курса, гр. СК-10) Шестопалова К.Д. (студ. 5 курса, гр. СК-10) |
| Актуальные проблемы современной науки, техники и образования: 73-ая международная научно-техническая конференция | международная | г. Магнитогорск, ФГБОУ ВПО «МГТУ» им. Г.И.Носова, 20-24 апреля, 2015 г. |
«Исследование узлов металлодеревянных конструкций» | Гаврилов В.Б. канд. техн. наук, доцент каф. ПЗиСК Мамонтов А.В. (студ. 5 курса, гр. СК-10) Курбангалеев А.А. (студ. 5 курса, гр. СК-10) Димитрова И.А. (студ. 4 курса, гр. СБ-11-2) Ступак А.С. (студ. 4 курса, гр. СБ-11-2) |
| Актуальные проблемы современной науки, техники и образования: 73-ая международная научно-техническая конференция | международная | г. Магнитогорск, ФГБОУ ВПО «МГТУ» им. Г.И.Носова, 20-24 апреля, 2015 г. |
«Результаты испытаний по определению прочности стеклопластиковых труб в радиальном направлении» | Наркевич М.Ю. доцент, канд. техн. наук (до 35 лет) |
| Актуальные проблемы современной науки, техники и образования: 73-ая международная научно-техническая конференция | международная | г. Магнитогорск, ФГБОУ ВПО «МГТУ» им. Г.И.Носова, 20-24 апреля, 2015 г. |
«Влияние однократных разгрузок на скорость роста усталостных трещин и срок службы элементов металлических конструкций» | Емельянов О. В.канд. техн. наук, профессор каф. ПЗиСК Пелипенко М.П. ассистент каф. ПЗиСК (без уч. степ., до 35 лет) |
| Актуальные проблемы современной науки, техники и образования: 73-ая международная научно-техническая конференция | международная | г. Магнитогорск, ФГБОУ ВПО «МГТУ» им. Г.И.Носова, 20-24 апреля, 2015 г. |
«К вопросу о справедливости применения формул ЛУМР при прогнозировании срока службы и надежности элемента металлоконструкций на стадии развития усталостных трещин» | Емельянов О.В. канд. техн. наук, профессор каф. ПЗиСК |
| Актуальные проблемы современной науки, техники и образования: 73-ая международная научно-техническая конференция | международная | г. Магнитогорск, ФГБОУ ВПО «МГТУ» им. Г.И.Носова, 20-24 апреля, 2015 г. |
«Результаты исследования сталебетонной плиты» | С. А. Нищетадоцент, канд. техн. наук |
| Актуальные проблемы современной науки, техники и образования: 73-ая международная научно-техническая конференция | международная | г. Магнитогорск, ФГБОУ ВПО «МГТУ» им. Г.И.Носова, 20-24 апреля, 2015 г. |
«Определение механических свойств металлоконструкций неразрушающими методами контроля» | Э.Л. Шаповалов доцент, канд. техн. наук |
| Актуальные проблемы современной науки, техники и образования: 73-ая международная научно-техническая конференция | международная | г. Магнитогорск, ФГБОУ ВПО «МГТУ» им. Г.И.Носова, 20-24 апреля, 2015 г. |
«Исследование платформенного стыка блочно-панельного многоэтажного жилого здания» | Варламов А.А. канд. техн. наук, профессор каф. ПЗиСК Кузнецова С.В.(ОАО «МГрП») |
| Актуальные проблемы современной науки, техники и образования: 73-ая международная научно-техническая конференция | международная | г. Магнитогорск, ФГБОУ ВПО «МГТУ» им. Г.И.Носова, 20-24 апреля, 2015 г. |
«Определение усилий в колоннах монолитного 16-этажного здания в г. Магнитогорске» | Варламов А.А. канд. техн. наук, профессор каф. ПЗиСК Сухова Ю.В. (ОАО «МГрП») Мясников А.Л. (ООО «Магнитострой»). |
| Актуальные проблемы современной науки, техники и образования: 73-ая международная научно-техническая конференция | международная | г. Магнитогорск, ФГБОУ ВПО «МГТУ» им. Г.И.Носова, 20-24 апреля, 2015 г. |
«Оценка долговечности железобетонных конструкций» | Варламов А. А.канд. техн. наук, профессор каф. ПЗиСК Добрецкий А.А. (ОАО «Магнитогорский Гипромез») |
| Актуальные проблемы современной науки, техники и образования: 73-ая международная научно-техническая конференция | международная | г. Магнитогорск, ФГБОУ ВПО «МГТУ» им. Г.И.Носова, 20-24 апреля, 2015 г. |
«Проблемы архитектурной подготовки бакалавров по направлению «Строительство» | Чикота С.И. канд. техн. наук, профессор каф. ПЗиСК Корниенко В.Д. аспирант, ассистент каф. ПЗиСК (без уч. степ., до 35 лет) |
| Актуальные проблемы современной науки, техники и образования: 73-ая международная научно-техническая конференция | международная | г. Магнитогорск, ФГБОУ ВПО «МГТУ» им. Г.И.Носова, 20-24 апреля, 2015 г. |
«Современные тенденции формирования городской среды» | Чикота С. И.канд. техн. наук, профессор каф. ПЗиСК Корниенко В.Д. аспирант, ассистент каф. ПЗиСК (без уч. степ., до 35 лет) |
| Актуальные проблемы современной науки, техники и образования: 73-ая международная научно-техническая конференция | международная | г. Магнитогорск, ФГБОУ ВПО «МГТУ» им. Г.И.Носова, 20-24 апреля, 2015 г. |
«Модель развития навыков командной работы у студентов, обучающихся по направлению «Строительство» и её структурные компоненты» | Шахмаева К.Е. ст. преподаватель каф. ПЗиСК (без уч. степ., до 35 лет) |
| Актуальные проблемы современной науки, техники и образования: 73-ая международная научно-техническая конференция | международная | г. Магнитогорск, ФГБОУ ВПО «МГТУ» им. Г.И.Носова, 20-24 апреля, 2015 г. |
«Оценка качества состояния городской среды г. Магнитогорска» |
Колкатаева Н.А. канд. техн. наук, доцент каф. ПЗиСК (до 35 лет) |
| Актуальные проблемы современной науки, техники и образования: 73-ая международная научно-техническая конференция | международная | г. Магнитогорск, ФГБОУ ВПО «МГТУ» им. Г.И.Носова, 20-24 апреля, 2015 г. |
«Новая система каркасно-панельных зданий» | Варламов А.А. канд. техн. наук, профессор каф. ПЗиСК Тверской С.Ю. (ОАО «МГрП») Сухова Ю.В. (ОАО «МГрП») Бурак М.К. (ОАО «МГрП») |
| Архитектура. Строительство. Образование: Всероссийская конференция по итогам X Всероссийского конкурса выпускных квалификационных работ по специальности «Проектирование зданий» | всероссийская | г. Волгоград, ФГБОУ ВПО «ВолГАСУ», 22-24 апреля, 2014 г. (сборник – 2015 г.) |
«О подготовке бакалавров по профилю «Проектирование зданий» (С. 12-17) |
Чикота С.И. канд. техн. наук, профессор каф. ПЗиСК |
| Актуальные проблемы архитектуры, строительства и дизайна: ежегодная международная студенческая научная конференция | международная | г. Магнитогорск, ФГБОУ ВПО «МГТУ» им. Г.И.Носова, ИСАиИ 23-24 апреля, 2015 г. |
«Изучение грунтов при проектировании высотных зданий» (С. 70-72) |
Сабиров Р.Р. аспирант, ассистент каф. ПЗиСК (до 35 лет) Белокурова В.М. (студ. 5 курса, гр. СО-10) Смольникова П.В. (студ. 5 курса, гр. СО-10) |
| Актуальные проблемы архитектуры, строительства и дизайна: ежегодная международная студенческая научная конференция | международная | г. Магнитогорск, ФГБОУ ВПО «МГТУ» им. Г.И.Носова, ИСАиИ 23-24 апреля, 2015 г. |
«Причины провалов и оседание земной поверхности в карстовых районах» (С. 83-86) |
Сабиров Р.Р. аспирант, ассистент каф. ПЗиСК (до 35 лет) Назаренко Д.И. (магистрант, гр. ССм-13-2) |
| Актуальные проблемы архитектуры, строительства и дизайна: ежегодная международная студенческая научная конференция | международная | г. Магнитогорск, ФГБОУ ВПО «МГТУ» им. Г.И.Носова, ИСАиИ 23-24 апреля, 2015 г. |
«Оценка влияния нового строительства и мероприятия по защите существующих зданий и сооружений» (С. 90-92) |
Сабиров Р.Р. аспирант, ассистент каф. ПЗиСК (до 35 лет) Назаренко Д.И. (магистрант, гр. ССм-13-2) |
| Актуальные проблемы архитектуры, строительства и дизайна: ежегодная международная студенческая научная конференция | международная | г. Магнитогорск, ФГБОУ ВПО «МГТУ» им. Г.И.Носова, ИСАиИ 23-24 апреля, 2015 г. |
«Основные принципы построения расчетной модели сборно-монолитного каркаса с плоским перекрытием» (С. 154-156) |
Кришан А.Л. профессор, доктор техн. наук Никитина О.В. аспирант, ассистент каф. СПиАД (до 35 лет) Сосна В.О. (магистрант, гр. ССм-13-2) Сугурова А.М. (магистрант, гр. ССм-13-2) |
| Актуальные проблемы архитектуры, строительства и дизайна: ежегодная международная студенческая научная конференция | международная | г. Магнитогорск, ФГБОУ ВПО «МГТУ» им. Г.И.Носова, ИСАиИ 23-24 апреля, 2015 г. |
«Современное применение сборно-монолитных конструкций» (С. 156-158) |
Кришан А.Л. профессор, доктор техн. наук Никитина О.В. аспирант, ассистент каф. СПиАД(до 35 лет) Сосна В.О. (магистрант, гр. ССм-13-2) Сугурова А.М. (магистрант, гр. ССм-13-2) |
| Актуальные проблемы архитектуры, строительства и дизайна: ежегодная международная студенческая научная конференция | международная | г. Магнитогорск, ФГБОУ ВПО «МГТУ» им. Г.И.Носова, ИСАиИ 23-24 апреля, 2015 г. |
«Несостоятельность метода определения термического сопротивления ограждающих конструкций с использованием тепловизора» (С. 164-166) |
Э.Л. Шаповалов доцент, канд. техн. наук Машкина О.А. (магистрант, гр. ССм-13-2) Тигарев Д.С. |
| Архитектура. Строительство. Образование: ежегодная международная научно-практическая конференция | международная | г. Магнитогорск, ФГБОУ ВПО «МГТУ» им. Г.И.Носова, ИСАиИ 24-25 апреля, 2015 г. ![]() |
«Аварийное разрушение кирпичных стен гражданских и промышленных зданий» | Нищета С.А. доцент, канд. техн. наук Нищета А.С. (ООО «ВЕЛД») Марков К.В. (ООО «ВЕЛД») |
| Архитектура. Строительство. Образование: ежегодная международная научно-практическая конференция | международная | г. Магнитогорск, ФГБОУ ВПО «МГТУ» им. Г.И.Носова, ИСАиИ 24-25 апреля, 2015 г. |
«Модель роста усталостной трещины при однократных перегрузках «растяжение» | Емельянов О.В. канд. техн. наук, профессор каф. ПЗиСК Пелипенко М.П. ассистент каф. ПЗиСК (без уч. степ., до 35 лет) |
| Архитектура. Строительство. Образование: ежегодная международная научно-практическая конференция | международная | г. Магнитогорск, ФГБОУ ВПО «МГТУ» им. Г.И.Носова, ИСАиИ24-25 апреля, 2015 г. |
«Трубобетонные колонны со стержневым армированием бетонного ядра» | Кришан А.Л. профессор, доктор техн. наук Сабиров Р.Р. аспирант, ассистент каф. ПЗиСК (до 35 лет) Назаренко Д.И. (магистрант, гр. ССм-13-2) |
А вы бы стали жить в домах из стали?
Что такое надежный дом? В каком доме реально выжить во время пожара или урагана? Профессор, доктор технических наук, главный научный сотрудник ГНЦ РФ «ЦНИИТМАШ», автор дома-сейфа и еще около 50 изобретений Эдуард КОЛПИШОН считает, что приоритетным направлением в строительстве должно стать увеличение потребления стали. Этот вывод он сделал, сравнив строительные технологии Скандинавии, России, Китая, Южной Кореи, Японии, Израиля и США.
— Так что такое надежный дом?
— Вы помните авиационную атаку башен-близнецов и Пентагона 11 сентября 2001-го? Помните, сколько времени простоял Пентагон?
— Надо полагать, дольше, чем башни? Это же Пентагон.
..
— 19 минут! Ведь что такое Пентагон? Это обычная железобетонная конструкция. И эта низкая, массивная конструкция рухнула в минуты.
— А сколько простояли близнецы?
— Один стоял 1 час 12 минут. Второй — 1,5 часа. А по нормативам должны были простоять 3 часа! Любое современное здание должно стоять до обрушения при пожаре 3 часа -чтобы люди успели выйти. Если бы близнецы простояли хотя бы 2 часа, все люди оттуда бы вышли!
— Из чего были небоскребы сделаны?
— Стальная каркасная конструкция. Но из «Боинга» пролилось большое количество авиакеросина, а в зданиях — канцелярия, столы, бумаги. Все быстро вспыхнуло. Температура пожара достигла 1100 — 1200 градусов. На такие температуры здание не было рассчитано. Нормальный обычный пожар — это около 800°. Бетон выдерживает 300°, при температуре 600° он теряет прочность. Стальная арматура при 700 — 800° также теряет прочность. Но стальная конструкция выдерживает более высокие температуры и, главное, дольше, чем железобетон! Это одно из доказательств того, что у стального строительства явные преимущества.
— В чем минусы бетона, кроме невысокой огнестойкости?
— Свойство бетона таково, что он работает только на сжатие. Как кирпич. Вот десантники лихо раскалывают кирпичи ладонью. Почему? А потому что кирпич работает только на сжатие. Его хоть о голову можно расколоть, если обеспечить изгиб и не бояться боли. То же и с бетоном. Поэтому в бетон закладывается от 3 до 10% арматуры, которая работает на растяжение и на изгиб. Без стали из бетона ничего серьезного не построишь. И в целом, от тщетных надежд на огнестойкость традиционных железобетонных конструкций, я считаю, надо отказываться.
— А минусы у стали как стройматериала есть?
— Ее недостаток — низкая стойкость против коррозии. Сталь ржавеет достаточно быстро. Вот мы видим, как по стальному мосту постоянно ползают маляры и красят его. И матросы вечно красят свои ржавые корабли. Так и строительные конструкции из низколегированных и углеродистых сталей — они все ржавеют, только в домах мы этого до поры до времени не замечаем.
Вообще, в год в мире производится 1,5 млрд тонн стали, и 2% от этого выпуска — 30 млн т в год — съедает коррозия.
— Потому и хрущевки разваливаются — из-за коррозии?
— Они и были рассчитаны на 30 — 40 лет. Начало строительства хрущевок относится к концу 1950-х — началу 1960-х годов, и сейчас они пришли в негодность — проржавели закладные элементы железобетона. Если дом будет просто железный — он тоже будет ржаветь. Ничего удивительного.
— Значит, из железобетона возможно в принципе построить хороший дом?
— Хороший дом надо делать из железобетона и нержавейки. Ту же арматуру делать из нержавеющих и огнестойких сталей. Когда возводят современный небоскреб, используют именно такую арматуру. И она стоит не 30 лет, а 100 — 150 лет.
Хорошо показали себя конструкции, в которых арматура в бетоне не внутри, а снаружи. Это и опалубка, и несущая конструкция, и если труба сделана из нержавеющей стали, то эта конструкция будет стоять 200 — 300 лет. В Китае, Японии, Эмиратах строят, используя технологию трубобетона.
— Но строить из нержавейки — это же жутко дорого!
— Кажется, что дорого. Обычная сталь стоит $1 за 1 кг, нержавейка — и $2, и $5. Это отпугивает застройщиков. К сожалению, люди недооценивают важность долговечности конструкции и величины расходов на обслуживание. Но если взять ту же Южную Корею — там все с точностью до наоборот. Там каждый уважающий себя кореец строит себе дом. Строит всю жизнь, не торопясь. Чтобы к старости иметь комфортное, надежное жилье, с магазинчиком, мастерской на первом этаже. И это все -из максимально долговечных материалов: кирпича, высококачественного бетона, нержавейки! Из них он строит дом навсегда. Чтобы и дети здесь жили — в отличие от американцев, корейцы хотят жить вместе со взрослыми детьми.
— Что включает в себя понятие «надежный дом»?
— Каждый дом — это конструкция. Она должна выдерживать собственный вес, ветер, землетрясения. Но помните ужасные разрушения на Сахалине, в Армении? Откуда они? Почему вдруг оказалось, что сооружения легко разрушаемы? Ответ прост — мало того что использовали «типовые» среднерусские конструкции, но еще и не доложили цемента, воровали, нарушали технологии строительства.
Так что надежный дом — это: конструкция, учитывающая местные и экстремальные условия, правильный выбор конструкционных материалов, соблюдение технологий. Все эти условия легче соблюдать, изготавливая секции дома, ячейки, на заводах, а на стройплощадке только собирать их. При такой технологии можно возводить высотку с темпом этаж в сутки, как китайцы.
Важнейший вопрос — теплоизоляция для поддержания комфортной температуры при минимальных затратах энергии на кондиционирование. В жару в доме должно быть прохладно, в морозы — тепло. Комфортная температура зимой зависит не от отопления. Наши соседи в Скандинавии это хорошо понимают. Норвежский, шведский, финский дом непродуваем и имеет индивидуальную систему отопления. Но что мы видим на нашем Севере! Вы видели фотографии Тикси? Смотришь на видео из Тикси — это же сплошное головотяпство. Когда котельная остановилась, все — поселок погиб. Потому что дома подключены к централизованной котельной. А на улице -48°! То же в Якутии. Но почему в условиях Крайнего Севера у нас не предусмотрены дома с локальным отоплением и высокой степенью теплозащиты? Экономия!
— То есть не на том надо экономить?
— А сейсмозона! Ответьте мне, нужен ли в сейсмозоне многоэтажный дом из сборного или даже сейсмостойкого железобетона, с большими затратами на арматуру, стены, со специальным, гасящим колебания фундаментом? Нет, совершенно не нужен.
— А какой нужен?
— В сейсмозоне нужно ставить сварные одноэтажные стальные дома, состоящие из высокопрочных ячеек заводского изготовления. Такой дом можно ставить на землю без фундамента. Он будет заякорен, чтобы его не опрокинул ураган или не обрушило в провал землетрясение, а при наводнении он всплывет, если отдать якоря.
— Вы же разработали дом-бункер на случай катаклизмов?
— По моим расчетам, человеку для комфорта нужна нора, жилая ячейка размером 3×6 м и высотой 2,5 м. Эдакий морской контейнер с внутренним объемом 45 м3. Я посчитал, что 3,5 млрд т цемента, производимого в мире сегодня, достаточно, чтобы всех нас обеспечить такими ячейками для жилья, но цемент уходит на обычные дома. Сталь, разумеется, для жилой ячейки лучше.
— Придет ураган и сдует ваш домик, как девочку Элли из страны Оз.
— Даже если сдует, он на место встанет — он тяжеленький. Если землетрясение — не развалится, благодаря высокой прочности, трещиностойкости стали при любых видах нагружения и жесткости конструкции ячеек.
Если наводнение — будет плавать. Дом-сейф объемом 45 м3 со всей начинкой будет весить тонн 15, то есть ватерлиния пройдет примерно на 1/3 высоты дома, на уровне подоконника.
— То есть это не дом, а Ноев ковчег?
— Точно. Но мы свое изобретение назвали более прозаически — «Дом-сейф». Уточню так же, что далеко не везде нужны дома-сейфы. Основная масса людей прекрасно живет в обычных жилищах.
— А если жить в стальном сейфе, то кости, наверное, не заболят.
— Но на стальной же яхте вам хорошо! На лайнере, пароме. Они внутри отделаны деревом, гипсокартоном, керамикой. Тепло, сухо. А жить полезно в сухих теплых помещениях. Все зависит от начинки дома.
И, конечно, для любого дома нужна теплоизоляция. Для стального хороши волокнистые огнеупоры, волокнистая керамика, которая делается из натуральных материалов — это песок, глина, шлак. Для примера возьмем печи с футеровкой из такой керамики. Температура в печи до 1200 градусов, но если вы приложите руку к стальному кожуху, то почувствуете лишь тепло.
У этой керамики низкая теплопроводность, высокие теплозащитные и теплоизоляционные свойства, она обеспечивает хорошую защиту прилегающих поверхностей от повреждений. Это на сегодняшний день — идеал. Благодаря такой изоляции, когда вокруг будет пожар, вы, возможно, и попотеете в своем доме, но пожар пересидите, если хватит воздуха.
— В мире принято строить безопасные ячейки?
— Уже в каждом обычном доме в Израиле есть специальное помещение безопасности. И на Рублевке они есть. Они, правда, не из стали, а из бетона. Толщина стенки такой ячейки — до 1 метра, а для стальной достаточно 10 — 12 мм. Они рассчитаны не на артобстрел или гранатометный выстрел, но от радиационного поражения или бактериальной, или химической атаки, осколочного действия мин и бомб, пулевого обстрела защитят. Они не боятся землетрясений, смерчей, торнадо, ураганов. Выдержат скорость ветра до 300 км/ч.
Такие ураганы бывают пока редко, но скорость ветра 120 км/час вероятна и в Ленобласти, и в Москве.
Почему бы и нам не подумать о ячейках безопасности? А затопления? В России ежегодно затопляется 30 тысяч поселений. Но в том же Крымске сейчас что сделали? Построили те же обычные дома. Только на пригорочке…
А ведь из стали можно строить, что угодно. Дома, ячейки, вагончики. Трейлеры — не из алюминия, как это сейчас распространено, а из стали. А баржи! По Сене когда гуляешь, тебе расскажут, что в этой барже живет, например, Ален Делон. Как комфортно! Пожил на Сене, отбуксировался и отправился пожить на Сицилию. Куда угодно. Баржа -прекрасный дом.
Вообще, из 1,5 млрд тонн мировой стали основная масса потребляется строительством. Из 35 млн т нержавеющей стали тоже 90% идет в строительство, остальное в высокие технологии, оборонную промышленность, космос.
— За счет чего нержавейка дороже?
— В ней больше легирующих элементов — это хром, никель, молибден. Любая нержавеющая сталь содержит не менее 9% хрома. Лучше, если его будет 13%. Присутствие хрома и делает сталь нержавеющей.
Вообще, составов нержавеющей стали много — это могут быть в зависимости от состава жаропрочные, хладостойкие, высокопрочные стали.
Половина мирового производства нержавеющих сталей — это 15 — 17 млн тонн — приходится на КНР. В Китае есть свой хром, молибден. Китайцы построили замечательный металлургический завод «Баошань» в Шанхае. Это одна из основ промышленной мощи страны. Там выпускают до 6 млн т нержавеющей стали в год. Мы ввозим из Китая 150 тыс. тонн нержавейки.
— Зачем ввозить из Китая, когда у нас свои заводы?
— Вся Россия производит 150 тыс. т нержавейки в год. Всего!
— Не нужна, значит.
— Наша строительная промышленность не желает потреблять нержавеющую сталь. Застройщикам почему-то это в голову не приходит. Даже по части крыш.
— Расскажите про крыши! Для Петербурга — это актуально!
— Итак, сколько служит крыша из оцинкованного железа? 10 — 15 лет. А те же американцы ставят крыши на 100 лет! Да, они раза в 3 дороже. Но и служат не 15 лет, а 100.
Крышу можно сделать из высокопрочной нержавеющей стали толщиной 0,2 мм — это в 3 раза тоньше, чем обычный кровельный лист. Что касается цены, то кровельный сверхтонкий лист из высокопрочной стали сопоставим с обычным листом толщиной до 1 мм.
— В Петербурге тоже производят сталь. Насколько она востребована?
— Есть у нас так называемая Ижорская промышленная площадка. На ней расположено несколько прекрасных заводов. Там стоит новейшее оборудование. Стоит сталепрокатный стан — на нем 600 тысяч тонн в год можно катать, 10 млн м2 стального листа 10 — 12 мм толщиной. Но все заводы на Ижорской площадке недогружены. Нет заказов. А заводы надо загружать! Чтобы производили нержавеющую сталь, а из нее лист, трубы делать, заготовки для переката на кровельный или автомобильный лист.
Застройщики и строители не используют возможности наших заводов. Якобы дорого. Но посчитаем — в строительстве жилья половина средств идет на зарплату, половина на материалы, где сталь составляет всего 3 — 5%. Применение вдвое более дорогой нержавеющей стали увеличивает расходы при строительстве лишь на 5 — 10% для конечного потребителя. Всего. Но расходы на эксплуатацию раза в полтора снизятся. А срок службы здания увеличится.
Источник: Город812
ТРУБОБЕТОН: строим в два раза быстрей, легче, экономичней, надежней. — Леонид Турчин / ЛІГА.Блоги
Классик сказал, что «квартирный вопрос нас всех испортил». К сожалению, хоть сказано это 70 лет назад, вопрос приобретения собственной жилплощади и сегодня является в любой семье проблемой номер один. И если она вовремя не решается, — под вопрос становится сохранение семьи… Жилищная проблема в наше время — основа демографических катаклизмов , она впрямую угрожает сохранению нации, поэтому ее решение — задача всей нации, при этом стоимость жилья (его доступность) — основное условие. Есть несколько составляющих, которые напрямую влияют как на стоимость, так и на сроки строительства жилого объекта (что тоже немаловажно), мы с Вами говорили об этом в предыдущих блогах (о возможности строительства социального жилья).
Сегодня я расскажу о новых строительных технологиях, которые могут снизить стоимость квадратного метра. В первую очередь, это строительство жилых зданий с применением металлокаркаса из трубобетонных элементов. Наша компания первой на Украине применила эту технологию строительства на нескольких жилых комплексах, многоуровневом паркинге и строительстве больницы, так что информация «из первых уст»*.
Я не оговорился: строительная технология на основе металлокаркаса в трубобетоне для Украины новая, хотя в Америке в металлокаркасе возводятся до 60% зданий, в Европе до 50% каркасных зданий строятся из металла, на территории СНГ, до последнего времени, о технологии трубобетона «забыли». А разработали ее …. в СССР: в 1932 году профессор Гвоздев впервые в мире опубликовал методику расчета строительства на основе трубобетонных конструкций. Казалось бы, это инженерное решение, которое позволяет в два раза снижать материалоемкость строительства (экономия!), в два-три раза сокращать сроки строительства (здание 72-этажного небоскреба в Шанхае из трубобетона сегодня возводят всего за 15 месяцев), должно стать технологической основой строительства массового жилья в СССР (особенно после войны)… Но, увы, этого не произошло.
Как всегда, плодами труда наших ученых пользуются сегодня китайцы, американцы, немцы, японцы, австралийцы,- словом, страны, в которых экономика укрепляется благодаря тому, что считается каждая копейка.
Сегодня такое время настало и для Украины.
Логично и экономически целесообразно в стране, изобилующей рудными месторождениями и металлопрокатными заводами, вести строительство с применением металлокаркаса, особенно учитывая тот факт, что экспорт металлопродукции уменьшается, и увеличение внутреннего потребления отечественной продукции для поддержания общего объема производства становится все более актуальным.
Надо помнить, что в Украине за последние десятилетия значительно сокращен объем кирпичного и каркасно-панельного домостроения. Панельное домостроение (самый быстрый и дешевый вид строительства на протяжение последних 40 лет!) сведено «на нет» за счет уменьшения количества домостроительных комбинатов с 84 в советское время до 8 производственных комбинатов сегодня.
Увеличение же монолитно-каркасного домостроения требует значительных капиталовложений на опалубку, оно зависит от погодных условий, характеризуется значительной материалоемкостью, и. как следствие, — достаточно высокой стоимостью и значительными сроками строительства.
Металлокаркасное же строительство в трубобетонном варианте обладает всеми достоинствами традиционного домостроения, но, как я уже сказал, экономичней и быстрей, как минимум в два раза! Уже поэтому строительство на основе трубобетона должно стать на поток вместо панельного домостроения!
При этом нам не нужно заново, как в советское время, нести расходы и создавать 84 новых домостроительных комбината – по этой технологии домостроительные комбинаты просто не нужны! Производство организуется непосредственно на строительной площадке, а о скорости строительства я уже упоминал.
Если говорить о конкретных показателях, эта технология
* позволяет в 1,5-2 раза снизить расход бетона
* в 1,8- 3 раза снижает массу конструкции
* вдвое экономит затраты труда в связи с отсутствием арматурных, сварочных работ и работ по монтажу опалубки.
* по сравнению со стальными конструкциями применение трубобетонных колонн позволяет в 1,5-2 раза сократить расход металла при одинаковой массе конструкций
* трубобетонные конструкции обладают всеми достоинствами металлических конструкций в плане монтажа, отличаясь при этом более высокой огнестойкостью
* конструкционные свойства трубобетона позволяют применять его в самых различных областях строительства — мостостроении, строительстве метро, промышленных и жилых зданиях, торгово-развлекательных комплексах и спортивно-оздоровительных сооружениях.
* Конструкции с трубобетоном работают более гибко, по сравнению с обычными армированными опорами, и выдерживают значительно большие нагрузки, как в вертикальной, так и в горизонтальной плоскости.
* в открытой обычной опалубке бетон всегда имеет усадку, в жесткой оболочке, наоборот, происходит его распирание.
* Металл, работая в связке с бетоном в закрытой конструкции, обеспечивает гораздо более высокий коэффициент устойчивости, чем в конструкциях с армированным открытым бетоном.
У бетона со временем появляются трещины, которые имеют тенденцию расширяться. В трубобетоне трещин, практически, не бывает.
Экономичность и скорость не главный «козырь» трубобетона, во многих случаях важней его сверхустойчивость, способность трубобетона выдерживать длительные предельные нагрузки (вспомним трагедии с обрушениями российского аквапарка и торгового центра, сколько погибло людей!) Кроме того, земля в городах дорожает, стройки «растут» ввысь, а строить высотки с применением трубобетона, как показала мировая практика, и дешевле (доступность), и быстрей ( не нарушается ритм жизни города), и надежней(строим-то навека): в трубобетоне, как ни в какой другой конструкции, идеально сочетаются свойства металла, как обоймы, работать на изгиб и растяжение и способность бетона работать на сжатие.
Поэтому при тех же равных условиях, если мы возьмем стальную, железобетонную и трубобетонную конструкции и дадим им одну и ту же предельную нагрузку, стальная конструкция сломается, железобетонная простоит чуть дольше, трубобетонная выстоит, это конструкция не имеет себе равных по надежности, пожаро- и сейсмоустойчивости; разрушить колонну из трубобетона на практике невозможно! Сейсмоустойчивость зданий из трубобетона в 2-2,5 раза выше стандартных конструктивов: до сих пор в мире ни одно из многоэтажных зданий из трубобетона не разрушено.
В нашей стране способность трубобетона к сейсмоустойчивости может быть востребована в Одесском регионе, на полуострове Крым. Без трубобетона невозможно было построить башни Petronas в Куала-Лумпуре, башню Sear Tower в Чикаго, высотку Jin Mao Tower в Шанхае. Сегодня с применением трубобетона строится район «Manhattan Kazahstan» в г. Алматы. Российское правительство, разработав программу строительства доступного жилья, одну из главных ставок сделало на строительство жилья с применением технологи трубобетона. Понимая, что все новое при внедрении наталкивается на сопротивление, для внедрения и развития данной программы был принят документ «Принуждение к инновациям: стратегия для России».
В общем, вывод напрашивается сам: во всем мире на смену «старым» технологиям пришло время трубобетона. Если мы хотим быть конкурентоспособными, строить экономично, быстро и надежно, — выбор у нас есть. Мы готовы предоставить наш опыт и разработки всем, кто хочет строить надежней, дешевле, быстрей и выше.
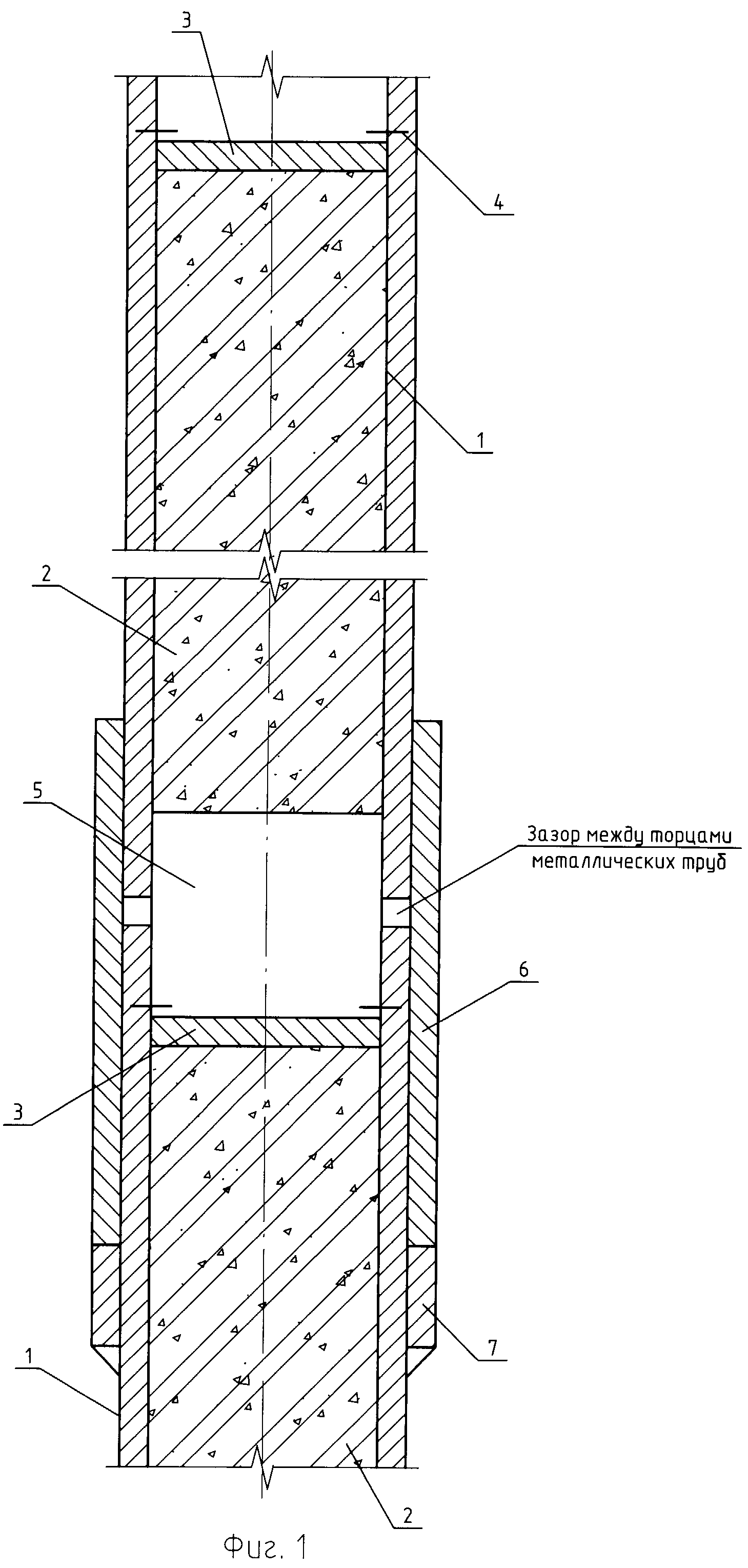
*Данная технология строительства предусматривает использование в каркасной конструктивной системе трубобетонных элементов. Трубобетонная колонна — это стальная оболочка(труба), заполненная бетоном, который образует внутреннее ядро. Труба, в данном случае, играет роль опалубки, а также продольной и поперечной арматуры, а также создает практически идеальные условия для работы бетонного ядра под нагрузкой. Изолированный от внешней среды бетон под собственной нагрузкой стремится увеличить свои размеры в стороны, в радиальном направлении, при этом труба опеспечивает равномерное обжатие бетона, повышая несущую способность ядра и колонны.
Finite-element modeling of an arch pedestrian bridge designed using the bionic approach
Страница 3 из 25 34SATS319
Издательство «Мир науки» \ Publishing company «World of science» http://izd-mn.
com
При этом нагрузки и воздействия, принимаемые при расчетах мостов, подразделяются
на постоянные и временные. К основным постоянным нагрузкам относят собственный вес
конструкции, силы предварительного натяжения, давление от веса грунта на устои. К основным
временным относятся нагрузки от проходящих по мосту транспортных средств и пешеходов:
вертикальные подвижные нагрузки, горизонтальные поперечные нагрузки от центробежной
силы и боковых ударов подвижной нагрузки, горизонтальные продольные нагрузки от
торможения подвижной нагрузки, давление грунта от подвижного состава. Кроме основных
видов нагрузки, на мосты могут оказывать действие прочие нагрузки: ветровые, ледовые, от
навала судов, строительные, сейсмические, от воздействия температуры среды и морозного
пучения грунтов. Вообще говоря, нагрузки – это достаточно важный элемент сложившейся
системы изучения мостовых сооружений. Нагрузки достаточно сильно изменчивы во времени
и пространстве.
Расчетные схемы, применяемые для расчетного анализа и проектирования мостовых
сооружений, имеют некоторую условность. Поэтому правильнее говорить не столько о
нагрузках на изучаемый объект, сколько о воздействиях на сооружение. Принятый в настоящее
время практически повсеместно метод расчета по предельным состояниям пользуется
понятиями нормативной и расчетной нагрузки. Нагрузка, которая определяется нормами
проектирования, в какой-то мере соответствующая наибольшей нагрузке, которая может быть
допущена в процессе эксплуатации сооружения – является нормативной. Нормы определяют,
что проверка первого предельного состояния реализуется при расчетных значениях нагрузок, а
проверка второго предельного состояния – при нормативных значениях.
Нагрузки и воздействия по своему происхождению имеют самую разнообразную
природу, однако при всем своем многообразии, имеют некоторые общие элементы, которые
позволяют говорить об анализе нагрузок и воздействий как об определенном едином целом.
В
основе такого анализа лежит теория надежности, а также основы статики и динамики мостовых
конструкций. С помощью этих методов анализа и происходит выбор расчетных значений
нагрузок и воздействий, их моделирование в расчетах мостовых конструкций, определение
реакции сооружения на внешние воздействия и оценка особенностей взаимодействия
конструкции с нагрузкой.
Одним из примеров взаимодействия нагрузки с мостовым сооружением является
аэродинамическое нагружение. Его величина достаточно сильно зависит от формы
конструкции, обтекаемой ветровым потоком, и если деформации конструкции эту форму
заметно меняют, как это случается, например, в висячих системах, то меняются и действующие
нагрузки.
Аналогичная положительная обратная связь возникает при учете нагрузки от
собственного веса, а также в случаях нагружения гибких конструкций весом слоя жидкости.
Прогибы конструкции увеличивают толщину слоя жидкости в середине пролета, что заметно
меняет схему нагружения.
Практически все нагрузки, которые рассматриваются при расчете конструкций,
являются случайными величинами или случайными функциями времени. Это, в числе прочего,
означает, что мы не можем указать точное значение нагрузки, которое будет реализовано, а
используем некоторые расчетные величины, которые могут реализоваться лишь с
определенной долей вероятности.
Еще одна система оценки надежности сооружений, в том числе, мостовых, обозначается
в рамках метода предельных состояний, который так же называют «методом частных
коэффициентов надежности». При расчете по предельным состояниям важно помнить, что в
расчет берется какое-либо одно из предельных состояний, например, предел прочности, и мы
Крупнейшая в Австрии труба PE 100-RC проложена на Боденском озере
Столица провинции Брегенц защищает канализационную систему от затопления. С этой целью переносится аварийный водослив очистных сооружений протяженностью 900 метров.
Кроме того, строится новая паводковая насосная станция, которая после завершения строительства будет перекачивать 4000 литров в секунду. Крупномасштабный проект требует масштабных строительных и инженерных работ, которые выполняются компанией i+R из Лаутераха.Компания AGRU Kunststofftechnik GmbH поставила 280 погонных метров труб большого диаметра с наружным диаметром 1800 мм в SDR 26.
Проект по защите от наводнений в Брегенце предпринял важный шаг: озерный участок дренажной трубы, поставленный AGRU Kunststofftechnik, был спущен на воду в Боденское озеро с берега на правом берегу Рейна железнодорожным судном 8 апреля и затонул на следующий день. профессиональными дайверами на глубину до 16 метров в ранее выкопанной траншее на дне озера.За две недели до этого компания i+R сварила 22 стержня из сборного полиэтилена (PE 100-RC) диаметром 1,8 метра и прикрепила бетонные полуоболочки к швам всей трубы длиной 280 метров.
Они служили балластом во время всплытия и опорами для труб после спуска. Это означает, что на дне озера лежит 360 тонн материала, который был дополнительно засыпан двумя метрами гравия, заранее взятого из траншеи и, таким образом, прочно закрепленного.
Строительство на суше и на озере
Дренаж общей длиной 900 метров ведет от станции очистки сточных вод Брегенца в озеро.На суше компания i+R проложила железобетонную трубу длиной 650 метров до берега, которая уходит на глубину до 5 метров под землю. Здесь на помощь приходит труба PE 100-RC длиной 280 метров от AGRU Kunststofftechnik. «На суше труба проходит под существующими газопроводами высокого давления, разделительными линиями и канализационными линиями, среди прочего», — описывает Эрнст Штемер. глава i+R Tiefbau.
Сварка полиэтиленовых элементов человеческого роста в производственном цеху. (Фото: Дитмар Вальзер)Особые рамочные условия
Дополнительные трудности включают строительство в заповеднике, общий высокий уровень грунтовых вод в прибрежной зоне, расположение в зоне движения и отдыха, а также обеспечение непрерывной работы очистных сооружений.
«В феврале у нас также было 100-летнее наводнение», — добавляет Эрнст Штемер. Чтобы обеспечить плавность конструкции, i+R закрепил траншею 12-метровыми шпунтовыми сваями.
Гибкий и прочный
Есть несколько причин, по которым часть трубы с озером была выполнена из пластика: «PE имеет гораздо более длительный срок службы, чем железобетон или стекловолокно, он устойчив к коррозии, дешевле и проще в установке», — объясняет Маркус Эбстер, глава бизнес-подразделение «XXL Pipe Systems» в AGRU Kunststofftechnik GmbH.«Кроме того, он более гибкий и поэтому выдерживает вздутие при монтаже и любые вибрации и осадки на дне озера впоследствии. AGRU производит трубы и фитинги большого диаметра из ПЭ 100-RC с наружным диаметром до 3500 мм по желанию заказчика. Это мировой рекорд», — добавляет Маркус Эбстер. Чтобы без проблем соединить материалы на берегу, компания i+R возвела шпунтовый короб и установила специальную конструкцию из пластика (ПЭ), которая выдерживает многотонную нагрузку.
Асбестоцемент – обзор
Асбест
В результате общественных движений по всему миру асбест запрещен более чем в 60 странах. Тем не менее, большинство людей в мире живут в странах, где асбест все еще используется, часто с минимальными мерами защиты, если они вообще существуют. Мировое потребление с начала нового века оставалось на уровне около 2 миллионов тонн в год, поскольку некоторые страны запретили асбест, а другие увеличили его использование.Только в 2016–2017 годах мировое использование асбеста наконец сократилось примерно на треть. Более 90 % асбеста используется в асбестоцементных листах и трубах, в основном для асбестоцементных кровель. Более 85% мирового потребления асбеста приходится на Азию.
Всемирная организация здравоохранения призвала к глобальному запрету всех форм асбеста и оценила ежегодное число смертей во всем мире в более чем 107 000 человек из-за рака легких, мезотелиомы и асбестоза в результате профессионального воздействия (World Health Organization, 2014).
Многие тысячи людей умирают от рака окружающей среды, не связанного с профессиональной деятельностью, вызванного асбестом, включая членов семей в домах рабочих, подвергшихся воздействию пыли, принесенной домой на одежде рабочих. По данным Международного агентства по изучению рака, другие умирают от других видов рака, вызванных асбестом, включая рак гортани и яичников. Совсем недавно власти оценили глобальные потери от асбеста в 255 000 смертей ежегодно (Furuya et al., 2018).
Глобальные корпорации могут играть конструктивную роль там, где их корпоративные стандарты превосходят требования, предъявляемые к ним на местном уровне.Такие компании, как Unilever, Dow и ICI, такие как Всемирный банк (World Bank Group, 2009 г.), объявили о своей глобальной политике (1) неиспользования асбестовых материалов при строительстве новых объектов и (2) соблюдении процессуальных гарантий при использовании асбестовых материалов. должны быть нарушены или снесены в существующих объектах. Публичное раскрытие текстов этих корпоративных политик было бы полезным стимулом для национальных компаний поступать так же.
Такое раскрытие информации помогло бы расширить рынок альтернатив асбестоцементным кровлям, увеличив спрос и снизив цены на более безопасные заменители, а также поддержав доводы в пользу запрета асбеста в стране.Однако официальные лица ICI, Unilever и других глобальных корпораций неохотно раскрывают тексты своих политик.
Еще в 1970-х годах многие асбестовые компании в развивающихся странах были дочерними компаниями и клиентами глобальных асбестовых корпораций. Но в новом столетии корпоративных асбестовых гигантов не осталось. Сегодня отрасль состоит в основном из национальных компаний в каждой стране, хотя иногда могут быть некоторые иностранные компании из стран, занимающихся добычей асбеста (в основном из России и Казахстана).Участие российских и казахстанских асбестовых компаний во Вьетнаме может сыграть важную роль в оппозиции запрету асбеста. Запреты в Европе и Канаде позволили нескольким заводам по производству хлора продолжать использовать асбестовые диафрагмы в качестве временных исключений.
Канада, которая раньше была крупнейшим в мире экспортером и промоутером асбеста на международной арене, прекратила добычу асбеста в 2011 году и запретила его использование в 2018 году. .Эта индустрия тратит миллионы на найм ученых для написания и публикации в литературе «совершенно нечестной науки» (Frank and Joshi, 2014). Асбестовые компании во всем мире имеют хорошие связи и везде используют одни и те же пропаганду и стратегии, чтобы минимизировать свои расходы на профилактику заболеваний и компенсацию.
В последние годы асбестовая промышленность угрожала врачам, выражающим обеспокоенность по поводу асбеста в Индии, Таиланде и Бразилии. Несмотря на важность врачей в предотвращении асбестовой болезни и запрете на использование асбеста, нет ни одного врача, который бы руководил такими усилиями в России, Казахстане и материковом Китае, ведущих регионах мира по добыче асбеста.
Итальянский суд первой инстанции и апелляционный суд приговорил итальянского суда первой инстанции и апелляционного суда к 18 летам тюремного заключения за организацию экологической катастрофы, вызвавшей тысячи смертей от мезотелиомы; он избежал осуждения только тогда, когда суд высшей инстанции закрыл дело по юридическим причинам (преступления, возбужденные по истечении срока давности) (Daily Mail, 2014; Castleman, 2017).
Шмидхейни судили за непредумышленное убийство в Турине в 2019 году, признали виновным и приговорили к четырем годам тюремного заключения.Он обжалует приговор в суде.
Ни одна другая отрасль не имеет сопоставимых документально подтвержденных случаев ненадлежащей практики в области гигиены труда и окружающей среды. В США десятилетия судебных разбирательств по поводу компенсации ущерба от асбеста привели к тому, что огромное количество внутренних документов асбестовых компаний было высвобождено. Эти корпоративные документы раскрывают настоящую энциклопедию опасных методов ведения бизнеса. Обнаруженная история связана с асбестовой промышленностью по всему миру, начиная с 1920-х годов.
Эта запись включает (Castleman, 2005; McCulloch and Tweedale, 2008; Egilman et al..
Публикация заявлений и отчетов торговых ассоциаций о том, что продукты из асбеста не токсичны продукты
Маркетинг продуктов без предупредительных надписей в некоторых странах после начала нанесения предупреждений на те же продукты в других странах
Ориентация на врачей, повышающих осведомленность общественности об опасности асбеста
Урегулирование исков о возмещении ущерба при условии, что адвокат, представляющий работников, больше не будет возбуждать такие дела Протестующие асбестовые опасности
Управляющие и замена работников, прежде чем они успели развить асбестовые заболевания от их выдержки
экспортируют запрещенные асбестыные продукты
Маркировка асбестосодержащих продуктов «Asbestos -Free «
Удаление слова« асбест »в рекламе ASBESTOS Товары без предупреждений
•
Продажа асбеста для использования в детских модельных соединениях
суб-договоров опасных работы по обслуживанию асбеста
Бессмысленная утилизация отходов вокруг асбестовых заводов
Длительное несоблюдение элементарных санитарных мер предосторожности, чтобы рабочие не уносили асбестовую пыль домой к своим семьям на одежде
В новом столетии интересы асбеста потратили много миллионов долларов на заключение контрактов и публикацию статей о «защите продукции», чтобы оправдать хризотиловый асбест, тип асбеста, на долю которого приходилось 95% мирового использования асбеста в 20-м веке и с тех пор единственный тип асбеста в международной торговле (LaDou et al. ., 2010; Баур и др., 2015). Правительства, имеющие тесные отношения с заинтересованными сторонами в области асбеста, неоднократно блокировали включение хризотил-асбеста в соответствии с требованиями Роттердамской конвенции о предварительном информированном согласии для широко запрещенных опасных веществ в международной торговле. В период с 2012 по 2016 год казахстанские интересы по асбесту направили шпиона, работавшего на K2 Intelligence в Великобритании, чтобы сообщать об активистах запрета асбеста, особенно в азиатских странах. Он сказал, что был кинорежиссером и журналистом и завоевал доверие многих активистов, пока его прикрытие не было раскрыто и в Лондоне не было возбуждено судебное дело, раскрывающее его отчеты для K2 (Gillard and Graham, 2017).
Бразилия стала первой страной, где асбестовая шахта запретила использование асбеста. Бразилия была третьим ведущим производителем асбеста в мире и ведущим потребителем. Там мощное общественное движение, поддерживаемое прокурорами по трудовым спорам, ввело государственные запреты на использование асбеста и использовало суды для закрытия асбестовой промышленности по всей стране.
Верховный суд Бразилии в 2017 году оставил в силе запреты на использование асбеста в Сан-Паулу и других штатах и отменил старый закон, разрешающий «контролируемое использование» асбеста как неконституционный.В результате в ноябре 2017 года асбест был запрещен по всей стране. Бразильские производители асбестоцемента перешли на более безопасные полимерные волокна. Однако крупному асбестовому руднику в Кана-Брава было разрешено продолжать работу по экспорту асбеста до вынесения окончательного решения Суда по вопросу о добыче на экспорт. После катастрофы с токсичным шламом на бразильском железном руднике, которая привела к сотням смертей и вызвала огромный общественный резонанс, суд установил 8 февраля 2019 года крайний срок для принятия комментариев, прежде чем вынести свое окончательное решение о том, будет ли Бразилия продолжать добычу и экспорт запрещенного волокна. .Владелец, компания Eternit, прекратила эксплуатацию шахты 11 февраля 2019 года в ожидании решения суда. Затем общественное движение приняло энергичные меры, чтобы привлечь внимание общественности к этому делу.
Асбестовая промышленность получает прибыль от продажи и экспорта смертоносного продукта, и в дополнение к человеческой трагедии, которую она создает, промышленность возлагает на плечи отдельных лиц, их семей, их сообществ и их правительств огромные экономические издержки ухудшение здоровья, смертность и загрязнение окружающей среды.Соответственно, правительства должны относиться к асбестовой промышленности так, как Всемирная организация здравоохранения рекомендует правительствам относиться к табачной промышленности.
Что Китай строит в Южно-Китайском море
Изображения DigitalGlobe, предоставленные CSIS Asia Maritime Transparency Initiative, и CNES, предоставленные Airbus DS и IHS Jane’s
Скорость и масштабы строительства островов Китаем встревожили другие страны, имеющие интересы в регионе.В июне Китай объявил, что создание островов — перенос отложений с морского дна на риф — скоро будет завершено. С тех пор Китай сосредоточил свои усилия на строительстве.
На данный момент на островах построены портовые сооружения, военные здания и взлетно-посадочная полоса, а недавние снимки показывают, что строятся еще две взлетно-посадочные полосы. Инсталляции укрепляют плацдарм Китая на островах Спратли, спорном скоплении рифов и островов в Южно-Китайском море более чем в 500 милях от материковой части Китая.Активность Китая в Спратли является основным предметом разногласий между Китаем и Соединенными Штатами и была основной темой обсуждения между президентом Обамой и президентом Китая Си Цзиньпином во время визита китайского президента в Белый дом в сентябре. В понедельник США направили к островам эсминец ВМС, вошедший в спорные воды.
Новые острова позволяют Китаю использовать часть моря для собственных нужд, которая до сих пор была относительно недосягаема.Хотя в Южно-Китайском море есть значительные запасы рыбы и, возможно, большие запасы нефти и газа, усилия Китая служат больше для укрепления своих территориальных претензий, чем для помощи в добыче природных ресурсов, сказала Мира Рапп-Хупер, бывший директор Азиатской морской инициативы прозрачности.
в Центре стратегических и международных исследований вашингтонской исследовательской группы. Несмотря на то, что острова слишком малы для поддержки крупных воинских частей, они позволят китайцам осуществлять постоянное воздушное и морское патрулирование этого района.Соединенные Штаты сообщили об обнаружении китайских мобильных артиллерийских машин в регионе, и острова могут позволить Китаю осуществлять больший контроль над рыболовством в регионе.
Земснаряды выкачивают осадок на риф Мисчиф, март 2015 г.
Изображение предоставлено DigitalGlobe в рамках инициативы CSIS Asia Maritime Transparency Initiative. Земснаряды выкачивают осадок на риф Мисчиф, март 2015 г.Изображение предоставлено DigitalGlobe в рамках инициативы CSIS Asia Maritime Transparency Initiative.
Несколько рифов были полностью уничтожены, чтобы послужить основой для новых островов, и этот процесс также наносит значительный ущерб окружающей морской экосистеме. Фрэнк Мюллер-Каргер, профессор биологической океанографии в Университете Южной Флориды, сказал, что отложения «могут смываться обратно в море, образуя шлейфы, которые могут задушить морскую жизнь и могут быть пропитаны тяжелыми металлами, нефтью и другими химическими веществами с кораблей и с берега». строящиеся объекты.Такие шлейфы угрожают биологически разнообразным рифам Спратли, которые, по словам доктора Мюллер-Каргер, могут иметь проблемы с выживанием в насыщенной осадками воде.
Осадки разбиты и высосаны с морского дна.
Материал транспортируется по плавающей трубе.
Вычерпанный материал отложен на рифе.
Осадки разбиты и высосаны с морского дна.
Материал транспортируется по плавающей трубе.
Вычерпанный материал отложен на рифе.
Китайцы относительно поздно приступили к строительству островов на архипелаге Спратли, и «со стратегической точки зрения Китай чувствует себя обделенным», — сказал Шон О’Коннор, главный аналитик IHS Jane’s.Тем не менее, островное строительство Китая намного опередило аналогичные усилия в этой области, вызвав беспокойство у Соединенных Штатов, двусторонняя торговля которых ежегодно проходит через Южно-Китайское море на сумму около 1,2 триллиона долларов. Министр обороны Эштон Б. Картер раскритиковал действия Китая в регионе в мае, заявив, что «Соединенные Штаты будут летать, плавать и действовать везде, где это позволяет международное право, как мы это делаем во всем мире».
Соединенные Штаты подтвердили это утверждение в понедельник и разозлили китайцев, когда отправили эсминец с управляемыми ракетами «Лассен» в пределах 12 морских миль от островов, что является условной границей территориальных вод.Согласно заявлениям Дэвида Шира, высокопоставленного чиновника Пентагона, отвечающего за Азию и Тихий океан, в последний раз Соединенные Штаты направляли корабли или самолеты близко к островам в 2012 году.
Строящиеся здания на рифе Файери-Кросс, сентябрь 2015 г.
Изображение предоставлено DigitalGlobe в рамках инициативы CSIS Asia Maritime Transparency Initiative. Строящиеся здания на рифе Файери-Кросс, сентябрь 2015 г.Изображение предоставлено DigitalGlobe в рамках инициативы CSIS Asia Maritime Transparency Initiative.
Что есть на островах?
Недавно построенные острова и рифы отмечены белым кольцом . Цветные кольца показывают, занят ли объект Китай , Филиппины , Малайзия , Вьетнам или Тайвань .
Источники: ЦРУ, НАСА, Управление безопасности на море Китая.Недавно построенные острова и рифы отмечены белым кольцом . Цветные кольца показывают, занят ли объект Китай , Филиппины , Малайзия , Вьетнам или Тайвань . Источники: С.IA, НАСА, Китайское управление безопасности на море
Вьетнам, Малайзия, Филиппины и Тайвань также расширили острова Спратли, но далеко не в таких масштабах, как Китай.
Мелиорация земель на песчаном острове Вьетнама.
Изображение предоставлено DigitalGlobe в рамках инициативы CSIS Asia Maritime Transparency Initiative.Мелиорация земель на песчаном острове Вьетнама. Изображение предоставлено DigitalGlobe в рамках инициативы CSIS Asia Maritime Transparency Initiative.
Для Китая риф Огненный Крест является наиболее стратегически важным новым островом с взлетно-посадочной полосой, достаточно длинной, чтобы позволить Китаю приземлиться на любом самолете, от истребителя до большого транспортного самолета.Но взлетно-посадочная полоса Китая не первая в регионе — любая другая страна, оккупировавшая Спратли, уже использует ее.
Строящаяся дамба
Строящаяся дамба
Строящаяся дамба
Строительство на рифе Файери-Кросс, апрель 2015 г.
Изображение CNES, распространенное Airbus DS через IHS Jane’s.Строительство на рифе Файери-Кросс, апрель 2015 г. Изображение CNES, распространенное Airbus DS через IHS Jane’s.
На рифах Китая в течение многих лет размещались небольшие сооружения, прежде чем начался всплеск строительства. Сохраняя эти изначально изолированные здания, Китай может утверждать, что он просто расширяет свои более ранние объекты, подобно тому, как это сделали другие страны в других странах региона.
Строительство на южном рифе Джонсон, май 2015 г.
Изображение предоставлено DigitalGlobe в рамках инициативы CSIS Asia Maritime Transparency Initiative.Строительство на южном рифе Джонсон, май 2015 г.Изображение предоставлено DigitalGlobe в рамках инициативы CSIS Asia Maritime Transparency Initiative.
В последние месяцы Китай почти завершил два своих крупнейших проекта по строительству островов — Mischief Reef и Subi Reef. Текущие изображения показывают, что Китай, вероятно, начал строительство взлетно-посадочных полос на длинных прямых участках каждого из этих островов, что даст стране три взлетно-посадочные полосы в этом районе.
Строящаяся взлетно-посадочная полоса
Строящаяся взлетно-посадочная полоса
Строящаяся взлетно-посадочная полоса
Рекультивация земель в Китае и строительство взлетно-посадочной полосы на рифе Суби, сентябрь 2015 г.
Рекультивация земель в Китае и строительство взлетно-посадочной полосы на рифе Суби, сентябрь 2015 г. Изображение предоставлено DigitalGlobe в рамках инициативы CSIS Asia Maritime Transparency Initiative.
Хрупкое будущее дорог и зданий, построенных на вечной мерзлоте
В этом регионе — и в других регионах с холодным климатом — вечная мерзлота, которая держалась тысячи лет, теперь испаряется в нагревающуюся землю.Здания, дороги, железные дороги и трубопроводы, построенные в этих районах, подвергаются все большему риску повреждения.
Таяние вечной мерзлоты представляет опасность для всего мира, так как хранит огромные объемы углерода, который может быть выброшен в атмосферу. Но в ближайшей перспективе именно люди, живущие в этих регионах, первыми почувствуют воздействие, потому что потепление происходит быстрее, например, в Арктике и горных районах.
На протяжении многих веков коренные жители, живущие в холодных регионах, умели приспосабливаться к климату.Но когда промышленно развитые общества распространились в эти отдаленные места, они стремились освоить арктическую пустыню с помощью бетона и стали. К сожалению, индустриализация также ускорила изменение климата, сделав зимы в этих регионах более теплыми.
Список конструкций и зданий, которые, как известно, пострадали от вечной мерзлоты, длинный и разнообразный. В том числе стены многоквартирных домов в российском Якутске, которые сейчас трескаются. Трубопроводы в России и других странах находятся под угрозой прорыва из-за смещения грунта, что может привести к катастрофическим разливам нефти.Или возьмем церковь Богоматери Победы в Инувике, на Северо-Западных территориях Канады, где священнослужители наблюдали, как здание деформировалось на протяжении многих лет, когда земля под ним оседала.
Инженеры теперь должны учитывать опасные колебания некогда твердой почвы.
При этом они изобретают новаторские способы охлаждения Земли у себя под ногами, пытаясь спасти человеческие постройки от великой дестабилизирующей оттепели.
Вам также может понравиться:
Гай Доре сам видел местные эффекты.Длинные трещины в асфальте дороги могут распространяться настолько широко, что в них можно пролезть ногой. Доре из Университета Лаваля в Канаде много лет изучал влияние таяния вечной мерзлоты на построенную инфраструктуру. «Проблемы огромны», — говорит он, добавляя, что примерно половина из 3–4 000 км (1800–2500 миль) дорог, построенных в районах вечной мерзлоты в Канаде, рискуют стать нестабильными из-за таяния: «Мы говорим о миллионах долларов на дополнительные расходы на техническое обслуживание в тех областях, где у вас не так много ресурсов для этого.»
Осадка грунта из-за таяния вечной мерзлоты — медленный, постепенный процесс. Если участок асфальта треснул, вы не можете просто залить его заново и оставить. Поскольку земля продолжает деформироваться, повреждение появится снова, возможно, уже через год.
Когда люди строили дороги в этих изолированных районах, в первую очередь они предполагали, что таяние льда в земле может угрожать стабильности дорог, говорит Доре. Таким образом, инженеры середины 20-го века обычно укладывали гравий на богатую льдом почву, прежде чем строить дорогу наверху.Этот гравий изолировал землю внизу, заставляя слой вечной мерзлоты подниматься на более высокий уровень, стабилизируя местность. Но в некоторых местах этот буфер больше не действует, потому что растаял большой лед.
«Мы находимся в точке, где происходит деградация старой вечной мерзлоты, вечной мерзлоты, которая никогда не таяла», — говорит Доре.
Венеция Архитектура Biengale: Samuel Gonçalves
Samuel Gonçalves наборы модифицированные бетонные канализационные трубы на воде в Венецианской биеннале
изображение © Designboom
Три бетонные конструкции сидят на воде в арсенале на Венецианской архитектурной биеннале португальского архитектора Самуэля Гонсалвеша.
скульптурных, но архитектурных объемов демонстрируют использование существующей инфраструктуры для расширения общественных пространств. проект включает в себя модификацию производственной линии бетонных канализационных труб, которые можно найти в большинстве мест. в качестве промежуточного шага в этой эволюционной цепочке, которая начинается с круглой трубы, верхняя сторона прямоугольной версии может выступать в качестве тротуара, тем самым создавая первоначальный вклад в общественное пространство. третий и самый большой модуль служит структурой, определяющей будущее преобразование.
объемы символизируют использование существующей инфраструктуры для внесения вклада в общественную архитектуру можно увидеть два противоположных подхода к решению этой проблемы такого масштаба и масштаба: неэффективный подход и эффективный подход. неэффективная система строительства трудоемка, а это означает, что с политической точки зрения использование как можно большего количества рабочей силы будет поддерживать низкий уровень безработицы, что так же важно, как сокращение дефицита жилья.
в то же время будет потребность в подходах, использующих очень эффективные сборные конструкции, способные быстро и ответственно реагировать с точки зрения технического качества на постоянно растущий спрос на жилье». бетонных канализационных труб.Biendale
Самый большой из трех служит в качестве укрытия
02 июня 2016 г.
6 самых впечатляющих 3D-печатных зданий в мире
Фото: Kamp C & Jasmien Smets
За последние несколько лет 3D-печать, также известная как аддитивное производство, набирает популярность в строительстве и архитектуре.По мере того, как технология развивалась, ее позиция из любопытства превратилась в жизнеспособный инструмент строительной отрасли, где компании производят и продают конструкции, напечатанные на 3D-принтере, по всему миру.
В области строительных технологий аддитивное производство все еще считается новой технологией. Тем не менее, он уже подал большие надежды благодаря своей способности урезать бюджет и сократить время строительства.
Некоторые принтеры даже способны создать всю конструкцию с нуля менее чем за день и за небольшую часть стоимости традиционных методов строительства.
3D-печать также считается очень реальным потенциальным решением гуманитарных проблем, таких как глобальный жилищный кризис. В тех частях мира, где крыша над головой далека от гарантии, возможность быстро и недорого изготовить жилую конструкцию имеет огромный потенциал, как, например, это целое сообщество из 50 домов, напечатанных на 3D-принтере в Мексике.
Следующие шесть структур, напечатанных на 3D-принтере, демонстрируют, чего можно достичь с помощью этой технологии, и могут дать представление о глобальном жилищном ландшафте в ближайшие годы.
Многоквартирный дом WinSun, напечатанный на 3D-принтере, провинция Цзянсу, Китай Фото: WinSun Китайская компания WinSun Decoration Design Engineering Co. не в первый раз тестирует возможности 3D-печати. Уже построив 10 домов с помощью 3D-печати менее чем за 24 часа, она быстро завоевала признание, построив самую высокую в мире конструкцию с 3D-печатью — 5-этажный многоквартирный дом, завершенный еще в 2015 году.
Согласно ArchDaily, многоквартирный дом был построен с использованием 3D-принтера высотой 20 футов, шириной 33 фута и длиной 132 фута.Я оживлял конструкцию слой за слоем, используя смесь стекловолокна, стали, цемента, отвердителей и переработанных строительных отходов. Затем отдельные секции здания были собраны вместе, как и в любом другом модульном строительном проекте. В то же время WinSun построила особняк площадью 1100 квадратных метров, полностью декорированный внутри и снаружи. ArchDaily пишет, что тайваньская компания по недвижимости заказала 10 особняков-прототипов. Строительство каждого обойдется примерно в 160 000 долларов.
В то время Ma Rongquan, China Construction No.Главный инженер Инженерного бюро 8 сказал на пресс-конференции, что он надеется, что проекты проложат путь к более единым стандартам строительства с помощью 3D-печати.
«Эти два дома полностью соответствуют соответствующим национальным стандартам. Он безопасен, надежен и отличается хорошей интеграцией архитектуры и декора.
Но поскольку нет конкретного национального стандарта для архитектуры 3D-печати, нам необходимо пересмотреть и улучшить такой стандарт на будущее», — сказал он.
Чтобы не отставать, в начале 2020 года в Дубае открылось крупнейшее в мире здание, напечатанное на 3D-принтере, административное здание площадью 6900 квадратных футов для муниципалитета Дубая. Давно известно, что Дубай стремится к невозможному, когда дело доходит до строительства. В конце концов, здесь уже находится Бурдж-Халифа, самое высокое здание в мире, возвышающееся над пустынным ландшафтом на высоте более полумили.
По данным SingularityHub, для проекта муниципального строительства Дубай сотрудничал с бостонской Apis Cor, компанией, известной тем, что построила 3D-печатный дом в России менее чем за 24 часа.Структура здания очень похожа на обычное здание, оно сделано из сборного железобетона и армировано арматурой и бетоном.
Были привлечены подрядчики, чтобы добавить такие штрихи, как окна и крышу, после того, как конструкция была собрана.
У Дубая большие планы на технологию 3D-печати. К 2030 году с использованием этого метода планируется построить до четверти всех новых зданий. SingularityHub пишет, что это часть плана правительства по снижению затрат на строительство и экономии времени на строительных проектах.
Двухэтажный особняк, Беккум, Земля Северный Рейн-Вестфалия, Германия Фото: Mense-KorteСтроитель PERI GmbH и дизайнер MENSE-KORTE ingenieure+architekten совместно работали над первым в Германии напечатанным на 3D-принтере двухэтажным зданием с жилой площадью около 860 квадратных футов на каждом этаже, согласно данным ArchDaily.
В проекте используется специальный 3D-принтер под названием BOD2, разработанный датским производителем COBOD. Машина позволяет добавлять трубы и другие внутренние компоненты здания даже во время печати.ArchDaily пишет, что он может напечатать до 10 квадратных футов двухслойной стены всего за 5 минут, и его нужно откалибровать только один раз, прежде чем приступить к работе с каждой секцией.
«Процесс печати бетона дает нам, дизайнерам, большую степень свободы при проектировании зданий. При обычных методах строительства это было бы возможно только при больших финансовых затратах. С нашим напечатанным жилым домом в Беккуме мы демонстрируем потенциал процесса строительной печати», — сказал Вальдемар Корте, партнер MENSE-KORTE ingenieure+architekten.
Офисное здание, напечатанное на 3D-принтере, Дубай, Объединенные Арабские Эмираты Фото: Gulf News До того, как Дубай стал домом для самого большого в мире здания, напечатанного на 3D-принтере, он уже был известен первым в мире офисным зданием, напечатанным на 3D-принтере. Согласно Architect Magazine, в офисном комплексе площадью 2600 квадратных футов находится штаб-квартира Dubai Future Foundation (DFF). Каждое здание сделано из отдельных бетонных компонентов, которые были напечатаны в Шанхае и отправлены в Дубай для размещения.Чтобы завершить работу, Дубай заручился поддержкой огромного 3D-принтера WinSun, имеющего размеры 120 футов в длину, 40 футов в ширину и 20 футов в высоту.
Согласно журналу Architect Magazine, компания заявила, что сочетание 3D-печати и модульной сборки сократило трудозатраты на 50–80 %, а строительные отходы — на 30–60 %. Здание, которое впервые открылось для работы летом 2016 года, было спроектировано Генслером для Национального комитета Объединенных Арабских Эмиратов.
«Это прокладывает путь к будущему, в котором 3D-печать может помочь решить насущные проблемы окружающей среды и урбанизации, а также позволит нам создавать индивидуальные пространства для наших клиентов в гораздо более короткие сроки», — сказал директор Gensler Ричард Хаммонд в интервью журналу Architect Magazine. утверждение.
3D-печатный прототип дома, Антверпен, Бельгия Фото: Kamp C & Jasmien Smets Прошлым летом компания Kamp C построила в Бельгии двухэтажный дом, напечатанный на 3D-принтере, сообщает New Atlas. Площадь дома составляет всего 1000 квадратных футов, и он был изготовлен с использованием той же технологии печати COBOD BOD2, что и особняк в Германии.
Принтер имеет размеры 32 на 32 фута и выдавливает цементоподобную смесь отдельными слоями, пока структура не будет завершена. После того, как это было сделано, люди-подрядчики добавили окна и другие важные элементы.
На завершение этого проекта ушло около трех недель, но Kamp C сообщил New Atlas, что сократит время строительства до двух дней. Здание включает в себя вестибюль, два конференц-зала и кухню и оснащено современными удобствами, в том числе полами с подогревом, солнечными батареями и тепловым насосом.
Руководитель проекта Марийке Аэртс сообщила New Atlas, что технология 3D-печати для проекта позволила сэкономить примерно 60% времени, бюджета и материалов.
14Trees’ Доступные экологически чистые здания, Малави, Африка Фото: 14Trees Доступное жилье не является данностью во многих местах.14Trees, совместное предприятие CDC Group и производителя цемента LafargeHolcim, стремится улучшить качество жизни жителей за счет увеличения доступности доступных домов и школьных зданий по всей Африке.
По данным 3D Printing Media Network, начиная с Малави, компания 14Trees начала производить экологически чистые и доступные конструкции, снова используя 3D-принтер COBOD BOD2. Огромный размер принтера требует двух человек-операторов, поэтому COBOD отправила экспертов в Малави, чтобы обеспечить надлежащее обучение местных рабочих.
«Мы очень воодушевлены тем фактом, что 14Trees теперь успешно используют нашу технологию в Африке, и мы впечатлены скоростью, которой им удается достичь для печати стен первых зданий, — сказал основатель и генеральный директор COBOD Хенрик. Об этом Лунд-Нильсен сообщил 3D Printing Media Network.
«Нехватка доступного жилья и школ в Африке огромна, и мы верим, что наши технологии могут сыграть жизненно важную роль в решении этой проблемы, не в последнюю очередь за счет увеличения скорости выполнения.
Бетонные трубы, преобразованные в архитектурные элементы и жилые помещения
Бетонные трубы, преобразованные в архитектурные элементы и жилые помещения
Prahran Hotel / Techne Architecture + Дизайн интерьера.
Изображение © Peter Clarke Sharehare-
48
-
Pinterest
-
WhatsApp
-
Mail
или
HTTPS: // www.archdaily.com/955609/concrete-pipes-transformed-into-architectural-elements-and-living-spaces Городская инфраструктура обеспечивает комфорт жителям и снижает риск стихийных бедствий, таких как наводнения. Подземные системы специально скрывают городскую инфраструктуру от посторонних глаз и устроены как настоящие лабиринты под улицами. Разводка питьевой воды, городская канализация, канализация и даже электропроводка и оптоволокно в некоторых случаях проходят под нашими ногами незаметно для нас. С этой целью в течение примерно 100 лет промышленность разрабатывала сборные железобетонные изделия, которые обеспечивали скорость строительства, достаточную устойчивость к силе и долговечность.Бетонные трубы круглого сечения и самых разных диаметров, возможно, являются наиболее используемыми трубопроводами и широко распространены во всем мире.
Но есть и те, кто использует эти, казалось бы, функциональные элементы в творческих архитектурных контекстах.
Бетонные трубы представляют собой жесткие воздуховоды, которые могут содержать или не содержать металлическую арматуру в зависимости от их структурных требований. Их геометрия позволяет им должным образом выдерживать вес земли и другие структурные нагрузки.Эти детали имеют размеры и спецификации в соответствии с расходом, спецификой программы (проводимость дождевой воды или сточных вод / сточных вод) и механической устойчивостью. В архитектуре, пожалуй, первое использование таких элементов, которое приходит на ум, — это детские площадки. Бетонная труба сама по себе забавная игрушка.
Также для детей, в санитарной инфраструктуре H&P Architects Toigetation 2, секции труб использовались в качестве умывальников, подходящих для роста детей, создавая уникальное использование элементов, расположенных вертикально.
Но эти элементы также можно использовать в качестве вертикальных многослойных поверхностей. В проекте VARDAstudio оболочка из бетонных труб, доступная рядом с работой, фильтрует взгляды в дом и из него, разграничивая, где заканчивается уединение резиденции. Эта тяжелая, земная и низкая технология также обеспечивает дополнительную защиту от окружающей среды, особенно от солнца и воздуха.
Резиденция АБ / ВАРДАстудия. Изображение © Creative Photo Room AB Residence / VARDAstudio.Изображение © Creative Photo Room В отеле Prahran, разработанном Techne Architecture + Interior Design, большие бетонные трубы широко используются на протяжении всего проекта, будь то для формирования дополнительного современного фасада рядом с историческим зданием или для внесения тех же элементов в интерьер. интерьер. По словам архитекторов: «Использование больших уложенных друг на друга бетонных труб для уличного фасада пристройки вызвало отклик по нескольким причинам: они имеют глубину и могут быть интерактивными, они обладают драматическим, скульптурным качеством, они отсылают к существующим внутренним круглые мотивы, и они предполагают штабелированные бочонки или бочки.
Универсальность размеров этих частей, будь то поперечное сечение или длина, позволяет использовать их для еще более сложных программ. Вдохновленный проектом Desparkhotel архитектора Андреаса Штрауса 2006 года, в котором использовались переработанные бетонные трубы для гостиничных номеров, проект TuboHotel от T3arc в Мексике использует аналогичное решение.Каждый простой модуль содержит двуспальную кровать, поддерживаемую стенками трубы, а вход закрыт рамой из металла и стекла. Из-за прочности труб в отеле есть группы до 3 штук, в которых верхняя часть доступна по внешней лестнице.
ТубоОтель / T3arc. Изображение © Луис Гордоа TuboHotel / T3arc. Image © Luis Gordoa Но есть и архитекторы, которые идут еще дальше в своих экспериментах. OPod Tube House, спроектированный Джеймсом Лоу Cybertecture, представляет собой недорогое экспериментальное жилище или микродом, построенный из бетонной водопроводной трубы 2.
Магнитогорск, ФГБОУ ВПО «МГТУ»
) Калинчук Т.В.
Магнитогорск, ФГБОУ ВПО «МГТУ»
Магнитогорск, ФГБОУ ВПО «МГТУ»
Магнитогорск, ФГБОУ ВПО «МГТУ»
СБ-11-2)
В.
А. Нищета
ПЗиСК Кузнецова С.В.
А.
И.
Магнитогорска»
(сборник – 2015 г.)
Магнитогорск, ФГБОУ ВПО «МГТУ»
Магнитогорск, ФГБОУ ВПО «МГТУ»
СПиАД
Г.И.Носова, ИСАиИ