Расчет монолитной плиты перекрытия
Невзирая на высокий ассортимент готовых плит, железобетонные монолитные плиты не утратили своей актуальности, продолжая пользоваться спросом. Особенно актуальным их применение является при строительстве малоэтажной загородной недвижимости, которой характерна индивидуальная планировка с различным размером комнат или в тех случаях, когда для строительства не используются подъемные краны. Такой вариант возведения зданий позволит сэкономить средства на доставке материалов и сократить затраты на монтаж. При этом возрастет время на осуществление подготовительных работ, которые будут связаны с возведением опалубки. Впрочем, этот факт не отпугивает застройщиков, которые не видят трудности в покупке бетона и арматуры. Гораздо сложнее произвести правильный расчет плит перекрытий, определить марку необходимого бетона, вид арматуры, значение действующей нагрузки и прочие связанные с прочностью и надежностью характеристики.
Принцип расчета
Расчет параметров железобетонных конструкций осуществляется в соответствии с регламентом строительных норм и правил СП 52-101-2003 и СНиП 52-01-2003. Процесс ручного расчета конструкций представляет собой ряд этапов, в ходе которых производится подбор таких параметров, как класс бетона и арматуры, поперечного сечения, достаточного для того чтобы избежать разрушения при воздействии максимальных сил нагрузки. В случае использования ПЭВМ находят применение специализированные программные комплексы.
Как показывает практика применения железобетонных плит перекрытия, для упрощения задачи можно пренебречь сложными вычислениями таких величин, как расчет на раскрытие трещин и деформацию, сил кручения и поперечных сил, а также продавливания и местного сжатия. При обычном строительстве в этом нет необходимости, сосредоточив свое внимание на вычислении изгибающего момента, действующего на поперечное сечение.
Характеристики монолитной плиты
Реальная длина плиты может отличаться от расчетного значения пролета, которым принято считать расстояние между стенами, выступающими в виде опор.
Стены выполняют функцию поддержки плиты. Таким образом, пролет – это размер помещения в длину и в ширину. Для его измерения можно использовать простую рулетку, с помощью которой можно измерить расстояние между стенами. При этом реальное значение длины монолитной плиты должно быть обязательно больше. В качестве опор для плиты выступают стены, материалом для которых может послужить распространенный кирпич или шлакоблок, камень, керамзитобетон, газо- или пенобетон. Необходимо учитывать прочность стен, которые должны выдерживать массу плиты. В случае с камнем, шлакоблоком и кирпичом можно не сомневаться в несущей способности, тогда как пенобетонные конструкции должны быть рассчитаны на определенную массу. Для примера произведем расчет однопролетной схемы перекрытия с опорой на две стены, расстояние между которыми составляет 5000 мм.
Геометрические размеры толщины и ширины плиты задаются. Как правило, наиболее часто в загородном строительстве применяют плиты толщиной 0,1 м с условной шириной равной одному метру.
Принимаем за основу конструкцию с армированием плиты перекрытия при помощи арматуры марки А400 при заливке бетона В20. В дальнейшем плита при расчете рассматривается как балка.
Выбор типа опоры
Во время расчета плита перекрытия может по-разному опираться на несущие стены, в зависимости от типа использованного при их возведении материала. Различают следующие варианты опоры:
- жестко защемленная на опорах балка;
- балка консольного типа шарнирно-опертая;
- бесконсольная шарнирно-опертая балка.
Вид опоры определяет принцип расчета. Рассмотрим пример расчета для наиболее распространенного вида конструкции плиты перекрытия с шарнирно-опертой балкой бесконсольного типа.
Определение нагрузки
В процессе строительства, а впоследствии при эксплуатации на балку воздействую различные виды нагрузок. При расчете нас интересуют, прежде всего, динамические и статистические нагрузки, возникающие вследствие передвижения или давления сил временного характера, вызванного перемещением людей, транспорта, работы механизмов и постоянные составляющие, обусловленные массой строительных элементов.
По характеру нагрузки дифференцируются на:
- распределенные хаотически и неравномерно;
- точечные;
- равнораспределенные.
При расчете плиты перекрытия достаточно ориентироваться на равномерные нагрузки. Для сосредоточенной нагрузки усилия измеряются в ньютонах, килограммах (кг), либо килограммсилах (кгс).
В случае с равным распределением актуально апеллировать данными о нагрузке, воздействующей на метр. Для жилых домов параметр равнораспределенной нагрузки составляет в среднем 400 Н/м2. При толщине плиты в 10 см ее масса создаст нагрузку около 250 кг/м2, а с учетом стяжки или использовании керамической плитки она может возрасти до 350 кг/м2. Таким образом, нагрузка рассчитывается с коэффициентом запаса в 20%, составляя:
Q = (400+250+100)*1.
2 = 900 Н/м
Данная величина нагрузочной способности обеспечит прочность при различных вариациях статических и динамических нагрузок. При наличии лестниц или бетонных маршей опирающихся на плиту перекрытия, необходимо брать в расчет их массу и не упускать из виду динамическую нагрузку во время эксплуатации. Проектировка загородных домов должна предусматривать инсталляцию крупных объектов на плите, например, каминов, масса которых может варьироваться от 1 до 3 тонн. Для обеспечения прочности в таких случаях используется местное усиление – армирование или предусматривается отдельная балка.
Расчет изгибающего момента
Для бесконсольного типа балки при наличии равномерно распределенной нагрузки, которая сосредоточена на опорах шарнирного вида показатель максимально изгибающего момента определяется по формуле:
Мmax = (Q * L²) / 8, где
L – длина балки.
При расчете имеем:
Мmax = (900*5²) / 8 = 225 кг/м.
Основания для расчета
Для бетонных плит перекрытий сопротивление материала растяжению практически равно нулю. Такой вывод можно сделать на основании анализа и сопоставления нагрузок на растяжение, которые испытывает арматура и бетон. Разница между этими данными составляет три порядка, что свидетельствует о том, что всю нагрузку берет на себя арматурный каркас. С нагрузками на сжатие ситуация обстоит иначе: силы равномерно распределяются вдоль вектора силы. Как следствие, сопротивление на сжатие принимаем равным расчетному значению.
Для выбора арматуры необходимо определить значение по формуле:
ER = 0,8/ 1+RS/700 , где
RS – расчетное значение сопротивления арматуры, МПа.
Имея значение данные о расстоянии между нижней частью балки и центром окружности, сформированной плоскостью поперечного сечения арматуры, ее марку выбирают исходя из таблицы.
Правильный подбор арматуры обеспечит надежное сцепление с бетоном, которое гарантирует предел прочности без деформаций и растрескиваний. При этом максимальное растягивающее усилие арматуры не должно превышать полученное расчетным путем значение.
При армировании на один погонный метр, как правило, уходит не менее чем пять стержней, которые располагаются равномерно на одинаковых расстояниях. Точное число стержней зависит от нагрузки и определяется по СНиП 52-01-2003. Формируется каркас чаще всего из нескольких слоев стержней, которые могут иметь различное сечение. Сетка скрепляется заранее хомутами или фиксируется при помощи сварки. В качестве элементов армирования чаще всего применяется ненапрягаемая арматура Ат-IIIС и Ат-IVС с наличием термического упрочнения.
Таким образом, расчет железобетонной конструкции плиты перекрытия включает в себя следующие стадии:
- составление схемной реализации перекрытия с компоновкой элементов.
При возведении многоэтажек расстояния между колоннами должны быть кратные 3000 мм в диапазоне величин от 6 до 12 метров. Значение высоты одного этажа может находиться в пределах от 3,6 до 7,2 метра с дискретностью 600 мм. Данные условия помогут упростить вычисление и обеспечить стандартный автоматический расчет; - прочностный конструкционный расчет монолитной плиты. К расчетной части должна прилагаться графическая часть в виде составленного подробного чертежа, который можно составить самостоятельно или доверить его реализацию специалистам из проектных организаций. При этом необходимо произвести расчет элементов перекрытия и главной балки. Выбор бетона при проектировании осуществляется по классу материала на сжатие по заданной прочности, исходя из норм и табличных значений. Как правило, балка и монолит проектируются из одной марки бетона;
- в зависимости от архитектурных особенностей строения может понадобиться расчет колонны, а также ригеля или второстепенной балки;
- на основании всех произведенных расчетов, полученных масс и нагрузок формируется фундамент.
Монолитное основание представляет собой подземную конструкцию, с помощью которого нагрузка от здания передается на грунт. Общий чертеж должен отображать конструкцию здания в целом с учетом изображения положения плит перекрытий, несущих стен и основания.
Расчетная часть строительного проекта для любого здания является необходимой документаций, которая содержит информацию о размерах архитектурного объекта, его особенностях, технологии возведении. При этом именно на основе проекта составляется строительная расходная ведомость, в которую включаются необходимые для возведения здания материалы, определяются трудозатраты. А основе расчета осуществляется планирование материалов, этапов выполнения строительных работ, их объемов и сроков. Прочность и надежность здания во многом зависят от правильности расчетов, качества используемых материалов и соблюдения технологии строительства на каждом из отдельно взятых этапов.
Преимущества применения плит перекрытий
Технология возведения перекрытий в виде армированных бетонных плит обладает целым рядом преимуществ, среди которых:
- возможность сооружения перекрытий для зданий и сооружений с практически любыми габаритами, независимо от линейных размеров.
Единственным нюансом являются конструктивные особенности зданий. При слишком большой площади покрытия для устойчивости перекрытий, отсутствия провисаний устанавливаются дополнительные опоры. Для домов и сооружений, стены которых выполнены на основе газобетона для установки плиты железобетонного перекрытия осуществляют монтаж дополнительных опор, изготовленных из стали или бетона; - отсутствие необходимости масштабных отделочных работ на внутренней части поверхности, которая, как правило, благодаря технологии монолитного литья имеет гладкую и ровную форму;
- высокая степень звукоизолирующих свойств. Принято считать, что плита перекрытия толщиной 140 мм обладает высокой степенью шумоподавления, обеспечивающего комфортность проживания в доме для человека;
- конструктивно данная технология обладает гибкими инструментами для строительства различных архитектурных форм и объектов. Так, например, загородный дом можно с легкостью оборудовать балконом на втором этаже, который будет иметь необходимые размеры и конфигурацию;
- высокий уровень прочности и долговечности строительной конструкции перекрытии в целом, который обусловлен набором прочностных характеристик армированного бетона.

Расчет монолитной плиты перекрытия на примере квадратной и прямоугольной плит, опертых по контуру
При создании домов с индивидуальной планировкой дома, как правило, застройщики сталкиваются с большим неудобством использования заводских панелей. С одной стороны, их стандартные размеры и форма, с другой – внушительный вес, из-за которого не обойтись без привлечения подъемной строительной техники.
Для перекрытия домов с комнатами разного размера и конфигурации, включая овал и полукруг, идеальным решением являются монолитные ж/б плиты. Дело в том, что по сравнению с заводскими они требуют значительно меньших денежных вложений как на покупку необходимых материалов, так и на доставку и монтаж. К тому же у них значительно выше несущая способность, а бесшовная поверхность плит очень качественная.
Почему же при всех очевидных преимуществах не каждый прибегает к бетонированию перекрытия? Вряд ли людей отпугивают более длительные подготовительные работы, тем более что ни заказ арматуры, ни устройство опалубки сегодня не представляет никакой сложности.
Проблема в другом – не каждый знает, как правильно выполнить расчет монолитной плиты перекрытия.
Преимущества устройства монолитного перекрытия ↑
Монолитные железобетонные перекрытия причисляют к категории самых надежных и универсальных стройматериалов.
- по данной технологии возможно перекрывать помещения практически любых габаритов, независимо от линейных размеров сооружения. Единственное при необходимости перекрыть больших пространств возникает необходимость в установке дополнительных опор;
- они обеспечивают высокую звукоизоляцию. Несмотря на относительно небольшую толщину (140 мм), они способны полностью подавлять сторонние шумы;
- с нижней стороны поверхность монолитного литья – гладкая, бесшовная, без перепадов, поэтому чаще всего подобные потолки отделывают только при помощи тонкого слоя шпаклевки и окрашивают;
- цельное литье позволяет возводить выносные конструкции, к примеру, создать балкон, который составит одну монолитную плиту с перекрытием.
Кстати, подобный балкон значительно долговечнее.
- К недостаткам монолитного литья можно отнести необходимость использования при заливке бетона специализированного оборудования, к примеру, бетономешалок.
Внимание!
Устраивать монолитное перекрытие в доме из газобетона можно исключительно после установки дополнительных опор из бетона или железа. Что же касается деревянных построек, то использование такого типа литья запрещено.
Для конструкций из легкого материала типа газобетона больше подходят сборно-монолитные перекрытия. Их выполняют из готовых блоков, к примеру, из керамзита, газобетона или других аналогичных материалов, после чего заливают бетоном. Получается, с одной стороны, легкая конструкция, а с другой – она служит монолитным армированным поясом для всего строения.
Виды ↑
По технологии устройства различают:
- монолитное балочное перекрытие;
- безбалочное – это один из самых распространенных вариантов, расходы на материалы здесь меньше, поскольку нет необходимости закупать балки и обрабатывать перекрытия.

- имеющие несъемную опалубку;
- по профнастилу. Наиболее часто такую конструкцию используют для создания терасс, при строительстве гаражей и других подобных сооружений. Профлисты играют роль несгибаемой опалубки, на которую заливают бетон. Функции опоры будет выполнять каркас из металла, собранный из колонн и балок.
Обязательные условия получения качественного и надежного монолитное перекрытие по профнастилу:
- чертежи, в которых указаны точнейшие размеры сооружения. Допустимая погрешность – до миллиметра;
- расчет монолитной плиты перекрытия, где учтены создаваемые ею нагрузки.
Профилированные листы позволяют получить ребристое монолитное перекрытие, отличающееся большей надежностью. При этом значительно сокращаются затраты на бетон и стержни арматуры.
На заметку
Все монтажные работы выполняются по специально составленным технологическим картам на устройство монолитного перекрытия. Его еще называют основным технологическим документом, предназначенным как для строительных организаций и проектных бюро, так и для мастеров , непосредственно связанных с выполнением монолитных ж/б работ.
Расчет безбалочного перекрытия ↑
Перекрытие этого типа представляет из себя сплошную плиту. Опорой для нее служат колонны, которые могут иметь капители. Последние необходимы тогда, когда для создания требуемой жесткости прибегают к уменьшению расчетного пролета.
Полезно
Экспериментально было установлено, что для безбалочной плиты опасными нагрузками можно считать сплошную, оказывающую давление на всю площадь и полосовую, распределенную через весь пролет.
Расчет монолитной плиты, опертой по контуру ↑
Параметры монолитной плиты ↑
Понятно, что вес литой плиты напрямую зависит от ее высоты. Однако, помимо собственно веса она испытывает также определенную расчетную нагрузку, которая образуется в результате воздействия веса выравнивающей стяжки, финишного покрытия, мебели, находящихся в помещении людей и другое. Было бы наивно предположить, что кому-то удастся полностью предугадать возможные нагрузки или их комбинации, поэтому в расчетах прибегают к статистическим данным, основываясь на теории вероятностей.
Таким путем получают величину распределенной нагрузки.
К примеру:
Здесь суммарная нагрузка составляет 775 кг на кв. м.
Одни из составляющих могут носить кратковременный характер, другие – более длительный. Чтобы не усложнять наши расчеты, условимся принимать распределительную нагрузку qв временной.
Как рассчитать наибольший изгибающий момент ↑
Это один из определяющих параметров при выборе сечения арматуры.
Напомним, что мы имеем дело с плитой, которая оперта по контуру, то есть, она будет выступать в роли балки не только относительно оси абсцисс, но и оси аппликат (z), и будет испытывать сжатие и растяжение в обеих плоскостях.
Как известно, изгибающий момент по отношению к оси абсцисс балки с опорой на две стены, имеющей пролет ln вычисляют по формуле mn = qnln2/8 (для удобства за ее ширину принят 1 м). Очевидно, что если пролеты равны, то равны и моменты.
Если учесть, что в случае квадратной плиты нагрузки q1 и q2 равны, возможно допустить, что они составляют половину расчетной нагрузки, обозначаемой q.
Т. е.
Иначе говоря, можно допустить, что арматура, уложенная параллельно осям абсцисс и аппликат, рассчитывается на один и тот же изгибающий момент, который вдвое меньше, нежели тот же показатель для плиты, которая в качестве опоры имеет две стены. Получаем, что максимальное значение расчетного момента составляет:
Что же касается величины момента для бетона, то если учесть, что он испытывает сжимающее воздействие одновременно в перпендикулярных друг другу плоскостях, то ее значение будет больше, а именно,
Как известно, для расчетов требуется единая величина момента, поэтому в качестве его расчетного значения берут среднее арифметическое от Ма и Мб, которое в нашем случае равно 1472.6 кгс·м:
Как выбрать сечение арматуры ↑
В качестве примера произведем расчет сечения стержня по старой методике и сразу отметим, что конечный результат расчета по любой другой дает минимальную погрешность.
Какой бы способ расчеты вы ни выбрали, не надо забывать, высота арматуры в зависимости от ее расположения относительно осей x и z будет различаться.
В качестве значения высот предварительно примем: для первой оси h01 = 130 мм, для второй – h02 = 110 мм. Воспользуемся формулой А0n = M/bh20nRb. Соответственно получим:
- А01 = 0.0745
- А02 = 0.104
Из представленной ниже вспомогательной таблицы найдем соответствующие значения η и ξ и посчитаем искомую площадь по формуле Fan= M/ηh0nRs.
Получаем
- Fa1 = 3,275 кв. см.
- Fa2 = 3,6 кв. см.
Фактически, для армирования 1 пог. м необходимо по 5 арматурных стержня для укладки в продольном и поперечном направлении с шагом 20 см.
Для выбора сечения можно воспользоваться нижележащей таблицей. К примеру, для пяти стержней ⌀10 мм получаем площадь сечения, равной 3,93 кв. см, а для 1 пог. м она будет в два раза больше – 7,86 кв. см.
Сечение арматуры, проложенной в верхней части, было взято с достаточным запасом, поэтому число арматуры в нижнем слое можно уменьшить до четырех.
Тогда для нижней части площадь, согласно таблице составит 3,14 кв. см.
На заметку
Для расчета подобной плиты в панельном доме согласно имеющимся методикам расчета обычно применяют корректирующий коэффициент для учета также пространственной работы конструкции. Он позволяет примерно на 3–10 процентов сократить сечение. Однако многие специалисты считают, что, в отличие от заводских, для монолитных плит его использование не столь уж обязательно, поскольку при таком подходе возникает необходимость в ряде дополнительных расчетов, к примеру, на раскрытие трещин и прочих. И потом, если центральную часть армировать стержнями большего диаметра, то прогиб посередине будет изначально меньше. При необходимости его можно достаточно просто устранить или скрыть под финишной отделкой.
Пример расчета монолитной плиты перекрытия в виде прямоугольника ↑
Очевидно, что в подобных конструкциях момент, действующий по отношению к оси абсцисс, не может равняться его значению, относительно оси аппликат.
Причем чем больше разброс между ее линейными размерами, тем больше она будет похожа на балку с шарнирными опорами. Иначе говоря, начиная с какого-то момента, величина воздействия поперечной арматуры станет постоянной.
На практике неоднократно была показана зависимость поперечного и продольного моментов от значения λ = l2 / l1:
- при λ > 3, продольный больше поперечного в пять раз;
- при λ ≤ 3 эту зависимость определяют по графику.
Допустим, требуется рассчитать прямоугольную плиту 8х5 м. Учитывая, что расчетные пролеты это и есть линейные размеры помещения, получаем, что их отношение λ равно 1.6. Следуя кривой 1 на графике, найдем соотношение моментов. Оно будет равно 0.49, откуда получаем, что m2 = 0.49*m1.
Далее, для нахождения общего момента значения m1 и m2 необходимо сложить. В итоге получаем, что M = 1.49*m1. Продолжим: подсчитаем два изгибающих момента – для бетона и арматуры, затем с их помощью и расчетный момент.
Теперь вновь обратимся к вспомогательной таблице, откуда находим значения η1, η2 и ξ1, ξ2. Далее, подставив найденные значения в формулу, по которой вычисляют площадь сечения арматуры, получаем:
- Fa1 = 3.845 кв. см;
- Fa2 = 2 кв. см.
В итоге получаем, что для армирования 1 пог. м. плиты необходимо:
- продольная арматура:пять 10-миллиметровых стержней, длина 520 -540 см, Sсеч. – 3.93 кв. см;
- поперечная арматура: четыре 8-миллиметровых стержня, длина 820-840 см, Sсеч. – 2.01 кв.см.
© 2021 stylekrov.ru
Расчет плиты перекрытия
Добавил:
Upload Опубликованный материал нарушает ваши авторские права? Сообщите нам.
Вуз:
Предмет:
Файл:
=жбк!=.docx
Скачиваний:
Добавлен:
Размер:
2.17 Mб
Скачать
Блок: 1/2 | Кол-во символов: 567
Источник: https://StudFiles.net/preview/2855527/
Преимущества устройства монолитного перекрытия
Монолитные железобетонные перекрытия причисляют к категории самых надежных и универсальных стройматериалов.
- по данной технологии возможно перекрывать помещения практически любых габаритов, независимо от линейных размеров сооружения. Единственное при необходимости перекрыть больших пространств возникает необходимость в установке дополнительных опор;
- они обеспечивают высокую звукоизоляцию. Несмотря на относительно небольшую толщину (140 мм), они способны полностью подавлять сторонние шумы;
- с нижней стороны поверхность монолитного литья – гладкая, бесшовная, без перепадов, поэтому чаще всего подобные потолки отделывают только при помощи тонкого слоя шпаклевки и окрашивают;
- цельное литье позволяет возводить выносные конструкции, к примеру, создать балкон, который составит одну монолитную плиту с перекрытием. Кстати, подобный балкон значительно долговечнее.
- К недостаткам монолитного литья можно отнести необходимость использования при заливке бетона специализированного оборудования, к примеру, бетономешалок.
Внимание!
Устраивать монолитное перекрытие в доме из газобетона можно исключительно после установки дополнительных опор из бетона или железа. Что же касается деревянных построек, то использование такого типа литья запрещено.
Для конструкций из легкого материала типа газобетона больше подходят сборно-монолитные перекрытия. Их выполняют из готовых блоков, к примеру, из керамзита, газобетона или других аналогичных материалов, после чего заливают бетоном. Получается, с одной стороны, легкая конструкция, а с другой – она служит монолитным армированным поясом для всего строения.
Блок: 2/6 | Кол-во символов: 1655
Источник: http://stylekrov.ru/raschet-monolitnoj-plity-perekrytiya.html
Калькулятор
Сервис бесплатной оценки стоимости работы
- Заполните заявку. Специалисты рассчитают стоимость вашей работы
- Расчет стоимости придет на почту и по СМС
Номер вашей заявки
Прямо сейчас на почту придет автоматическое письмо-подтверждение с информацией о заявке.
Оформить еще одну заявку
Блок: 2/2 | Кол-во символов: 308
Источник: https://StudFiles.net/preview/2855527/
Как чертить план перекрытий и покрытий
Первое, что необходимо для того чтобы чертить план перекрытий и покрытий, за основу нужно взять план здания без перегородок, внутренних размеров и других элементов.
Далее необходимо разместить несущие элементы перекрытий на несущих стенах в соответствии с существующими нормами, к примеру, сборные плиты перекрытий необходимо опирать на две несущие стены с перекрытием в 15 см на каждой стене.
При раскладке несущих элементов перекрытия, вы увидите, что подбор их ширины также важен, как и длины. Используя разные по ширине плиты, можно избежать образования больших участков недоборов.
Дело проще обстоит с монолитными перекрытиями, так как под них нет необходимости выбирать плиты из сортаментов сборных элементов.
Блок: 3/15 | Кол-во символов: 755
Источник: https://astgift.ru/raschet-plity-perekrytija/
Шаг 2. Проектируем геометрию плиты
Теперь рассмотрим такие основные понятия, как физическая и проектная длина плиты. Т.е. физическая длина перекрытия может быть любой, а вот расчетная длина балки уже имеет другое значение. Ею называют минимальное расстояние между наиболее удаленными соседними стенами. По факту физическая длина плиты всегда длиннее, чем проектная длина.
Вот хороший видео-урок о том, как производится расчет монолитной плиты перекрытия:
Важный момент: несущий элемент плиты может быть как шарнирная бесконсольная балка, так и балка жесткого защемления на опорах. Мы будем приводить пример рассчета плиты на безконсольную балку, т.к. такая встречается чаще.
Чтобы рассчитать всю плиту перекрытия, нужно рассчитать ее один метр для начала. Профессиональные строители используют для этого специальную формулу, и приведет пример такого расчета. Так, высота плиты всегда значится как h, а ширина как b. Давайте рассчитаем плиту с такими параметрами: h=10 см, b=100 см. Для этом вам нужно будет познакомиться с такими формулами:
Дальше – по предложенным шагам.
Блок: 3/6 | Кол-во символов: 1068
Источник: https://KrovGid.com/proekt/raschet-plity-perekrytiya.html
Калькулятор расчета монолитного плитного фундамента
Однако при их использовании необходимо производить расчет арматуры, а также подбирать нужную марку бетона.
По окончании расположения несущих элементов на стенах здания переходят к нанесению обозначений и размеров. К первым можно отнести обозначения монолитных участков, наименование сборных плит перекрытия, выпуски арматуры и другое. Наносимые размеры существенно не отличаются от размеров на плане дома. Они показывают расстояние между осями, габаритные размеры и расстояние по контурам.
Блок: 4/15 | Кол-во символов: 544
Источник: https://astgift.ru/raschet-plity-perekrytija/
Шаги черчения плана перекрытия и покрытия
Обратите внимание на план несущих стен, предоставленный снизу. Мы видим, что все стены не без проемов. Это важный момент. На этом этапе уже у здания должны быть перемычки над проемами.
Использование плана здания без перемычек затруднит процесс раскладки плит перекрытий.
Раскладку плит перекрытий на план дома необходимо начинать с одного из краев. Целесообразность того или иного варианта раскладки необходимо определять по количеству монолитных участков — их должно быть как можно меньше.
Доходя до мест, где невозможно установить плиты, необходимо остановиться и продолжить раскладку непосредственно после этого участка плана перекрытий (на чертеже снизу обозначен красной вертикальной линией).
Участки недоборов, то есть, участки, которые остались незакрытыми плитами перекрытий, необходимо замоноличивать.2) / 8 = 1800 кг/м.
Необходимо знать, что расчет железобетонной арматуры по предельным усилиям согласно СП и СНиП основывается на следующих расчетных предпосылках:
Схема пустотелой армированной плиты перекрытия
- Сопротивление бетона растяжению следует принять равным 0. Подобное допущение производится на том основании, что сопротивление бетона растяжению гораздо меньше сопротивления растяжению арматуры (ориентировочно в 100 раз), следовательно, в растянутой зоне конструкции из железобетона могут образовываться трещины из-за разрыва бетона. Таким образом на растяжение в нормальном сечении работает только арматура.
- Сопротивление бетона сжатию следует принять равномерно распределенным по зоне сжатия. Оно принимается не более расчетного сопротивления Rb.
- Растягивающие максимальные напряжения арматуры следует принимать не более, чем расчетное сопротивление Rs.
Чтобы не допускать эффект образования пластического шарнира и обрушения конструкции, которое возможно при этом, соотношение E высоты сжатой зоны бетона у к расстоянию от центра тяжести арматуры к верху балки h0, E = y/h0, должно быть не более, чем предельное значение ER. Предельное значение должно определяться по следующей формуле:
ER = 0.8 / (1 + Rs / 700).
Это эмпирическая формула, которая основывается на опыте проектирования конструкций из железобетона. Rs — расчетное сопротивление арматуры в МПа. Однако стоит знать, что на данном этапе с легкостью можно обойтись и таблицей граничных значений относительной высоты сжатой зоны бетона.
Блок: 6/10 | Кол-во символов: 1891
Источник: https://1popotolku.ru/perekrytie/raschet-plity-perekrytiya.html
Пример расчета монолитной плиты перекрытия в виде прямоугольника
Очевидно, что в подобных конструкциях момент, действующий по отношению к оси абсцисс, не может равняться его значению, относительно оси аппликат. Причем чем больше разброс между ее линейными размерами, тем больше она будет похожа на балку с шарнирными опорами. Иначе говоря, начиная с какого-то момента, величина воздействия поперечной арматуры станет постоянной.
На практике неоднократно была показана зависимость поперечного и продольного моментов от значения λ = l2 / l1:
- при λ > 3, продольный больше поперечного в пять раз;
- при λ ≤ 3 эту зависимость определяют по графику.
Допустим, требуется рассчитать прямоугольную плиту 8х5 м. Учитывая, что расчетные пролеты это и есть линейные размеры помещения, получаем, что их отношение λ равно 1.6. Следуя кривой 1 на графике, найдем соотношение моментов. Оно будет равно 0.49, откуда получаем, что m2 = 0.49*m1.
Далее, для нахождения общего момента значения m1 и m2 необходимо сложить. В итоге получаем, что M = 1.49*m1. Продолжим: подсчитаем два изгибающих момента – для бетона и арматуры, затем с их помощью и расчетный момент.
Теперь вновь обратимся к вспомогательной таблице, откуда находим значения η1, η2 и ξ1, ξ2. Далее, подставив найденные значения в формулу, по которой вычисляют площадь сечения арматуры, получаем:
- Fa1 = 3.845 кв. см;
- Fa2 = 2 кв. см.
В итоге получаем, что для армирования 1 пог. м. плиты необходимо:
- продольная арматура:пять 10-миллиметровых стержней, длина 520 -540 см, Sсеч. – 3.93 кв. см;
- поперечная арматура: четыре 8-миллиметровых стержня, длина 820-840 см, Sсеч. – 2.01 кв.см.
© 2019 stylekrov.ru
Блок: 6/6 | Кол-во символов: 1724
Источник: http://stylekrov.ru/raschet-monolitnoj-plity-perekrytiya.html
Расчет железобетонной монолитной плиты перекрытия
Железобетонные монолитные плиты перекрытия, несмотря на то, что имеется достаточно большое количество готовых плит, по-прежнему востребованы. Особенно если это собственный частный дом с неповторимой планировкой, в котором абсолютно все комнаты имеют разные размеры либо процесс строительства ведется без использования подъемных кранов.
Монолитные плиты достаточно востребованы, особенно в строительстве загородных домов с индивидуальным дизайном.
В подобном случае устройство монолитной железобетонной плиты перекрытия дает возможность значительно сократить затраты денежных средств на приобретение всех необходимых материалов, их доставку либо монтаж. Однако в данном случае большее количество времени может уйти на выполнение подготовительных работ, в числе которых будет и устройство опалубки. Стоит знать, что людей, которые затевают бетонирование перекрытия, отпугивает вовсе не это.
Заказать арматуру, бетон и сделать опалубку на сегодняшний день несложно. Проблема заключается в том, что не каждый человек может определить, какая именно арматура и бетон понадобятся для того, чтобы выполнить подобные работы.
Данный материал не является руководством к действию, а несет чисто информационный характер и содержит исключительно пример расчета. Все тонкости расчетов конструкций из железобетона строго нормированы в СНиП «Железобетонные и бетонные конструкции. Основные положения», а также в своде правил СП «Железобетонные и бетонные конструкции без предварительного напряжения арматуры».
Монолитная плита перекрытия представляет собой армированную по всей площади опалубку, которая заливается бетоном.
Касательно всех вопросов, которые могут возникать в процессе расчета железобетонных конструкций, следует обращаться именно к данным документам. В данном материале будет содержаться пример расчета монолитного железобетонного перекрытия согласно тем рекомендациям, которые содержатся в данных правилах и нормах.
Пример расчета железобетонной плиты и любой строительной конструкции в целом будет состоять из нескольких этапов. Их суть — подбор геометрических параметров нормального (поперечного) сечения, класса арматуры и класса бетона, чтобы плита, которая проектируется, не разрушилась под воздействием максимально возможной нагрузки.
Пример расчета будет производиться для сечения, которое перпендикулярно оси х. На местное сжатие, на действие поперечных сил, продавливание, на кручение (предельные состояния 1 группы), на раскрытие трещин и расчет по деформациям (предельные состояния 2 группы) производиться не будут. Заранее стоит предположить, что для обыкновенной плоской плиты перекрытия в жилом частном доме подобных расчетов не требуется. Как правило, так оно и есть на самом деле.
Следует ограничиться лишь расчетом нормального (поперечного) сечения на действия изгибающего момента. Те люди, которым не нужно давать пояснения касательно определения геометрических параметров, выбора расчетных схем, сбор нагрузок и расчетных предпосылок, могут сразу перейти к разделу, в котором содержится пример расчета.
Блок: 2/10 | Кол-во символов: 3074
Источник: https://1popotolku.ru/perekrytie/raschet-plity-perekrytiya.html
Смета стоимости монолитной плиты
Среди преимуществ способа нужно отметить простоту и высокую скорость проведения монтажных мероприятий. Нужно отметить, что продукция бывает пустотной и монолитной, но в каждом случае гарантируются высокий уровень надежности, стойкости к огню и влаге. Сборные плиты идеально подходят для создания пролетов, отличающихся простой геометрической формой.
Блок: 8/15 | Кол-во символов: 1569
Источник: https://astgift.ru/raschet-plity-perekrytija/
Армирование монолитных плит перекрытия: основные задачи
Почему нужно проводить армирование плит? Какие основные задачи оказываются достигнутыми благодаря соответствующим строительным мероприятиям?
Монолитные плиты в последнее время становятся все более востребованными. Без них невозможно представить современное строительство, которое существенно упрощается и ускоряется. Среди преимуществ используемой продукции нужно отметить долговечность, влагостойкость и огнеупорность. В результате предполагается возможность для создания теплых перекрытий, которые будут гарантированно защищать жилые помещения от ветра и сильного холода.
Однако понимание физики определяет необходимость армирования монолитной конструкции. Итак, почему требуется позаботиться об армировании? Все обусловлено неправильным распределением нагрузки, которая становится излишней даже для самого крепкого, прочного бетона.
В каждом случае поперечное армирование плиты перекрытия позволяет укрепить создаваемую конструкцию, продлевая срок ее эксплуатации. В большинстве случаев процесс протекает с применением арматуры, диаметр которой составляет от восьми до четырнадцати миллиметров. Кроме того, предполагается создание каркаса, который устанавливается внутри бетонной плиты. Визуально используемый каркас напоминает решетку, причем расстояние между установленными прутьями может быть разным.2 / 23.
Для частных случаев можно получить некоторые определенные значения:
- Плита в плане 6х6 м — Mx = My = 1.9тм.
- Плита в плане 5х5 м — Mx = My = 1.3тм.
- Плита в плане 4х4 м — Mx = My = 0.8тм.
При проверке прочности считается, что в сечении имеется сжатый бетон сверху, а также растянутая арматура снизу. Они способны образовать силовую пару, которая воспринимает моментное усилие, приходящее на нее.
Блок: 10/10 | Кол-во символов: 1122
Источник: https://1popotolku.ru/perekrytie/raschet-plity-perekrytiya.html
Армирование плиты перекрытия: основные преимущества
Современная методика, которая открывает новые возможности в строительстве, обладает важными преимуществами.
- Отсутствует необходимость в поиске тяжелой техники, а точнее – кранов.
- Присутствует возможность для успешного возведения конструкции любой формы.
- Перекрытие может порадовать высоким уровнем прочности, стойкостью к любым внешним факторам.
- Для армированной плиты в качестве опор могут использоваться дополнительные конструкции, например, стены и колонны.
- Можно проводить армирование монолитной плиты для зданий, где влажность достигает 60%. Если же на внутренних стенах присутствует пароизоляция, влажность в помещении может составлять 75%.
- Гарантируется оптимальный уровень звуковой изоляции.
Блок: 10/15 | Кол-во символов: 752
Источник: https://astgift.ru/raschet-plity-perekrytija/
Как армировать монолитную плиту: основные правила
Перед проведением запланированных мероприятий нужно принимать во внимание важные правила. В обязательном порядке нужно руководствоваться технологическим планом, который определяет конечный результат.
- Предполагается возможность использования напряженной сетки, включающей в себя высокопрочные канаты. Предполагается возможность использования сетки для армирования конструкций, которые перекрывают пролеты и с длиной больше 8 метров.
- Для армирования можно использовать обычные сварочные сетки, которые включают в себя прутья с диаметром свыше 6 миллиметров. Расстояние между подобными прутьями не должно превышать 60 сантиметров.
- Толщина платформы и ширина создаваемого перекрытия являются взаимосвязанными. Армирование монолитной плиты должно осуществляться на основе прутьев только, если толщина платформы будет меньше ширины перекрытий. По данной причине перед проведением строительных мероприятий нужно проводить расчет.
- Толщина платформы меньше пятнадцати сантиметров позволяет использовать только однослойной армирование плиты перекрытия. При большей толщине присутствует возможность создания двух слоев, благодаря чему конструкция приобретет оптимальные технические характеристики.
- Для заливки арматуры нужно использовать жидкий бетон. Идеальный вариант – это бетон марки М200. В противном случае используемые материалы не смогут обрести оптимальную прочность.
- Предполагается проведение расчета для того, чтобы гарантировать создание правильной конструкции с оптимальными зонами усиления. Специальная обработка требуется для мест, которые касаются с опорами конструкции, отверстиями, серединой плитой, предполагают наличие скопления нагрузок.
- Вспомогательное армирование перекрытий используется, прежде всего, только для отверстий, основное – на полноценной основе. Несмотря на это, расчет опалубки нужно выполнять на всю длину конструкции.
Блок: 11/15 | Кол-во символов: 1896
Источник: https://astgift.ru/raschet-plity-perekrytija/
Схема армирования плиты перекрытия: что нужно знать?
В настоящее время схема армирования может быть разной, но при этом принцип всегда оказывается классическим:
- Арматура в верхней и нижней части плиты.
- Армирование для перераспределения нагрузки на конструкцию.
- Подставки для катанки.
В дальнейшем схема армирования может различаться. В обязательном порядке все расчеты нужно проводить правильно, так как от этого зависит, насколько надежной будет конструкция монолитного покрытия здания.
Блок: 12/15 | Кол-во символов: 490
Источник: https://astgift.ru/raschet-plity-perekrytija/
Этапы армирования
Итак, как армировать плиту перекрытия? Самое важное – это знать, какие этапы нужно пройти для успешного решения существующего вопроса.
- Расчет нагрузки. Нагрузка на конструкцию может быть разделена на действующую и временную. В первом случае предполагается учет веса плиты, стен, потолка, отделочных материалов, а во втором случае – мебели, оборудования и людей. Впоследствии можно выбрать толщину плиты и бетона, определившись с дальнейшими действиями. Поняв, как армировать бетонную плиту, можно рассчитывать на дальнейшее проведение запланированного мероприятия.
- Опалубку на следующем этапе нужно установить на всю длину монолитного покрытия. Для этого на стойки нужно установить продольные балки, после чего – поднять их на оптимальную высоту. Впоследствии можно монтировать поперечные бруски и закреплять фанеру к ним. Для выравнивания конструкции нужно использовать уровень или нивелир.
- Следующий этап – это создание каркаса на основе разработанной схемы. В большинстве случаев размер ячеек монолитного покрытия составляет 150 на 150 или 200 на 200 миллиметров. Важно, чтобы продольные участки каркаса были целыми. Если же длины оказывается недостаточно, арматуру потребуется укладывать в режиме внахлест. Места соединения элементов арматуры должны располагаться в шахматном порядке. Арматуру можно связывать только специальной проволокой, а не приваривать. Созданный каркас нужно полностью залить бетоном.
- Затем армирование плит предполагает заливку. Залива должна выполняться однократно с использованием бетононасоса. Залитую смесь нужно тщательно уплотнить глубинными вибраторами. Несколько дней плиту нужно разбрызгивать обычной водой для предотвращения появления микротрещин. Эксплуатация может стартовать через месяц.
Для того, чтобы армирование плит было выполнено успешно и удалось правильно установить карниз потолочный для эркера, нужно действовать поэтапно с проведением расчетов и пониманием технических характеристик используемого оборудования.
Для отправки комментария вам необходимо авторизоваться.
| ! | Просьба, в комментариях пишите замечания, дополнения. | ! |
Монолитное перекрытие — это альтернатива сборному перекрытию из плит. Монолитные перекрытия заливаются любой формы, их можно опирать не только на стены, но и на столбы, смотрите статью про монолитный каркас дома.
Монолитное бетонное перекрытие — сложный строительный элемент, проектирование которого всё же лучше доверить архитектору. Проблема в том, что одно дело, когда заливается монолитом только небольшая часть перекрытия, а остальное укладывается заводскими плитами. Совсем другое дело — это монолит целиком всего этажа. Если со стенами брак, халтура, ошибки становятся видны постепенно и обычно без серьёзных проблем, то неправильно построенное монолитное перекрытие — это риск трагических последствий.
У покупных пустотных плит перекрытия есть заводская допустимая нагрузка, например, 800 кг/м2. А вот точную максимальную нагрузку на монолитную плиту может сказать только проект архитектора. И к тому же эта нагрузка будет правильной только при условии, что строительство монолита было сделано без ошибок и из материалов с характеристиками в соответствии с проектом. По этой причине в ИЖС люди, которые льют монолитное перекрытие без проекта, часто перестраховываются и берут большой запас прочности.
Строительство монолитного бетонного перекрытия начинается с установки опалубки. Обычно применяется влагостойкая ламинированная фанера либо, если есть возможность, можно взять в аренду специальную опалубку для монолитных перекрытий. Снизу опалубка поддерживается специальными телескопическими стойками-домкратами (их тоже можно взять в аренду) либо самодельными подпорками из бруса.
Телескопическая стойка имеет максимальную нагрузку, которая зависит от вида стойки, высоты ее установки и способа монтажа. Поэтому допустимая нагрузка может колебаться от 600 до 7000 кг на одну стойку. При плотности железобетона 2500 кг/м3 один квадратный метр залитой плиты толщиной 20 см будет весить 500 кг. Можно рассчитать, какое минимальное количество стоек понадобится для перекрытия. Про вес опалубки тоже надо помнить.
Сверху стоек кладутся продольные балки, а сверху продольных балок кладутся поперечные балки, чтобы фанера лежала на них максимально жёстко и не провисала. Верхняя поверхность, образуемая опалубкой, должна быть максимально ровной.
Блок: 13/15 | Кол-во символов: 4359
Источник: https://astgift.ru/raschet-plity-perekrytija/
Количество использованных доноров: 5
Информация по каждому донору:
- https://1popotolku.ru/perekrytie/raschet-plity-perekrytiya.html: использовано 3 блоков из 10, кол-во символов 6087 (24%)
- https://astgift.ru/raschet-plity-perekrytija/: использовано 9 блоков из 15, кол-во символов 13022 (52%)
- https://KrovGid.com/proekt/raschet-plity-perekrytiya.html: использовано 2 блоков из 6, кол-во символов 1704 (7%)
- http://stylekrov.ru/raschet-monolitnoj-plity-perekrytiya.html: использовано 2 блоков из 6, кол-во символов 3379 (13%)
- https://StudFiles.net/preview/2855527/: использовано 2 блоков из 2, кол-во символов 875 (3%)
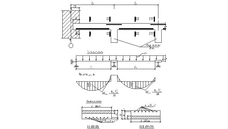
Обследование и расчёт монолитной железобетонной плиты перекрытия
Исходные данные для выполнения расчетаЦель выполнения настоящего расчета — определение фактической несущей способности монолитной железобетонной плиты перекрытия подвала над комнатой отдыха жилого дома.
При расчете учитывались следующие исходные данные и предпосылки:
— со слов Заказчика, плита перекрытия армировалась и бетонировалась как единая конструкция сразу над всем подвалом. Однако, поскольку наверняка установить факт наличия правильного армирования плиты над опорой (средней стеной) на настоящий момент невозможно, расчет плиты перекрытия выполнен без учета ее неразрезности, что идет в запас прочности, поскольку фактические изгибающие моменты, действующие в пролете плиты будут ниже;
— по результатам осмотра жилого дома, монолитная железобетонная плита перекрытия подвала выполнена опертой на стены подвала по контуру. Однако, участок плиты перекрытия над комнатой отдыха условно рассчитывался как балка шириной 1,0 м на двух опорах (продольных стенах помещения), как худший случай работы плиты;
— расчетный пролет: расстояние в свету между продольными стенами помещения составляет 5130 мм (см. схему на рис. 1). Опирание плиты перекрытия выполнена на всю толщину стен здания.
Расчетный пролет, на который выполнялись дальнейшие вычисления принят равным 5,4 м;
— толщина плиты перекрытия: 200 мм;
— материал плиты перекрытия: бетон, по результатам выполненных испытаний, бетон плиты перекрытия соответствует классу В25, Rb = 14,5 МПа.
— рабочая арматура плиты перекрытия: армирование плиты перекрытия, расстояние между стержнями и величина защитного слоя бетона принималось со слов Заказчика, а также по результатам определения шага и защитного слоя бетона неразрушающим методом. Армирование выполнено из стержней периодического профиля диаметром 12 мм, уложенных в двух направлениях с размером ячейки 200х200 мм в два слоя (около нижней и верхней зоны плиты). Для расчета принято армирование из ф12 А400, шаг стержней 200 мм, As = 565 мм2, Rs = 350 МПа. Расстояние от нижней грани плиты перекрытия до центра тяжести нижней рабочей арматуры: принято по результатам определения армирования неразрушающими методами а = 38 мм. Расстояние от верхней грани плиты перекрытия до центра тяжести верхней арматуры принято аналогичным нижней арматуре;
— при расчете плиты перекрытия учитывались нагрузки от следующих слоев: цементно-песчаная стяжка толщиной 100 мм, фактически выполненная на момент расчета, покрытие пола из керамогранита (на момент выполнения расчета не выполнено, принято со слов Заказчика), также учтена отделка потолка в виде штукатурного слоя из цементно-песчаного раствора толщиной 30 мм, как наиболее тяжелый возможный вид отделки. Полезная нагрузка и коэффициенты надежности по нагрузке принимались по СП 20.13330.2016 «Нагрузки и воздействия» (актуализированная редак-ция СНиП 2.01.07-85*).
Вывод по результатам расчета
При расчете монолитной железобетонной плиты перекрытия подвала над комнатой отдыха на принятую нагрузку, расчетные изгибающие моменты превышают предельный момент, который может быть воспринят сечением плиты.
Рекомендации по дальнейшей эксплуатации плиты перекрытия подвала
Поскольку при выполнении расчета выявлено превышение расчетных изгибающих моментов, действующих в плите перекрытия на рассчитанном участке предельного момента, который может быть воспринят сечением плиты, рекомендуется выполнить одно из следующих мероприятий:
- возведение несущей стены под плитой перекрытия в середине пролета (или по возможно-сти ближе к середине пролета), при этом обеспечить передачу нагрузки от плиты перекрытия на эту стену;
- подведение разгружающей балки (балок) под плиту перекрытия, при этом необходимо обеспечить включение этих балок в работу;
- усиление плиты перекрытия другим способом (например — устройство дополнительного армирования снизу плиты с последующим обетонированием и др.).
При выборе конкретного способа усиления плиты перекрытия подвала необходимо предварительно проверить принятое решение расчетом.
Вебинар «ПК ЛИРА 10 в задачах». Тема 26. Расчет железобетонной плиты перекрытия с учетом физической нелинейности
Когда: 25 сентября 2019 11:00 || Ведущий: Канев Данил
Учет физически нелинейной работы материала позволяет получить более точную картину поведения конструкции при ее нагружении, выявлять дополнительные резервы несущей способности, определять точные деформации, производить расчет на прогрессирующее разрушение.
Длительность: 60 — 90 минут
Организатор: ЛИРА Софт
Стоимость: бесплатно
Учет физически нелинейной работы материала позволяет получить более точную картину поведения конструкции при ее нагружении, выявлять дополнительные резервы несущей способности, определять точные деформации, производить расчет на прогрессирующее разрушение.
Возможность учета физически нелинейного поведения материала значительно расширяет круг решаемых задач. В физически нелинейных задачах отсутствует линейная зависимость между напряжениями и деформациями. Материал конструкции подчиняется нелинейному закону деформирования (нелинейная упругость).
Закон деформирования может быть симметричным и несимметричным – с различными пределами сопротивления растяжению и сжатию. Решение этих задач производится шаговым методом.
Вебинар будет интересен ведущим инженерам-конструкторам, главным специалистам, преподавателям ВУЗов.
Программа вебинара:
- Теоретическая часть.
- Линейный расчет для подбора армирования.
- Задание подобранного армирования в качестве исходных данных для нелинейного расчета.
- Преобразование линейной задачи в нелинейную.
- Задание параметров нелинейного материала типа железобетон.
- Изменение типа конечных элементов для физически нелинейного расчета.
- Анализ результатов расчета.
Вебинар позволит вам определять прогибы в физически нелинейной постановке и самостоятельно выполнять физически нелинейные расчеты.
Регистрируйтесь на бесплатный вебинар!
Программы для расчета плит перекрытия
Для частных застройщиков создано большое количество полезных инструментов, один из них — программа для расчета перекрытия. Простые калькуляторы и сложные технические инструменты архитекторов помогут правильно рассчитать нагрузки и не ошибиться при постройке дома.
Интерфейс программы для расчета плит перекрытия Вернуться к оглавлениюСодержание материала
Перекрытия: принцип и важность расчетов
Перед тем как использовать программу для расчета перекрытия, надо определиться с материалом конструкции.
При частном строительстве используют три основных типа перекрытия:
Деревянное
Несущими балками при устройстве деревянного перекрытия выступают: брус (бревно), металлический профиль (швеллер, двутавр, уголок) или железобетонные элементы. Балки застилаются досками, образуя плиты перекрытия. Основываясь при вычислениях на строительных нормах, сечение несущей балки определяется путем суммирования её веса и нагрузки эксплуатационной. Примерная нагрузка межэтажного деревянного перекрытия 400кг/ м². Если не предполагается активная эксплуатация данной зоны, например, в случае создания и обустройства чердака или пространства под крышей, принимаемая во внимание нагрузка может быть уменьшена.
Схема устройства плит перекрытия из дереваВ длину каждой балки из дерева закладывается минимум 24 см, необходимых для её крепления. Важный элемент расчета деревянных конструкций – прогиб балки. Правильные вычисления помогут выбрать оптимальное сечение элемента при заданной длине. Это предотвратит изменение геометрии помещения, и повысит безопасность перекрытия.
Количество необходимых балок рассчитывается, исходя из монтажного шага. Укладку производят, перекрывая узкий пролет, с интервалом от двух с половиной до четырех метров. В свою очередь, шаг зависит от ширины расположения каркасных стоек.
Железобетонные монолитные
В качестве несущих при устройстве монолитных ж/б конструкций перекрытий в доме используются металлические профили или ж/б балки. Плиты перекрытия формируются из монолитных железобетонных деталей. Это позволяет выдерживать большие нагрузки, перевязывать широкие прогоны.
Расчет монолитного перекрытия в специальной программеПри вычислении нагрузки на двутавровую балку её вес без учета стяжки рассчитывается исходя из значения 350 кг/ м², а учитывая стяжку – 500 кг/ м². Монтажный шаг при укладке принято делать равным 1 метру.
При создании ж/б перекрытия работает правило: длина проема должна быть в 20 раз больше высоты балки. Это допустимый минимум. Высота и ширина ж/б элемента так относится друг к другу, как 7 к 5. При расчете перекрытия также необходимо учитывать вероятный изгиб, геометрию плит, выбор армирования и характеристики бетона. В видео показан процесс расчета монолитного перекрытия.
Железобетонные сборные
Элементы для изготовления подобных перекрытий имеют стандартные размеры и специальных расчетов не требуют. Необходимо определиться с их количеством и нагрузкой на общее основание строения.
Предварительный подсчет поможет значительно сэкономить при закупке строительных материалов. Кроме финансовых выгод вычисления нагрузок дадут гарантию безопасности строения.
Если прочность перекрытия не учитывать, постройка может обвалиться и привести не только к дополнительным затратам, но и к ещё более плачевным последствиям. Правильный предварительный расчет – основа безопасности строения.
Вернуться к оглавлениюПрограммы для архитекторов
Профессиональная работа по проектированию зданий и сооружений невозможна без использования технических программ для расчета перекрытия. Если строительство домов является основным занятием, стоит приложить усилия и изучить инструменты по проектированию.
Интерфейс программы ArchiCad для расчета перекрытияСамыми распространенными техническими инженерными программами в проектных организациях являются ArchiCad, AutoCad, Лира, NormCAD и SCAD.
Плюсы инженерных программ по проектированию:
- Универсальность. Любая из программ может быть использована для построения и расчета всех видов перекрытий.
- Точность. При подсчете учитывается большое количество факторов, способных повлиять на нагрузку и прочность конструкции. Такая детальность в подсчетах позволяет получить максимально точные данные.
- Визуализация. Получив результат, строитель наглядно видит, что и как он должен смонтировать, чтобы получить гарантированный результат.
- Подготовка проектной документации. Для профессиональных застройщиков с помощью инженерных программ можно подготовить документацию, которая принимается всеми проверяющими органами.
Недостатки инженерных программ по проектированию:
- Утверждение, что подобные инструменты легко освоить — неверно. Зачастую для их использования необходимо специальное техническое образование, знание сопромата и унифицированных строительных норм.
- Объем информации: для работы с инженерными программами требуется обладать большим количеством данных, в противном случае можно получить неожиданный результат вычислений.
- Ограничение доступа: программы лицензированные, для использования необходима покупка прав на использование.
Калькуляторы и бесплатные программы для проектирования
Для постройки собственного дома тратить время на изучение сложных программ для расчета перекрытия излишне. Специально для тех, кто строит дом своими руками, разработаны несложные инструменты.
Чертеж плиты перекрытия созданный в специальной программеСреди подобного софта есть платный и бесплатный, предназначенный для скачивания, и работающий on-line. Программы для расчета деревянных перекрытий. Если дом, который предстоит построить, деревянный, то для расчета перекрытия удобнее воспользоваться простым софтом.
Ultralam
Инструмент для подсчета нагрузки балок из клееного и профилированного бруса. Основное направление – многопролетные элементы.
Расчет деревянных балок Владимира Романова
Простая программа, считающая нагрузки на деревянные балки. При частном строительстве домов, инструмент помогает подобрать элемент правильно.
Программы для расчета металлических и железобетонных перекрытий
Среди инструментов для вычисления ж/б перекрытий много предложений программного обеспечения.
Интерфейс программы Ultralam для расчета перекрытияЧасть софта необходимо купить для персонального использования. Но также в сети есть возможность скачать бесплатно программы для расчета плит перекрытия.
СИТИС: Форт
Форт — российская разработка ООО «Ситис», предназначенная для подсчета ж/б перекрытия плитами свободной геометрии.
Особенности программы:
- удобный интерфейс, простой в освоении;
- конструкция, не требуется самостоятельного построения схемы — вычисление производится автоматически, на основании запрошенных у пользователя данных;
- удобная цветовая визуализация результата;
- возможность выбирать уровень точности расчетов;
- учет характеристик бетона и возможность пополнения библиотеки материалов.
Способ основан на требованиях актуальных СНиП, сертифицирован ГОССТРОЕМ РОССИИ. Предоставляется этот софт на платной основе.
Перекрытия
Инструмент предназначен для исчисления замены нагрузок на плиты перекрытия.
С её помощью возможно вычисление общей нагрузки как на одну плиту, так и на конструкцию в целом. Для расчета монолитного перекрытия программа не рассчитана.
Позволяет:
- задавать точечные нагрузки;
- редактировать предыдущие проекты и их детали;
- работать с большими площадями перекрытий.
Версии программы периодически обновляются, добавляя ей дополнительный функционал. Скачанный софт необходимо оплатить.
Beam
Инструмент для расчета нагрузки на металлические многопролетные балки:
- определяет прочность несущей конструкции;
- позволяет подобрать верное сечение элемента;
- задает параметры максимальных и минимальных напряжений, углов поворота и прогибов.
Программа является частной разработкой, не сертифицирована. Человек, скачавший её, имеет право бесплатного ознакомления в течение 5 дней.
Интерфейс программы Beam для расчета балок перекрытияВ дальнейшем пользование полным функционалом платное.
Balka
Инструмент для вычисления нагрузки на однопролетные балки:
- определяет жесткость и прочность элементов конструкции;
- помогает с выбором сечения балок.
Является бесплатной версией Beam, поэтому имеет ряд ограничений.
Строитель + расчет железных балок
Программа от частного разработчика, позволяющая рассчитать нагрузку на ж/б ригели.
EURYDICE
Инструмент для расчета и проектирования ж/б перекрытий, предназначенный для сборно-монолитных конструкций.
Балка v2-0-2
Белорусская программа для проектирования любых видов балок перекрытия. Для использования в России подойдут расчеты по металлическим балкам. Белорусские СНиП идентичны российским. Программа лицензированная, платная.
Для домов из дерева большинство программ представляют собой on-line калькуляторы, которые можно найти в открытом доступе Интернета.
Также в сети существуют программы для перекрытий из металла и железобетона. Чтобы воспользоваться этими инструментами, следует ввести в поисковую строку фразу «программа для расчета перекрытия» или «программа для перекрытий». Останется только подобрать подходящий инструмент и воспользоваться им.
Расчет несущей способности железобетонной плиты с круглыми пустотами — ТехЛиб СПБ УВТ
Требуется определить несущую способность железобетонной плиты с круглыми пустотами в связи с увеличением полезной нагрузки.
Поперечное сечение плиты по результатам выполненного инженерно-технического обследования.
Исходные данные для расчета: Плита шарнирно опирается на сборные железобетонные ригели, размер плиты в плане – 1200х6000мм, высота – 220 мм. Бетон В20: Rb=11,5МПа. Продольная рабочая арматура — 4Ø18 А400, Rs=355 МПа. Состав пола плиты: — цементно-песчаная стяжка толщиной t=50мм (ρ=1800кг/м3)$ — керамогранитная плитка. Планируемая нормативная полезная нагрузка – 1,2т/м2.
Сбор нагрузок и определение усилий в железобетонной плите перекрытия:
| Вид нагрузки | Нормативная нагрузка, т/м2 | Коэффициент надежности по нагрузке γf | Расчетная нагрузка, т/м2 |
| Постоянная: | |||
| Керамогранитная плитка | 0,01 | 1,2 | 0,012 |
| Цементно-песчаная стяжка (t=50мм, ρ=1800кг/м3) | 0,09 | 1,3 | 0,117 |
| Собственный вес ж/б плиты перекрытия (ρ=1800кг/м3) | 0,31 | 1,1 | 0,341 |
| Итого постоянная нагрузка | 0,41 | 0,47 | |
| Временная: | |||
| Полезная нагрузка на перекрытие | 1,2 | 1,2 | 1,44 |
| в т.ч. длительно действующая | 1,2х0,7=0,84 | 1,2 | 1,008 |
| Итого полная нагрузка: | 1,61 | 1,91 | |
| в т.ч. постоянная и длительно действующая | 1,25 | 1,478 | |
Сбор нагрузок выполнен в соответствии с СП 20.13330.2011 Нагрузки и воздействия (Актуализированная редакция СНиП 2.01.07-85)
Полная расчетная нагрузка на плиту при ее ширине 1,2м составит:
q=1,91т/м2*1,2 м = 2,292 т/м.
Определяем расчетный изгибающий момент в середине пролета плиты:
М1= q•l02/2 l0=l-bриг/2,
где l =6,0 м – номинальный пролет плиты,
bриг – ширина сечения ригеля.
l0=6,0-0,3/2=5,85 м
М1=2,292•5,852/2=39,22 тм
Определение расчетной схемы и расчетного поперечного сечения плиты:
Определение геометрических размеров расчетного поперечного сечения плиты:
b=1160-6•159=206 мм;
a – расстояние до центра арматуры (толщина защитного слоя), определено по результатам вскрытия плиты;
h0=h-a=220-30,5=189,5 мм – рабочая высота сечения;
согласно п.3.26 Пособия по проектированию бетонных и железобетонных конструкций из тяжелого бетона без предварительного напряжения арматуры к СП 52-101-2003 – значение b’f, вводимое в расчет, принимают из условия, что ширина свеса полки в каждую сторону от ребра должна быть не более 1/6 пролета элемента и не более:
а) при наличии поперечных ребер или при h’f ≥ 0,1h — 1/2 расстояния в свету между про-дольными ребрами;
б) при отсутствии поперечных ребер (или при расстояниях между ними больших, чем рас-стояния между продольными ребрами) и при h’f < 0,1h — 6h’f;
в) при консольных свесах полки:
— при h’f ≥ 0,1h — 6h’f ,
— при 0,05h ≤ h’f < 0,1h — 3h’f;
— при h’f < 0,05h — свесы не учитывают.
т.к h’f=30,5мм ≥ 0,1h=0,1•220=22 мм, то ширина свеса полки в каждую сторону от ребра составит 6h’f=6•30,5= 183 мм.
Тогда b’f будет равно:
b’f=206+2•183=572мм < 1/6•6000=1000 мм.
Окончательно принимаем b’f=572 мм.
Руководство по проектированию железобетонных перекрытий
🕑 Время чтения: 1 минута
Основы проектирования железобетонных перекрытий Плиты обычно проектируются исходя из предположения, что они состоят из нескольких балок шириной «один метр». 1. Полезный пролет перекрытия Эффективный пролет плиты с простой опорой следует принимать как меньшее из следующих значений:- Расстояние между центрами подшипников,
- Пролет в свету плюс эффективная глубина
| Тип плиты | Отношение пролета к глубине |
| Простая опора и пролет в одном направлении | 30 |
| Непрерывный и односторонний | 35 |
| Простая опора и охват в двух направлениях | 35 |
| Непрерывный и двухсторонний | 40 |
| Консольные плиты | 12 |
- В три раза больше эффективной глубины плиты и
- 45 см.
- В пять раз больше эффективной глубины плиты и
- 45 см.
- 15 мм и
- Диаметр основного стержня.
5.
Методика проектирования бетонных перекрытий Шаги, которые необходимо соблюдать при проектировании плиты- Принимая подходящие подшипники (не менее 10 см), найдите пролет плиты между центрами подшипников.
- Принять толщину плиты (принимать 4 см на метр пролета).
- Найдите эффективный пролет, который меньше (i) расстояния между центрами подшипников и (ii) свободного пролета и эффективной глубины.
- Найдите статическую и временную нагрузки на квадратный метр плиты.
- Определите максимальный изгибающий момент для полосы плиты шириной один метр.
- Приравнять уравновешенный момент сопротивления к максимальному изгибающему моменту
- Рассчитать основную арматуру на метр ширины
Проектирование бетонных перекрытий | Beam Design
НОВОСТИ | ПРОГРАММНОЕ ОБЕСПЕЧЕНИЕ | ЛИСТ
Перед тем, как начать какой-либо проект, вам необходимо оценить реальные затраты на строительство, включая гонорары подрядчика.И для этого расчета действительно очень важны измерения таких железобетонных конструкций, как балки, плиточный фундамент, колонны и фундаментные фундаменты.
Из этой статьи вы узнаете, как производить измерения, а также расчет различных железобетонных работ.
Согласно инженерному исследованию Armor-plated Solid:
- Число может быть от четырех до пяти (два ближайших десятичных знака).
- Колонны, балки и плиты следует рассчитывать отдельно.
- Стоимость нескольких позиций, таких как стальная опора до 0,1 кв. трубопровод / оболочка с поперечным сечением не более 100 кв. см и отливом, галтелем, фаской, ложем, откатом или канавкой максимальной длины до 10 см. в стальной опоре во время расчета не будет учитываться.
Как рассчитать объем бетонного основания:
- Прямоугольный объем = L * B * D.
- Трапециевидный объем = H / 3 (A1 + A2 + SQRT (A1 + A2)); где A1 и A2 — верхняя и нижняя прямоугольные области, H — глубина основания.
- Следовательно, общий объем = (прямоугольный объем + трапециевидный объем).
Измерение на хроматографической колонке RCC : Для этого вам необходимо начать измерения с самой нижней колонки, начиная с подземного основания первого этажа до конца колонки самого верхнего этажа.Помните, что столбец пластины включает вспышку столбца.
Измерение балок RCC : При измерении балки следует учитывать грань колонны / балки и бифуркацию (если есть). Глубина балки означает всю площадь между нижней частью пластины и нижней частью балки (или от верха пластины до верха балки).
Измерение базы RCC : Этот расчет может варьироваться в зависимости от условий на объекте.Например, это может быть расстояние от верха основания до верха или низа балки основания. Если во время измерения вы делаете упор на основание нижней части балки, вы должны учитывать тот факт, что расчет должен производиться от нижней части балки до нижней опорной плиты. Высота основания может быть увеличена до уровня основания / балки основания. Высота должна быть уточнена.
Статья Источник: theconstructor.org
Калькулятор бетонной арматурной сетки — Дюймовый калькулятор
Введите размеры плиты и размер сетки, используемые для расчета необходимого количества арматуры.
Расчет с использованием длины и ширины перекрытия
Расчет с использованием площади перекрытия
Как рассчитать бетонную арматурную сетку
Сетка — популярный материал, используемый для армирования бетонных плит и заливки в качестве замены арматуры или в дополнение к арматуре. Количество арматуры, необходимой для проекта, можно рассчитать за несколько простых шагов.
Шаг первый: расчет площади перекрытия
Первым шагом к оценке арматуры является определение размера бетонной плиты, которая будет заливаться. Если вы уже знаете эту цифру, вы можете перейти ко второму шагу.
Площадь заливки можно найти, умножив длину в футах на ширину в футах. В результате получается квадратный метр плиты.
Вот формула для определения площади:
площадь = длина × ширина
Для фигур, отличных от прямоугольника, вам понадобится соответствующая формула для вычисления площади или вы можете использовать калькулятор площади в квадратных футах.
Шаг второй: расчет покрытия сетки
Второй шаг — найти покрытие рулона или листов сетки, которые будут использоваться для проекта. Иногда покрытие в квадратных футах предоставляется производителем, но если нет, его можно найти, используя формулу площади выше.
Шаг третий: разделение области перекрытия на область армирования
Последний шаг в оценке количества рулонов или листов арматурной сетки — разделить квадратные метры плиты на квадратные метры армирующей сетки.Это формула:
необходимая сетка = площадь плиты ÷ площадь сетки
Например, давайте найдем количество рулонов сетки размером 5 x 50 футов, необходимое для усиления плиты размером 25 на 25 футов.
Сначала найдите площадь плиты.
площадь = 25 ′ × 25 ′
площадь = 625 кв. футов
Затем найдите покрытие рулона.
покрытие = 5 ′ × 50 ′
покрытие = 250 кв. футов
Наконец, разделите площадь плиты на покрытие.
Необходимые рулоны = 625 кв. футов ÷ 250 кв. футов Необходимо
рулонов = 2.5
Таким образом, для усиления плиты размером 25 x 25 футов потребуется 2 1/2 рулона 5 x 50 футов.
Как учитывать притирку
При расчете материала армирующей сетки необходимо учитывать перекрытие. Притирка необходима для повышения прочности по краю сетки и противодействия растрескиванию.
Чтобы учесть притирку, рассчитайте нахлест как процент необходимого дополнительного материала. Формула для определения процента перекрытия:
процент притирки = перекрытие ÷ ширина арматуры
Например, позволяет найти процент притирки для 6-дюймового притира при использовании рулона сетки шириной 5 футов.Обратите внимание, что 5 ‘равно 60 ″, что является значением, используемым в формуле ниже.
процент притирки = 6 ″ ÷ 60 ″
процент притирки = 0,10
Таким образом, для нахлеста 6 дюймов потребуется 10% дополнительного материала, потому что 0,10 равно 10%.
Не забудьте попробовать наш калькулятор бетона для следующей заливки.
Проектирование бетонных полов по типу грунта: | ||
| (Ссылка: Единые критерии проектирования объекта — бетонные перекрытия на уровне, подпадающем под Тяжелые грузы) | ||
| Этажи — Макс.Стационарный LL |
| |
| Полы — Толщина для Ст. LL |
| |
| Этаж — транспортная нагрузка |
| |
| Полы на модифицированном грунте |
| |
| Полы — армированная плита, длина |
| |
| Полы — Необходимое армирование |
| |
| Бетон — прочность на изгиб |
| |
| Бетон — прочность на сжатие |
| |
| Коэффициент подшипника для Калифорнии, CBR |
| |
| Модуль реакции грунта, k |
| |
| Этажи — Макс. Нагрузка на край стены |
| |
| Полы — толщина стенки Ld |
| |
| Полы — центральная / совместная нагрузка на стену |
| |
| Полы — CTR Wall Ld Толщина |
| |
| Полы — Арматура |
| |
| Полы — Fiber Deflection |
| |
| Полы — волокно допустимое дефл. |
| |
| Проблема дизайна 1. |
| |
Расчет предельных нагрузок двухсторонних железобетонных плит
[1] Бейли С.G., Toh W. S: Пожарная безопасность J. Vol. 42 (2007), стр. 425.
[2] Усмани А.С. и Кэмерон Нью-Джерси: Цемент Бетон Ком. Vol. 26 (2004), стр.127.
[3] Dong YL, Fang YY: Mag Concrete Res. Vol. 62 (2010), стр.17.
[4] Dong YL: Mag Concrete Res.Vol. 62 (2010), с. 497.
[5] Роберт Парк и Уильям Лео Гэмбл: железобетонные плиты. (Джон Вили и сыновья, США, 2000 г.).
[6] Требования строительных норм для железобетона (GB50010-2002): (China Architecture & Building Press, Пекин, 2002).(На китайском).
[7] Тейлор Р., Махер DRH и Хейс Б.: Mag Concrete Res. Vol. 18 (1966), стр.85.
Нелинейный расчет плиты перекрытия из фибробетона в предельном состоянии эксплуатационной пригодности с помощью RFEM
Расчет плиты перекрытия из бетона, армированного стальным волокном, состоит из расчета предельного состояния по конечному состоянию и расчета по предельному состоянию по пригодности к эксплуатации.Процедура выполнения расчета по предельному состоянию уже была объяснена в предыдущей технической статье. Расчет предельного состояния эксплуатационной пригодности теперь выполняется для плиты перекрытия, описанной в этой предыдущей статье. В этой статье показано, как выполнить соответствующий дизайн для SLS с помощью итеративно определенных результатов FEA.
Введите топологию и нагрузки
Геометрия пластины и приложенные нагрузки передаются из расчета по предельному состоянию (см. Техническую статью, упомянутую выше).
Рисунок 01 — Плита перекрытия со стеллажными нагрузками
При расчетах предельных состояний эксплуатационной пригодности также необходимо учитывать положительные эффекты усадки. При усадке плита перекрытия хочет сжаться. Из-за взаимного соединения или трения плиты перекрытия о грунт возникают растягивающие напряжения, которые необходимо учитывать. Опорная плита заделывается в следующую структуру слоев (сверху вниз): опорная плита, пленка в качестве разделительного слоя, изоляция по периметру, нижний бетонный слой, грунт.Согласно [3], таблица 4.19, для этой слоистой структуры рекомендуется коэффициент трения μ 0 0,8. Для расчетного значения μ 0, d авторы [3] рекомендуют частичный коэффициент запаса прочности γ R = 1,25.
μ 0, d = γ R ⋅ μ 0 = 1,25 ⋅ 0,8 = 1,0
В RFEM коэффициент трения μ 0, d можно определить как нелинейность поверхностно-упругого основания. На рисунке 02 показан вариант настройки в программе.
Рисунок 02 — Определение коэффициента трения в параметрах поверхностно-упругого основания
В случае промышленных плит перекрытия вертикальная нагрузка имеет большое значение для формирования положительного воздействия из-за деформации усадки. Перед приложением нагрузок стеллажа и хранимых товаров доступен только собственный вес плиты перекрытия. В результате сопротивление трению нижней плиты перекрытия относительно невелико.Растягивающая сила N ctd , возникающая в результате трения (относительно полосы шириной 1 м) в плите пола, определяется следующим образом.
N ctd = μ 0, d ⋅ σ 0 ⋅ L / 2
где
N ctd … Расчетное значение для определения растягивающего напряжения в плите перекрытия при достижении силы трения
μ 0, d … Расчетное значение трения
σ 0 … Контактное напряжение с грунтом
L … Длина опорной плиты при перемещении по грунту
σ 0 = 0.19 м ⋅ 1,0 м ⋅ 25 кН / м² = 4,35 кН / м² (собственный вес плиты)
N ctd = 1,0 ⋅ 4,75 кН / м² ⋅ 24,40 м / 2 = 57,95 кН / м
Максимум результирующее растягивающее напряжение σ ct, d в результате трения, таким образом, приводит к
σ ct, d = N ctd / A ct = 57,95 кН / м / 0,19 м = 305 кН / м² = 0,305 МН / м²
Напряжение при растяжении бетона, возникающее в результате трения под собственным весом плиты перекрытия, меньше прочности бетона на растяжение f f ctm, fl .В результате деформация усадки может быть устранена от трещин под собственным весом плиты.
Однако после приложения нагрузок на полку / опорных реакций из-за повышенных сил трения под более высокими опорами полки возникают сдерживающие силы, которые необходимо учитывать при расчетах. В этом проекте время приложения нагрузок на полку предполагается равным t = 180 дней после бетонирования плиты перекрытия. Для расчета деформации усадки t s = 7 дней используется как начало усадки и t = 18 250 дней как конец использования.Кроме того, предполагается относительная влажность 50%. Деформация усадки применяется как внешняя поверхностная нагрузка с помощью типа нагрузки осевой деформации. На этом этапе мы хотели бы указать, что вы можете использовать вспомогательный инструмент в диалоговом окне «Нагрузка на поверхность», который позволяет легко определять деформацию усадки.
Рисунок 03 — Создание поверхностной нагрузки из-за усадки
При применении деформации усадки необходимо учитывать, что усадка не вызывает каких-либо ограничений в пластине до момента времени t = 180 дней.Следовательно, только положительная деформация усадки ε cs, wk должна применяться для расчета в момент времени t = 18 250 дней. Он рассчитывается как разница деформаций усадки при t = 18 250 и t = 180 дней. Подробный расчет индивидуальных деформаций усадки в этой статье не описывается.
ε cs, wk = ε cs (18,250, 7) — ε cs (180, 7) = -0,515 ‰ — (-0,258 ‰) = 0,257
Положительная деформация усадки определяется как дополнительная нагрузка, учтенная в комбинаторике нагрузок для времени t = 18 250 дней.
Рисунок 04 — Определение положительной деформации усадки
Для расчета предельного состояния эксплуатационной пригодности требуется расчетная ситуация «Квазипостоянная». Учитывается переменная нагрузка для складских помещений с коэффициентом комбинирования ψ 2 = 0,8. Эти сочетания нагрузок используются для расчета напряжений, а также для ограничения ширины трещин, вызванных действием нагрузки.
Чтобы учесть воздействие усадки в конце использования (t = 18,250 дней), ранее созданные комбинации нагрузок копируются, а вариант нагружения «Усадка» добавляется к положительной деформации усадки ε cs, wk .Эти сочетания нагрузок используются позже для анализа ширины трещины под действием нагрузки с ограничением.
Определение свойств материала для расчета предельного состояния эксплуатационной пригодности
Используйте модель материала «Isotropic Damage 2D / 3D» дополнительного модуля RF-MAT NL для отображения поведения материала в бетоне, армированном стальной фиброй, в RFEM. Мы используем бетон C30 / 37 L1.2 / L0.9 в качестве бетона, армированного стальной фиброй, в соответствии с DIN EN 1992-1-1 [2] и директивой Немецкого комитета по железобетону (DAfStb) в отношении бетона, армированного стальной фиброй [1 ] с двумя классами производительности L1 / L2 = L1.2 / L0.9. Для нелинейного расчета мы применяем параболическое распределение согласно 3.1.5 [2] на стороне сжатия диаграммы напряжения-деформации. На рисунке 05 показано характерное распределение рабочей линии вышеупомянутого бетона, армированного стальными волокнами.
Рисунок 05 — Характеристическая рабочая линия C30 / 37 L1.2 / L0.9
Мы должны использовать характеристическую кривую напряжения-деформации для предельного состояния эксплуатационной пригодности.В качестве справки по допустимым значениям ввода или помощи для расчета точек диаграммы вы можете загрузить файл Excel в конце этой технической статьи. Вы можете перенести эти точки диаграммы в диалоговое окно ввода RFEM с помощью буфера обмена (см. Также рекомендации в статье о конструкции ULS).
Расчет предельного состояния эксплуатационной пригодности
При выполнении расчета предельного состояния эксплуатационной пригодности необходимо рассчитать максимально допустимые предельные напряжения
- в соответствии с 7.2, DIN EN 1992-1-1 [2],
- ширина трещин согласно 7.3, DIN EN 1992-1-1 [2] и
- деформации согласно 7.4, DIN EN 1992-1-1 [2].
После успешного нелинейного расчета опорной плиты, деформации и напряжения на верхней и нижней стороне оцениваются и используются для индивидуальных расчетов.
A) Расчет предельных напряжений
Расчет максимального напряжения сжатия бетона согласно 7.2 (3) [2] выполняется, если максимальное сжимающее напряжение бетона остается меньше 0.45 ⋅ f ck при квазипостоянной нагрузке. Для этого минимальные напряжения на верхней и нижней стороне проверяются из расчета FEM и сравниваются с предельным значением.
Верхняя сторона:
максимальное напряжение сжатия σ 2- = | — 8,5 | Н / мм² <0,45 ⋅ f ck = 13,5 Н / мм²
Нижняя сторона:
максимальное напряжение сжатия σ 2+ = | — 3,1 | Н / мм² <0,45 ⋅ f ck = 13,5 Н / мм²
На рисунке 06 показано максимальное сжимающее напряжение на верхней стороне (-z) фундаментной плиты.
Рисунок 06 — Максимальное сжимающее напряжение на верхней стороне плиты
Поддержание максимального напряжения сжатия бетона успешно проверено.
Расчет ограничения максимального напряжения арматурной стали согласно 7.2. (4) и (5) [2] здесь не выполняются, потому что нет армирующей стальной арматуры.
B) Анализ ширины трещины по действию нагрузки
Анализ ширины трещины выполняется, с одной стороны, для чистого воздействия нагрузки (в момент времени t = 180 дней), а с другой стороны, с дополнительным учетом подлежащих ограничению к усадке в конце использования (t = 18 250 дней).См. Также пояснения относительно усадки выше.
Ширина существующей трещины определяется на основе комбинации квазипостоянного воздействия. Существующая ширина трещины является результатом интегрирования определяющих деформаций по ширине полосы трещины. Пропускная способность трещин различна для каждой ситуации нагрузки, и ее нужно брать вручную из результатов расчета МКЭ. Ширина полосы трещины перпендикулярна рассматриваемому направлению деформации и включает деформации, превышающие деформацию трещины ε cr = 0.1 ‰.
$ {\ mathrm w} _ {\ mathrm k, \ mathrm {vorh}} \; = \; \ int {\ mathrm \ varepsilon} _ {\ mathrm {wk}} \ mathrm {dl} $
, где
ε Wk … Деформация растяжения в полосе трещин
дл … Дифференциал ширины полосы трещин
Чтобы отобразить пределы полос трещин в RFEM, вы также можете управлять цветовой панелью таким образом, чтобы деформация была больше чем отображается деформация трещины (см. Рисунок 07).
Рисунок 07 — Отображение ширины полосы трещин для трещин, перпендикулярных оси x
Для оценки деформации и ширины полосы трещин мы рекомендуем создать сечение для каждой рассматриваемой полосы трещины в RFEM.В этом разделе вы можете легко найти среднюю деформацию растяжения и ширину полосы трещин. Сечение должно быть определено параллельно отображаемому направлению деформации. Ширина трещины, перпендикулярной оси x на нижней стороне, является определяющей в анализируемой плите. На рисунке 08 показано созданное сечение со средним значением деформаций растяжения и интегральной длины.
Рисунок 08 — Сечение по ширине трещины
Существующая ширина трещины w k, prov в результате действия чистой нагрузки (t = 180 дней) дает
w k, prov, x = 0.219 ⋅ 1,172 м = 0,26 мм <0,3 мм (для экспозиционного класса XC 2).
C) Анализ ширины трещины по действию нагрузки и воздействию из-за ограничения
Анализ ширины трещины из-за действия нагрузки с ограничением от усадки приводит к результатам в конце срока службы. При расчете ширины трещины с использованием деформаций из расчета МКЭ важно убедиться, что напряжение, вызывающее деформацию, определяется простым пересчетом. Это можно объяснить усадочными характеристиками пластины до момента времени t = 180 дней.Если пластина может сжиматься без ограничений, расчет методом конечных элементов приводит к деформации, равной деформации усадки. Результирующее напряжение равно нулю. Растягивающее напряжение возникает только тогда, когда возникает так называемая деформация, вызывающая напряжение ε wk, ограничение .
ε нед, ограничение = ε FEM + | ε cs, wk |
, где
ε wk, ограничение … деформация, вызывающая напряжение
ε FEA … деформация из расчета FEM
ε cs, wk … деформация усадки
Чтобы определить ширину полосы трещины в RFEM, необходимо сначала определить деформацию конечного элемента, при которой элемент растрескивается под приложенным ограничением.
ε cr, FEM, restraint = ε cs, wk + ε cr = -0,257 ‰ + 0,1 ‰ = -0,157 ‰
На рисунке 09 показан управляющий участок для расчета ширины трещины с действием нагрузки и эффекты из-за сдержанности. Чтобы учесть деформации по ширине полосы трещины, сечение необходимо разделить на несколько участков.
Рисунок 09 — Оценка деформации для расчета ширины трещины с ограничением
Существующая ширина трещины рассчитывается следующим образом:
$ {\ mathrm w} _ {\ mathrm k, \ mathrm {prov}} \; = \; \ int {\ mathrm \ varepsilon} _ {\ mathrm {wk} , \ mathrm {zwang}} \ mathrm {dl} $.
w k, prov, y = (-0,089 ‰ + 0,257 ‰) ⋅ 0,335 м + (0,059 ‰ + 0,257 ‰) ⋅ 0,450 м + (-0,093 ‰ + 0,257 ‰) ⋅ 0,402 m = 0,27 мм <0,30 мм (для класса экспозиции XC 2)
Ширина трещины может быть проверена.
D) Анализ деформации
Максимальные деформации могут быть взяты непосредственно из результатов RFEM. Общее смещение при квазипостоянной нагрузке составляет 32,8 мм. Разница деформации опорной плиты возникает из разницы минимальной и максимальной деформации и составляет 32,8 мм — 9 мм = 23,8 мм (см. Рисунок 10).
Рисунок 10 — Деформация опорной плиты при квазипостоянной нагрузке
Допустимые предельные значения и соответствующая совместимость системы для стойки должны быть согласованы с производителем стойки.
Наконец, мы хотели бы отметить очень полезные рекомендации по выполнению нелинейных расчетов с моделью материала «Isotropic Damage 2D / 3D» в технической статье о расчете окончательного предельного состояния.
Расчет конструкциидля плиты
ВВЕДЕНИЕ
Плита — это структурный элемент, который используется для поддержки потолков и полов. Он сделан из бетона, и для его поддержки предусмотрена арматура. Он имеет толщину в несколько дюймов и опирается на балки и колонны.Подсчитано, что бетонная плита служит от 30 до 100 лет, если она построена из бетона и стали хорошего качества. Обычно в жилых помещениях используется М20.
Есть два типа плит — односторонняя и двухсторонняя. Двусторонние плиты поддерживаются с четырех сторон, а односторонние плиты поддерживаются с двух противоположных сторон. Двусторонние плиты несут нагрузку в двух направлениях, поэтому усиление обеспечивается в обоих направлениях. В то время как в односторонней плите арматура обеспечивается в одном направлении, поскольку она несет нагрузку в одном направлении.В односторонней плите отношение более длинного пролета к меньшему больше или равно 2, в то время как в двухсторонней плите отношение длинного пролета к меньшему составляет менее 2.
Здесь в этой задаче сначала показан план дома, затем изображены плиты перекрытия согласно плану дома. План, используемый для расчета силы тяжести здания, также аналогичен планам перекрытия. Здесь берутся первичные лучи, а вторичные лучи не включаются, чтобы сделать расчеты краткими. Кроме того, отношение длинных и коротких пролетов составляет менее 2 во всех панельных плитах, поэтому все плиты являются двусторонними.Метод проектирования соответствует Приложению D IS 456: 2000.
ПРОЕКТИРОВАНИЕ ПЛИТЫ:
Дизайн типовой плиты перекрытия:
У нас толщина плиты составляет 130 мм.
С учетом марки бетона М20 и стали Fe 500 диаметром 10 мм
Эффективная глубина: (130-15-10 / 2) = 110 мм.
Расчет нагрузки:
Динамическая нагрузка = 2 кН / м 2
Собственный вес плиты = 3,25 кН / м 2
Отделка пола = 1 кН / м 2
Всего = 6.25 кН / м 2
Определение моментов плит (плита с боковым ограничением):
Согласно IS 456: 2000, пункт D-1.1, максимальный изгибающий момент на единицу ширины плиты равен-
M x = α x Wl x 2
M y = α y Wl y 2
Где l x и l y — длина более короткого и более длинного пролета соответственно,
α x , α y — моментные коэффициенты,
M x и M y — моменты на полосах ширины блока l x и l y соответственно,
Вт = общая расчетная нагрузка на единицу площади.
Проверка толщины
Здесь наибольший момент взят из таблицы ниже.
Следовательно Сейф
Расчет Б.М. Коэффициент
| Панель нет. | л x (м) | л л (м) | л л / л x | Тип | Отрицательная α x | Отрицательная α y | Положительное α x | Положительный α y | |
| 1 | 3.35 | 4,42 | 1,32 | Две смежные кромки с разрывом | 0,066 | 0,047 | 0,050 | 0,035 | |
| 2 | 3,35 | 3,73 | 1,11 | Одна длинная прерывистая кромка | 0,045 | 0,037 | 0,034 | 0,028 | |
| 3 | 3,35 | 3,73 | 1,11 | Одна длинная прерывистая кромка | 0.045 | 0,037 | 0,034 | 0,028 | |
| 4 | 3,35 | 4,42 | 1,32 | Две смежные кромки с разрывом | 0,066 | 0,047 | 0,050 | 0,035 | |
| 5 | 3,65 | 4,42 | 1,21 | Одна короткая прерывистая кромка | 0,048 | 0,037 | 0,036 | 0.028 | |
| 6 | 3,65 | 3,73 | 1.02 | Внутренняя панель | 0,033 | 0,032 | 0,025 | 0,024 | |
| 7 | 2,72 | 3,65 | 1,34 | Внутренняя панель | 0,049 | 0,032 | 0,037 | 0,024 | |
| 8 | 3,65 | 3.73 | 1.02 | Внутренняя панель | 0,033 | 0,032 | 0,025 | 0,024 | |
| 9 | 3,65 | 4,42 | 1,21 | Одна короткая прерывистая кромка | 0,048 | 0,037 | 0,036 | 0,028 | |
| 10 | 3,6 | 4,42 | 1,23 | Одна короткая прерывистая кромка | 0.049 | 0,037 | 0,037 | 0,028 | |
| 11 | 3,6 | 3,73 | 1,04 | Внутренняя панель | 0,034 | 0,032 | 0,025 | 0,024 | |
| 12 | 2,72 | 3,6 | 1,32 | Внутренняя панель | 0,048 | 0,032 | 0,037 | 0,024 | |
| 13 | 3.6 | 3,73 | 1,04 | Внутренняя панель | 0,034 | 0,032 | 0,025 | 0,024 | |
| 14 | 3,6 | 4,42 | 1,23 | Одна короткая прерывистая кромка | 0,049 | 0,037 | 0,037 | 0,028 | |
| 15 | 3,6 | 4,42 | 1,23 | Одна короткая прерывистая кромка | 0.049 | 0,037 | 0,037 | 0,028 | |
| 16 | 3,6 | 3,73 | 1,04 | Внутренняя панель | 0,034 | 0,032 | 0,025 | 0,024 | |
| 17 | 2,72 | 3,6 | 1,32 | Внутренняя панель | 0,048 | 0,032 | 0,037 | 0,024 | |
| 18 | 3.6 | 3,73 | 1,04 | Внутренняя панель | 0,034 | 0,032 | 0,025 | 0,024 | |
| 19 | 3,6 | 4,42 | 1,23 | Одна короткая прерывистая кромка | 0,049 | 0,037 | 0,037 | 0,028 | |
| 20 | 3,65 | 4,42 | 1,21 | Одна короткая прерывистая кромка | 0.048 | 0,037 | 0,036 | 0,028 | |
| 21 | 3,65 | 3,73 | 1.02 | Внутренняя панель | 0,033 | 0,032 | 0,025 | 0,024 | |
| 22 | 2,72 | 3,65 | 1,34 | Внутренняя панель | 0,049 | 0,032 | 0,037 | 0,024 | |
| 23 | 3.65 | 3,73 | 1.02 | Внутренняя панель | 0,033 | 0,032 | 0,025 | 0,024 | |
| 24 | 3,65 | 4,42 | 1,21 | Одна короткая прерывистая кромка | 0,048 | 0,037 | 0,036 | 0,028 | |
| 25 | 3,35 | 4,42 | 1,32 | Две смежные кромки с разрывом | 0.066 | 0,047 | 0,050 | 0,035 | |
| 26 | 3,35 | 3,73 | 1,11 | Одна длинная прерывистая кромка | 0,045 | 0,037 | 0,034 | 0,028 | |
| 27 | 3,35 | 3,73 | 1,11 | Одна длинная прерывистая кромка | 0,045 | 0,037 | 0,034 | 0.028 | |
| 28 | 3,35 | 4,42 | 1,32 | Две смежные кромки с разрывом | 0,066 | 0,047 | 0,050 | 0,035 |
Расчет моментов
| Панель No | Фактор B.M для более короткого направления M x = α x wl x 2 x 1,5 | Фактор Б.M для более длинного направления M y = α y wl y 2 x 1,5 | ||
| Рядом с поддержкой (-ve) | Рядом с опорой (+ ve) | Рядом с поддержкой (-ve) | Рядом с опорой (+ ve) | |
| 1 | 6,94 | 5,26 | 8,61 | 6,41 |
| 2 | 4,73 | 3,58 | 4,83 | 3,65 |
| 3 | 4,73 | 3.58 | 4,83 | 3,65 |
| 4 | 6,94 | 5,26 | 8,61 | 6,41 |
| 5 | 6,00 | 4,50 | 6,78 | 5,13 |
| 6 | 4,12 | 3,12 | 4,17 | 3,13 |
| 7 | 3,40 | 2,57 | 4,00 | 3,00 |
| 8 | 4.12 | 3,12 | 4,17 | 3,13 |
| 9 | 6,00 | 4,50 | 6,78 | 5,13 |
| 10 | 5,95 | 4,50 | 6,78 | 5,13 |
| 11 | 4,13 | 3,04 | 4,17 | 3,13 |
| 12 | 3,33 | 2,57 | 3,89 | 2,92 |
| 13 | 4.13 | 3,04 | 4,17 | 3,13 |
| 14 | 5,95 | 4,50 | 6,78 | 5,13 |
| 15 | 5,95 | 4,50 | 6,78 | 5,13 |
| 16 | 4,13 | 3,04 | 4,17 | 3,13 |
| 17 | 3,33 | 2,57 | 3,89 | 2,92 |
| 18 | 4.13 | 3,04 | 4,17 | 3,13 |
| 19 | 5,95 | 4,50 | 6,78 | 5,13 |
| 20 | 6,00 | 4,50 | 6,78 | 5,13 |
| 21 | 4,12 | 3,12 | 4,17 | 3,13 |
| 22 | 3,40 | 2,57 | 4,00 | 3,00 |
| 23 | 4.12 | 3,12 | 4,17 | 3,13 |
| 24 | 6,00 | 4,50 | 6,78 | 5,13 |
| 25 | 6,94 | 5,26 | 8,61 | 6,41 |
| 26 | 4,73 | 3,58 | 4,83 | 3,65 |
| 27 | 4,73 | 3,58 | 4,83 | 3,65 |
| 28 | 6.94 | 5,26 | 8,61 | 6,41 |
Расчет площади стали
| Пролет | Положение моментов | Моменты (кНм) | M u / bd 2 | Балл% | Ast в мм 2 (требуется) | Ast в мм 2 (в комплекте) | Расстояние между стержнями 10 мм при поперечном сечении |
| Короткий | Рядом с поддержкой | 6.94 | 0,57 | 0,162 | 178,20 | 250 | 300 |
| Средний пролет | 5,26 | 0,43 | 0,121 | 133.10 | 250 | 300 | |
| длинный | Рядом с поддержкой | 8,61 | 0,71 | 0,204 | 224,40 | 250 | 300 |
| Средний пролет | 6,41 | 0,53 | 0.150 | 165,00 | 250 | 300 | |
| Короткий | Рядом с поддержкой | 4,73 | 0,39 | 0,110 | 121,00 | 250 | 300 |
| Средний пролет | 3,58 | 0,30 | 0,084 | 92,40 | 250 | 300 | |
| длинный | Рядом с поддержкой | 4,83 | 0,40 | 0.113 | 124,30 | 250 | 300 |
| Средний пролет | 3,65 | 0,30 | 0,084 | 92,40 | 250 | 300 | |
| Короткий | Рядом с поддержкой | 4,73 | 0,39 | 0,110 | 121,00 | 250 | 300 |
| Средний пролет | 3,58 | 0,30 | 0,084 | 92,40 | 250 | 300 | |
| длинный | Рядом с поддержкой | 4.83 | 0,40 | 0,113 | 124,30 | 250 | 300 |
| Средний пролет | 3,65 | 0,30 | 0,084 | 92,40 | 250 | 300 | |
| Короткий | Рядом с поддержкой | 6,94 | 0,57 | 0,162 | 178,20 | 250 | 300 |
| Средний пролет | 5,26 | 0,43 | 0.121 | 133.10 | 250 | 300 | |
| длинный | Рядом с поддержкой | 8,61 | 0,71 | 0,204 | 224,40 | 250 | 300 |
| Средний пролет | 6,41 | 0,53 | 0,150 | 165,00 | 250 | 300 | |
| Короткий | Рядом с поддержкой | 6,00 | 0,50 | 0.142 | 156,20 | 250 | 300 |
| Средний пролет | 4,50 | 0,37 | 0,105 | 115,50 | 250 | 300 | |
| длинный | Рядом с поддержкой | 6,78 | 0,56 | 0,159 | 174,90 | 250 | 300 |
| Средний пролет | 5,13 | 0,42 | 0,119 | 130.90 | 250 | 300 | |
| Короткий | Рядом с поддержкой | 4,12 | 0,34 | 0,096 | 105,60 | 250 | 300 |
| Средний пролет | 3,12 | 0,26 | 0,084 | 92,40 | 250 | 300 | |
| длинный | Рядом с поддержкой | 4,17 | 0,34 | 0,096 | 105.60 | 250 | 300 |
| Средний пролет | 3,13 | 0,26 | 0,084 | 92,40 | 250 | 300 | |
| Короткий | Рядом с поддержкой | 3,40 | 0,28 | 0,084 | 92,40 | 250 | 300 |
| Средний пролет | 2,57 | 0,21 | 0,084 | 92,40 | 250 | 300 | |
| длинный | Рядом с поддержкой | 4.00 | 0,33 | 0,093 | 102,30 | 250 | 300 |
| Средний пролет | 3,00 | 0,25 | 0,084 | 92,40 | 250 | 300 | |
| Короткий | Рядом с поддержкой | 4,12 | 0,34 | 0,096 | 105,60 | 250 | 300 |
| Средний пролет | 3,12 | 0,26 | 0.084 | 92,40 | 250 | 300 | |
| длинный | Рядом с поддержкой | 4,17 | 0,34 | 0,096 | 105,60 | 250 | 300 |
| Средний пролет | 3,13 | 0,26 | 0,084 | 92,40 | 250 | 300 | |
| Короткий | Рядом с поддержкой | 6,00 | 0,50 | 0.142 | 156,20 | 250 | 300 |
| Средний пролет | 4,50 | 0,37 | 0,105 | 115,50 | 250 | 300 | |
| длинный | Рядом с поддержкой | 6,78 | 0,56 | 0,145 | 159,50 | 250 | 300 |
| Средний пролет | 5,13 | 0,42 | 0,119 | 130.90 | 250 | 300 | |
| Короткий | Рядом с поддержкой | 5,95 | 0,49 | 0,139 | 152,90 | 250 | 300 |
| Средний пролет | 4,50 | 0,37 | 0,105 | 115,50 | 250 | 300 | |
| длинный | Рядом с поддержкой | 6,78 | 0,56 | 0,159 | 174.90 | 250 | 300 |
| Средний пролет | 5,13 | 0,42 | 0,119 | 130,90 | 250 | 300 | |
| Короткий | Рядом с поддержкой | 4,13 | 0,34 | 0,096 | 105,60 | 250 | 300 |
| Средний пролет | 3,04 | 0,25 | 0,084 | 92,40 | 250 | 300 | |
| длинный | Рядом с поддержкой | 4.17 | 0,34 | 0,096 | 105,60 | 250 | 300 |
| Средний пролет | 3,13 | 0,26 | 0,084 | 92,40 | 250 | 300 | |
| Короткий | Рядом с поддержкой | 3,33 | 0,28 | 0,084 | 92,40 | 250 | 300 |
| Средний пролет | 2,57 | 0,21 | 0.084 | 92,40 | 250 | 300 | |
| длинный | Рядом с поддержкой | 3,89 | 0,32 | 0,090 | 99,00 | 250 | 300 |
| Средний пролет | 2,92 | 0,24 | 0,084 | 92,40 | 250 | 300 | |
| Короткий | Рядом с поддержкой | 4,13 | 0,34 | 0,096 | 105.60 | 250 | 300 |
| Средний пролет | 3,04 | 0,25 | 0,084 | 92,40 | 250 | 300 | |
| длинный | Рядом с поддержкой | 4,17 | 0,34 | 0,096 | 105,60 | 250 | 300 |
| Средний пролет | 3,13 | 0,26 | 0,084 | 92,40 | 250 | 300 | |
| Короткий | Рядом с поддержкой | 5.95 | 0,49 | 0,139 | 152,90 | 250 | 300 |
| Средний пролет | 4,5 | 0,37 | 0,105 | 115,50 | 250 | 300 | |
| длинный | Рядом с поддержкой | 6,78 | 0,56 | 0,159 | 174,90 | 250 | 300 |
| Средний пролет | 5,13 | 0,42 | 0.119 | 130,90 | 250 | 300 | |
| Короткий | Рядом с поддержкой | 5,95 | 0,49 | 0,139 | 152,90 | 250 | 300 |
| Средний пролет | 4,5 | 0,37 | 0,105 | 115,50 | 250 | 300 | |
| длинный | Рядом с поддержкой | 6,78 | 0,56 | 0.159 | 174,90 | 250 | 300 |
| Средний пролет | 5,13 | 0,42 | 0,119 | 130,90 | 250 | 300 | |
| Короткий | Рядом с поддержкой | 4,13 | 0,34 | 0,096 | 105,60 | 250 | 300 |
| Средний пролет | 3,04 | 0,25 | 0,084 | 92.40 | 250 | 300 | |
| длинный | Рядом с поддержкой | 4,17 | 0,34 | 0,096 | 105,60 | 250 | 300 |
| Средний пролет | 3,13 | 0,26 | 0,084 | 92,40 | 250 | 300 | |
| Короткий | Рядом с поддержкой | 3,33 | 0,28 | 0,084 | 92.40 | 250 | 300 |
| Средний пролет | 2,57 | 0,21 | 0,084 | 92,40 | 250 | 300 | |
| длинный | Рядом с поддержкой | 3,89 | 0,32 | 0,090 | 99,00 | 250 | 300 |
| Средний пролет | 2,92 | 0,24 | 0,084 | 92,40 | 250 | 300 | |
| Короткий | Рядом с поддержкой | 4.13 | 0,34 | 0,096 | 105,60 | 250 | 300 |
| Средний пролет | 3,04 | 0,25 | 0,084 | 92,40 | 250 | 300 | |
| длинный | Рядом с поддержкой | 4,17 | 0,34 | 0,096 | 105,60 | 250 | 300 |
| Средний пролет | 3,13 | 0,26 | 0.084 | 92,40 | 250 | 300 | |
| Короткий | Рядом с поддержкой | 5,95 | 0,49 | 0,139 | 152,90 | 250 | 300 |
| Средний пролет | 4,5 | 0,37 | 0,105 | 115,50 | 250 | 300 | |
| длинный | Рядом с поддержкой | 6,78 | 0,56 | 0.159 | 174,90 | 250 | 300 |
| Средний пролет | 5,13 | 0,42 | 0,119 | 130,90 | 250 | 300 | |
| Короткий | Рядом с поддержкой | 6 | 0,50 | 0,142 | 156,20 | 250 | 300 |
| Средний пролет | 4,5 | 0,37 | 0,105 | 115,50 | 250 | 300 | |
| длинный | Рядом с поддержкой | 6.78 | 0,56 | 0,159 | 174,90 | 250 | 300 |
| Средний пролет | 5,13 | 0,42 | 0,119 | 130,90 | 250 | 300 | |
| Короткий | Рядом с поддержкой | 4,12 | 0,34 | 0,096 | 105,60 | 250 | 300 |
| Средний пролет | 3,12 | 0,26 | 0.084 | 92,40 | 250 | 300 | |
| длинный | Рядом с поддержкой | 4,17 | 0,34 | 0,096 | 105,60 | 250 | 300 |
| Средний пролет | 3,13 | 0,26 | 0,084 | 92,40 | 250 | 300 | |
| Короткий | Рядом с поддержкой | 3,4 | 0,28 | 0,084 | 92.40 | 250 | 300 |
| Средний пролет | 2,57 | 0,21 | 0,084 | 92,40 | 250 | 300 | |
| длинный | Рядом с поддержкой | 4 | 0,33 | 0,093 | 102,30 | 250 | 300 |
| Средний пролет | 3 | 0,25 | 0,084 | 92,40 | 250 | 300 | |
| Короткий | Рядом с поддержкой | 4.12 | 0,34 | 0,096 | 105,60 | 250 | 300 |
| Средний пролет | 3,12 | 0,26 | 0,084 | 92,40 | 250 | 300 | |
| длинный | Рядом с поддержкой | 4,17 | 0,34 | 0,096 | 105,60 | 250 | 300 |
| Средний пролет | 3,13 | 0,26 | 0.084 | 92,40 | 250 | 300 | |
| Короткий | Рядом с поддержкой | 6 | 0,50 | 0,142 | 156,20 | 250 | 300 |
| Средний пролет | 4,5 | 0,37 | 0,105 | 115,50 | 250 | 300 | |
| длинный | Рядом с поддержкой | 6,78 | 0,56 | 0,159 | 174.90 | 250 | 300 |
| Средний пролет | 5,13 | 0,42 | 0,119 | 130,90 | 250 | 300 | |
| Короткий | Рядом с поддержкой | 6,94 | 0,57 | 0,162 | 178,20 | 250 | 300 |
| Средний пролет | 5,26 | 0,43 | 0,121 | 133.10 | 250 | 300 | |
| длинный | Рядом с поддержкой | 8.61 | 0,71 | 0,204 | 224,40 | 250 | 300 |
| Средний пролет | 6,41 | 0,53 | 0,150 | 165,00 | 250 | 300 | |
| Короткий | Рядом с поддержкой | 4,73 | 0,39 | 0,110 | 121,00 | 250 | 300 |
| Средний пролет | 3,58 | 0,30 | 0.084 | 92,40 | 250 | 300 | |
| длинный | Рядом с поддержкой | 4,83 | 0,40 | 0,113 | 124,30 | 250 | 300 |
| Средний пролет | 3,65 | 0,30 | 0,084 | 92,40 | 250 | 300 | |
| Короткий | Рядом с поддержкой | 4,73 | 0,39 | 0.110 | 121,00 | 250 | 300 |
| Средний пролет | 3,58 | 0,30 | 0,084 | 92,40 | 250 | 300 | |
| длинный | Рядом с поддержкой | 4,83 | 0,40 | 0,113 | 124,30 | 250 | 300 |
| Средний пролет | 3,65 | 0,30 | 0,084 | 92,40 | 250 | 300 | |
| Короткий | Рядом с поддержкой | 6.94 | 0,57 | 0,162 | 178,20 | 250 | 300 |
| Средний пролет | 5,26 | 0,43 | 0,121 | 133.10 | 250 | 300 | |
| длинный | Рядом с поддержкой | 8,61 | 0,71 | 0,204 | 224,40 | 250 | 300 |
| Средний пролет | 6,41 | 0,53 | 0.150 | 165,00 | 250 | 300 |
| Панель | Площадь стали для максимального момента в середине пролета (мм 2 ) | (3/4) Ast (мм 2 ) | 0,5 (3/4) Ast (мм 2 ) | Уголок 1 | Уголок 2 | Уголок 3 | Уголок 4 |
| 1 | 224,4 | 168,3 | 84,15 | 8Φ @ 300 к / п | 8Φ @ 300 к / п | 8Φ @ 300 к / п | 8Φ @ 300 к / п |
| 2 | 224.4 | 168,3 | 84,15 | 8Φ @ 300 к / п | 8Φ @ 300 к / п | 8Φ @ 300 к / п | 8Φ @ 300 к / п |
| 3 | 224,4 | 168,3 | 84,15 | 8Φ @ 300 к / п | 8Φ @ 300 к / п | 8Φ @ 300 к / п | 8Φ @ 300 к / п |
| 4 | 224,4 | 168,3 | 84,15 | 8Φ @ 300 к / п | 8Φ @ 300 к / п | 8Φ @ 300 к / п | 8Φ @ 300 к / п |
| 5 | 224.4 | 168,3 | 84,15 | 8Φ @ 300 к / п | 8Φ @ 300 к / п | 8Φ @ 300 к / п | 8Φ @ 300 к / п |
| 6 | 224,4 | 168,3 | 84,15 | 8Φ @ 300 к / п | 8Φ @ 300 к / п | 8Φ @ 300 к / п | 8Φ @ 300 к / п |
| 7 | 224,4 | 168,3 | 84,15 | 8Φ @ 300 к / п | 8Φ @ 300 к / п | 8Φ @ 300 к / п | 8Φ @ 300 к / п |
| 8 | 224.4 | 168,3 | 84,15 | 8Φ @ 300 к / п | 8Φ @ 300 к / п | 8Φ @ 300 к / п | 8Φ @ 300 к / п |
| 9 | 224,4 | 168,3 | 84,15 | 8Φ @ 300 к / п | 8Φ @ 300 к / п | 8Φ @ 300 к / п | 8Φ @ 300 к / п |
| 10 | 224,4 | 168,3 | 84,15 | 8Φ @ 300 к / п | 8Φ @ 300 к / п | 8Φ @ 300 к / п | 8Φ @ 300 к / п |
| 11 | 224.4 | 168,3 | 84,15 | 8Φ @ 300 к / п | 8Φ @ 300 к / п | 8Φ @ 300 к / п | 8Φ @ 300 к / п |
| 12 | 224,4 | 168,3 | 84,15 | 8Φ @ 300 к / п | 8Φ @ 300 к / п | 8Φ @ 300 к / п | 8Φ @ 300 к / п |
| 13 | 224,4 | 168,3 | 84,15 | 8Φ @ 300 к / п | 8Φ @ 300 к / п | 8Φ @ 300 к / п | 8Φ @ 300 к / п |
| 14 | 224.4 | 168,3 | 84,15 | 8Φ @ 300 к / п | 8Φ @ 300 к / п | 8Φ @ 300 к / п | 8Φ @ 300 к / п |
| 15 | 224,4 | 168,3 | 84,15 | 8Φ @ 300 к / п | 8Φ @ 300 к / п | 8Φ @ 300 к / п | 8Φ @ 300 к / п |
| 16 | 224,4 | 168,3 | 84,15 | 8Φ @ 300 к / п | 8Φ @ 300 к / п | 8Φ @ 300 к / п | 8Φ @ 300 к / п |
| 17 | 224.4 | 168,3 | 84,15 | 8Φ @ 300 к / п | 8Φ @ 300 к / п | 8Φ @ 300 к / п | 8Φ @ 300 к / п |
| 18 | 224,4 | 168,3 | 84,15 | 8Φ @ 300 к / п | 8Φ @ 300 к / п | 8Φ @ 300 к / п | 8Φ @ 300 к / п |
| 19 | 224,4 | 168,3 | 84,15 | 8Φ @ 300 к / п | 8Φ @ 300 к / п | 8Φ @ 300 к / п | 8Φ @ 300 к / п |
| 20 | 224.4 | 168,3 | 84,15 | 8Φ @ 300 к / п | 8Φ @ 300 к / п | 8Φ @ 300 к / п | 8Φ @ 300 к / п |
| 21 | 224,4 | 168,3 | 84,15 | 8Φ @ 300 к / п | 8Φ @ 300 к / п | 8Φ @ 300 к / п | 8Φ @ 300 к / п |
| 22 | 224,4 | 168,3 | 84,15 | 8Φ @ 300 к / п | 8Φ @ 300 к / п | 8Φ @ 300 к / п | 8Φ @ 300 к / п |
| 23 | 224.4 | 168,3 | 84,15 | 8Φ @ 300 к / п | 8Φ @ 300 к / п | 8Φ @ 300 к / п | 8Φ @ 300 к / п |
| 24 | 224,4 | 168,3 | 84,15 | 8Φ @ 300 к / п | 8Φ @ 300 к / п | 8Φ @ 300 к / п | 8Φ @ 300 к / п |
| 25 | 224,4 | 168,3 | 84,15 | 8Φ @ 300 к / п | 8Φ @ 300 к / п | 8Φ @ 300 к / п | 8Φ @ 300 к / п |
| 26 | 224.4 | 168,3 | 84,15 | 8Φ @ 300 к / п | 8Φ @ 300 к / п | 8Φ @ 300 к / п | 8Φ @ 300 к / п |
| 27 | 224,4 | 168,3 | 84,15 | 8Φ @ 300 к / п | 8Φ @ 300 к / п | 8Φ @ 300 к / п | 8Φ @ 300 к / п |
| 28 | 224,4 | 168,3 | 84,15 | 8Φ @ 300 к / п | 8Φ @ 300 к / п | 8Φ @ 300 к / п | 8Φ @ 300 к / п |
ДЕТАЛИ УСИЛЕНИЯ ПЛИТЫ
УСИЛЕНИЕ КРУЧЕНИЕМ