Самостоятельное приготовление бетонной смеси
Готовим смесь бетономешалкой
Почему бетономешалкой? Цель перемешивания бетонной смеси это обволакивание всех частиц заполнителя цементным тестом и превращение всех ингредиентов бетонной смеси в однородную массу, которая не должна нарушаться при выгрузке смеси из бетономешалки. При тщательном перемешивании компонентов бетонной смеси в бетономешалке можно добиться прочности бетона на 40% и более, чем при перемешивании вручную, причём за занчительно меньшее время. По этой причине варианты ручного замеса я рассматривать не буду.
Порядок загрузки компонентов бетонной смеси обычно следующий: в работающую бетономешалку дозируется сначала песок и часть щебня, затем цемент. После сухого перемешивания в бетономешалку добавляют воду и, наконец, остатки крупного заполнителя, чтобы разбить образующиеся скопления раствора. Если нужны химические добавки (пластифкаторы), то они добавляются либо в воду, либо вместе с водой. Загружают всё это вручную ведром, или лопатой в строго определённых пропорциях.
Угол наклона барабана к уровню во время смешивания должен быть 22-30 градусов. Наклонение ближе к горизонтали дает наилучшее смешивание материалов раствора, но уменьшает объемность, и наоборот, увеличение угла наклона увеличивает объем, но вносит бессмысленность в ваши действия — раствор не перемешивается. Лучше не перегружать барабан. Даже если рабочая емкость имеет большой объем, не стоит заполнять ее максимально. В инструкции к бетономешалке должна быть указана допустимая норма используемого сырья.
Минимальная продолжительность перемешивания бетонной смеси после загрузки всех компонентов до выгрузки из бетоносместителя готовой смеси составляет 1-1,5 минуты (зависит от пластичности). Немецкие нормы говорят о 30 секундах перемешивания бетонной смеси. При большем увеличении времени перемешивания вода из смеси начинает испаряться и бетонная смесь начинает терять пластичность. Допустимое максимальное время перемешивания бетонной смеси – до 3-х часов. При приготовлении бетонов на легких заполнителях время перемешивания 3-5 минут (90 сек по немецким нормам).
Для самостоятельного приготовления бетона могут быть применены следующие пропорции материалов:
Водоцементное соотношение подробно рассмотрено в статье, и обычно принимают от 0,5 до 0,9 л воды на 1 кг цемента. Например, по массе пропорция бетона марки М300 на цементе М500 такова: 8 : 10 : 24 : 43 (В:Ц:П:Щ), кг.
Это лишь приблизительные теоретические пропорции, в реальности нужно понимать назначение и свойства каждого наполнителя, чтобы приготовить качественную смесь. При самостоятельном изготовлении бетона полезно обратить внимание на следующие пункты — они могут изменить пропорции:
Щебень прежде всего должен быть чистым, без пыли и включений. Если он грязный — промывайте водой.
На невысоких марках (до М250) можно использовать гравий (не дроблёные круглые камни).
Желательно, чтобы в щебне были камешки всех размеров — и 5 мм, и 10, и 15 и 20. Если в щебне только крупные камни, то придётся изменить соотношение в сторону увеличения песка.
Песок должен быть без кусков глины и прочих включений. Если это не так — нужно перебрать руками.
Если есть возможность выбрать песок. Возьмите влажный песок и разотрите пальцами, как будто солите. На пальцах останется грязь, это — глина и пыль. Чем их меньше, тем лучше. У хороших песков их при таком «тесте» практически не видно. Если возможности выбора нет, а глины много — сыпьте больше цемента.
Песок должен быть именно песком, а не отсевом. Если же песок очень крупный — измените соотношение в сторону увеличения песка, а так же добавьте цемента.
Песка должно быть столько, чтобы каждый камешек щебня был со всех сторон окружён растворной частью бетона. Сделайте несколько пробных замесов и посмотрите. В разных подборах соотношение песка к щебню (по массе!) может варьироваться от 1:2 (для высоких марок и мелкого песка) до 1:1 (для низких марок и крупного песка).

Вес 1 кубометра бетона, в зависимости от наполнителя, может быть от 2200 до 2500 кг.
Вот тут есть хороший калькулятор бетонной смеси, учитывающий фракции песка, щебня и даже использование пластификатора! Есть расчёты конкретно под бетономешалку.
Аренда бетоносмесителя — краткое руководство по эксплуатации
Услуга аренда бетоносмесителя популярна среди профессиональных строителей и частных лиц.
Этому поспособствовала распространенность технологии возведения зданий и сооружений из бетона.
Чтобы правильно пользоваться этим агрегатом требуется соблюдать простейшие рекомендации и проявлять благоразумие.
Конечно, строительные миксеры для приготовления бетона обладают большим запасом прочности, но и работают они с тяжелыми материалами, в условиях постоянной механической нагрузки.
Соблюдение правил обращения с заказанной в аренду бетономешалкой облегчит труд и предотвратит возникновение аварийных ситуаций.
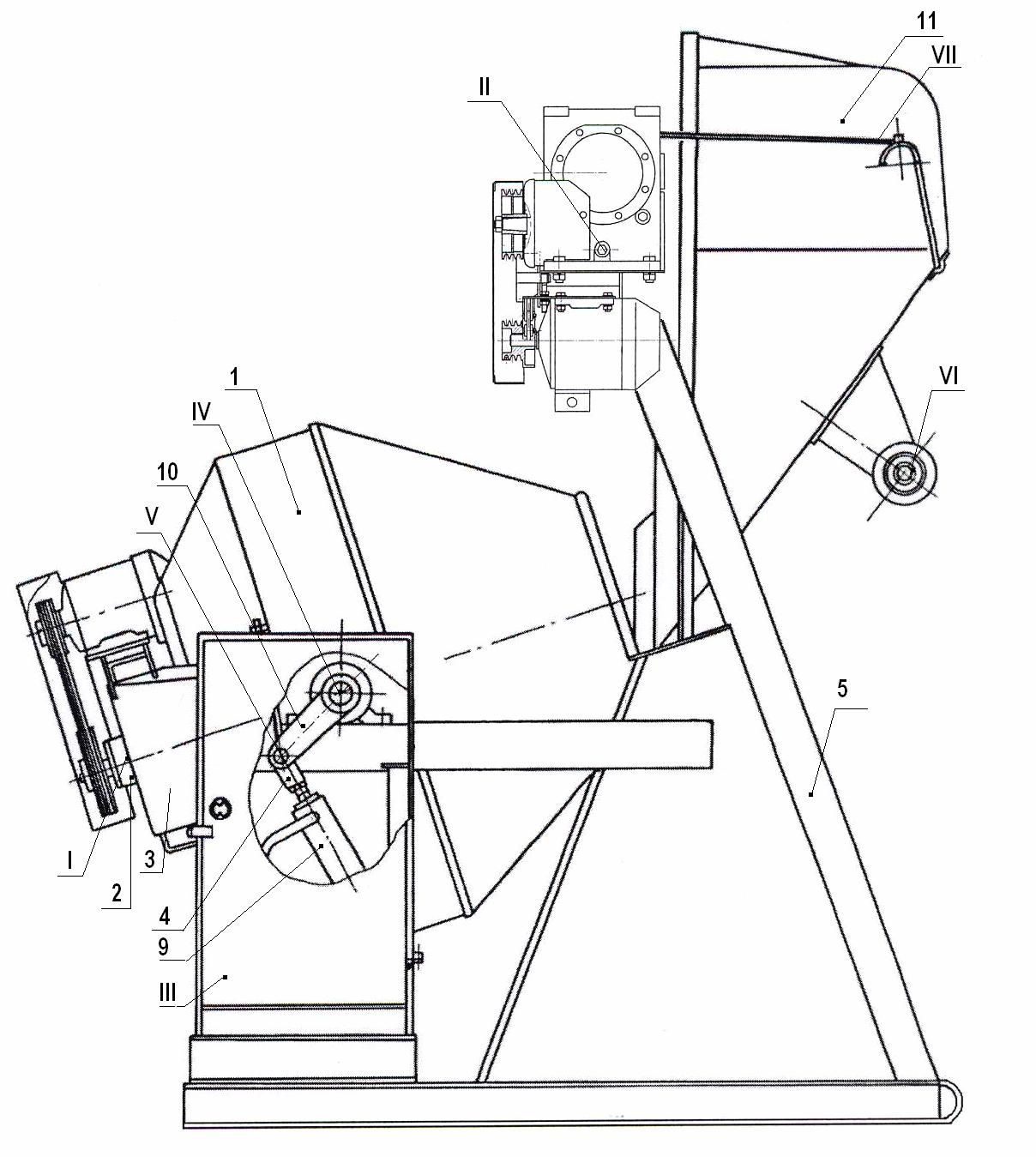
Конструкция
Главная деталь аппарата – смесительный барабан, в котором происходит перемешивание строительного раствора.
Внутренние лопасти ускоряют процесс.
Работник может опрокидывать емкость, чтобы выгрузить бетонную смесь, с помощью маховика.
Барабан установлен на траверсе посредством подшипников качения.
Вращение резервуара осуществляет электродвигатель через механизм зубчатой передачи.
Все узлы смонтированы на раму, которая крепится к двум опорам.
Подготовка взятого в аренду бетоносмесителя к эксплуатации
Для начала требуется подготовить ровную площадку с твердым покрытием или утрамбованным грунтом.
Расстояние от крайних точек устройства до препятствий должно быть не менее:
— с фронтальной и тыльной стороны – 100 см,
— от маховика и электромотора – 110 см.
Категорически запрещено загромождать рабочую площадку! Также необходимо обеспечить хорошее освещение.
Проследите, чтобы поблизости не было остатков горюче-смазочных материалов, легковоспламеняющихся веществ.
Исключите нахождение детей и животных вблизи работающей техники.
Обустраивайте площадку в хорошо проветриваемом месте.
Тщательно изучите органы управления бетономешалки, особое внимание уделите отработке экстренной остановки.
Подключение к электрической сети должен выполнять квалифицированный электрик.
Необходимо проверить наличие и исправность заземляющего контура.
Подключайте инструмент только через автоматический выключатель с защитой от токов короткого замыкания, перегрузки и минимального напряжения.
Как эксплуатировать заказанную напрокат бетономешалку правильно
Несмотря на простоту конструкции и большой запас прочности взятый в аренду бетоносмеситель требует аккуратного обращения.
Порядок загрузки смеси
Одно из главных правил: сначала нужно запустить электродвигатель, а потом загружать ингредиенты в уже вращающийся барабан.
Неопытные работники могут посчитать, что нужно засыпать цемент, песок и гравий, залить воду и только потом включать мотор.
Такая ошибка приведет к поломке деталей зубчатой передачи или выходу из строя двигателя.
Почему? Давайте разберемся.
Если все делать правильно, ингредиенты подаются в уже вращающийся рабочий бак.
Благодаря постепенному увеличению массы сила инерции помогает электромотору выполнять свою функцию – раскручивать резервуар.
Нагрузка возрастает медленно.
Если сначала загрузить составляющие в емкость, а затем включить установку, электродвигатель вынужден будет разгонять большую массу.
Перегрузка подействует на силовой узел, повлияет на механизм передачи, что приведет к повышенному износу деталей или выходу из строя.
Сколько загружать
Нельзя стараться приготовить как можно большее количество раствора за один замес.
Заказанный в прокат бетоносмеситель выйдет из строя.
Барабан может вместить намного больше, чем указано в паспорте.
Объем выбран с таким расчетом, чтобы при перемешивании состав не расплескивался.
Если загрузить бак «под завязку» мотор быстро перегреется, произойдет авария.
Если возникли перебои в электроснабжении
После остановки при перерыве в подаче энергии требуется отключить автоматический выключатель на защитном кожухе привода и выгрузить строительную смесь.
При возобновлении электроснабжения сначала включите на электрощите силовой автоматический выключатель с расцепителями.
Выключатель на защитном кожухе привода активируйте после звукового оповещения.
Использование защитных средств
Приготовление строительных растворов с применением некоторых веществ сопряжено с риском негативного воздействия на здоровье.
Например: известь при попадании может вызывать ожоги глазных покровов, а при длительном контакте – кожи рук.
Если вам нужно приготовить известковый раствор, обязательно пользуйтесь защитными очками и перчатками.
При интенсивном характере работы следует надевать респиратор.
Уровень шума, который производит работающий электроинструмент, находится в допустимых пределах.
Замеры проводятся по стандартному методу.
Иногда взятый в аренду бетоносмеситель для бетонных растворов установлен вблизи объектов, отражающих звук.
В этом случае уровень шума может превысить разрешенные нормативами охраны труда параметры, поэтому необходимо использовать наушники и беруши, чтобы защитить органы слуха.
Технология приготовления бетонных смесей | БЕТОНИНВЕСТ ООО г.Клин Московская обл.
Статья о тонкостях приготовления бетонных смесей, т.е. бетона, будет полезна начинающим строителям. На качество готового продукта оказывают влияние не только производительные бетономешалки, погодные условия, но и множество других факторов.
Независимо от того, по какой схеме ведется производство бетонной смеси, качество ее должно соответствовать требованиям проектного задания. Технология приготовления бетона всегда ведется в соответствии с определенной схемой – будь то частная мини-установка или крупный бетонный завод. Технология обязательно учитывает наличие специального оборудования и множество других факторов, например расстояние до объекта, куда будет осуществляться отгрузка готового раствора.
Разберем основные факторы, которые оказывают наибольшее влияние на конечное качество бетонных смесей:
1. Определенный порядок загрузки компонентов.
2. Скорость вращения барабана.
3. Степень его загрузки.
4. Продолжительность приготовления (перемешивания).
1. Определенный порядок загрузки компонентов.
Наиболее часто используется порядок загрузки составляющих бетонного раствора в такой последовательности – в барабан одновременно с водой загружают сухие смеси, порой смесь поступает даже чуть раньше воды, поскольку вода не успевает во времени вся вылиться к смеси.
Этот способ наиболее производителен. Но существует и другая схема приготовления бетонной смеси.
Перемешивать песок, цемент и щебень без воды весьма проблематично, поэтому в барабан сначала заливают воду, а затем сухую подготовленную смесь. Именно этот способ позволяет добиться наилучшего качества бетона или бетонных растворов. Но, к сожалению, такое производство увеличивает значительно время приготовления и тем самым снижает производительность бетономешалки.
2. Скорость вращения барабана.
В паспорте каждой бетономешалки есть характеристика, указывающая нормальное число оборотов барабана, как правило, 12-20 в минуту. На заводе-изготовителе количество оборотов устанавливается опытным путем, и именно то число оборотов является нормой для эксплуатации каждого конкретного автомиксера.
Если увеличить число оборотов – бетонная смесь станет прилегать к стенкам барабана, от этого качество перемешивания значительно ухудшится. К тому же этот фактор приведет к снижению прочности бетона, которою до конца невозможно восстановить увеличением времени смешивания раствора.
3. Степень загрузки барабана.
По существующим нормативам можно лишь на 5% перегрузить или недогрузить бетономешалку. Увеличение или уменьшение составных раствора приводят к потере качества бетона, как следствие — к потере прочности. Например, перегрузив емкость на 20 процентов, бетон теряет в прочности ровно столько же и экономия выливается в проблему, особенно если бетонные смеси используются в высотном домостроении или других крупных объектах.
4. Продолжительность приготовления бетонного раствора.
Продолжительность перемешивания бетонной смеси тоже оказывает значительное влияние. Помимо роста прочности бетона, увеличивается однородность раствора, а значит его удобоукладываемость. В процессе перемешивания цементный раствор равномерно обволакивает мелкий и крупный заполнитель (гравий, гранит, песок).
Слишком долгое перемешивание бетонного раствора снижает производительность техники.
Большое значение имеет продолжительность перемешивания при приготовлении бетона, к которому предъявляются высокие требования по плотности и водонепроницаемости – гидротехнические сооружения (например, бассейны, аквапарки).
Бетонная смесь для таких объектов готовится только после полного цикла испытаний бетонной смеси. Благодаря отработанному циклу будет установлено оптимальное время перемешивания раствора.
Также на продолжительность влияет не только характер сооружения, но и жесткость смеси, сезон и другие факторы. К примеру, для конструкций, выполняющих несущую нагрузку, бетонный раствор перемешивается в два раза дольше, чем смесь для устройства пола. В зимний период раствор следует готовить в полтора раза дольше, чем в летний.
Как удалить с бетономешалки старый, засохший цемент?
Бывалые строители знают, насколько обидно замешивать растворы вручную только потому, что электрическое оборудование вышло из строя. Вдвойне обиднее, если причина – собственная лень. Например, если не очистить бетономешалку сразу после работы, можно столкнуться с застывшим бетоном на поверхностях груши и, что еще хуже, на редукторе.
Рассмотрим, как можно очистить бетоносмесительную машину от налипших остатков бетона и не повредить рабочие поверхности.
Как очистить бетономешалку
Если говорить о способах удаления засохшего цемента, их два – механический и химический. Каждый имеет свои достоинства и недостатки, поэтому в рамках статьи постараемся рассмотреть их подробнее.
Механическая очистка
Строителям известны способы, с помощью которых чистятся строительные инструменты. Применять их нужно осторожно, чтобы не повредить стенки барабана и зубья шестеренок редуктора. Наиболее распространенными считаются следующие методы:
- щебнем или песком;
- острой лопатой;
- молотком и зубилом;
- болгаркой и щеткой;
- аппаратом высокого давления.
Очищение застывшего раствора без соблюдений правил безопасности недопустимо. Работать нужно в средствах индивидуальной защиты – очках, перчатках. В случае применения химических препаратов защитите органы дыхания с помощью респиратора.
Если речь идет о налипшем, но не застывшем окончательно растворе, можно использовать песок и щебень.
Последовательность работ в этом случае следующая:
- С помощью острой лопаты, а в труднодоступных местах – мастерка, уберите основную массу застывшего бетона с барабана бетономешалки.
- Залейте в «грушу» 1-1,5 ведра воды.
- Включите бетоносмеситель.
- Засыпьте 2-3 лопаты щебня средней фракции.
- Оставьте бетономешалку включенной на 3-5 минут.
В этом случае щебень играет роль абразивного материала и очищает бетономешалку от застывшего бетона на 90 %. Грязными остаются места соединения лопастей с самой «грушей». Чтобы решить проблему слейте воду и повторите процедуру, засыпая в емкость не щебень, а песок. Он имеет более мелкую фракцию и удаляет цементный раствор с труднодоступных мест.
Внешние загрязнения можно очистить зубилом и молотком. В области редуктора, в труднодоступных местах и для тщательной очистки можно использовать болгарку с насадкой-щеткой. Учитывайте, что в последнем случае вы снимете и засохший бетон, и краску.
Наиболее эффективный способ очищения бетономешалки – мойка с помощью АВД.
Это устройство, которое применяется для мытья автомобилей и спецтехники и способно выдавать струю воды под давлением до 250 бар.
Вода, подаваемая под таким напором, проникает в мельчайшие щели и буквально отрывает куски засохшего бетона и остатки песка от поверхности бетономешалки. В процессе не образуется пыль и не повреждаются рабочие поверхности. Очистить инструмент от бетона может человек с любой физической подготовкой и без риска получить травму.
Химические способы очистки
Химические средства используются в случаях, когда применение механических способов нецелесообразно. Например, при больших объемах загрязнений, с внутренней стороны барабана, на заводах по производству бетона чтобы очистить промышленное оборудование.
Самым доступным и опасным средством является соляная кислота. Чтобы очистить бетономешалку этим способом придерживайтесь рекомендованной последовательности.
- Возьмите нужный объем соляной кислоты концентрацией 7-8 %.
- Осторожно залейте ее в барабан.

- Включите бетономешалку, дайте «груше» прокрутиться 2-3 раза.
- Остановите двигатель на 10-15 минут.
- Залейте в барабан раствор соды для нейтрализации кислоты.
- Проверните емкость 2-3 раза.
- Слейте раствор вместе с остатками бетона и цементного раствора.
Соляная кислота опасна для здоровья, поэтому работать с ней нужно аккуратно. Защитите глаза, открытые участки кожи и органы дыхания от воздействия раствора. Средство эффективно для удаления остатков песка и бетона, но плохо справляется с застарелыми загрязнениями. В некоторых случаях процедуру приходится повторять 2-3 раза.
Можно использовать готовые растворы, в состав которых входят специальные компоненты для аккуратной и полной очистки бетономешалки. Ознакомиться с ними можно в таблице.
| Название средства | Описание | Порядок применения |
|---|---|---|
| «Bio decap beton guard» | Не содержит сильнодействующих кислот, может применяться для ежедневной очистки. Допустимо использовать против застывшего бетона. | Средство наносится на поверхности бетономешалки из пульверизатора, без разбавления водой и другими жидкостями. Промыть водой с помощью АВД спустя 20-40 минут. |
| «SAUBERE SACHE ZEMENTSCHLEIERENTFERNER» | Предназначен для удаления незначительных цементных и известковых загрязнений. | Очистить бетон механическим путем, высушить поверхность, полить раствором. Спустя 10-15 минут смыть водой. |
| «Барракуда» | Применяется для очистки форм, бетономешалок, инструментов от бетона и отложения солей. Не вызывает коррозию. | После нанесения поверхность чистится щеткой, затем смывается водой. При необходимости процедура повторяется. |
| «Divinol Betonloeser» | Применяется для очистки бетономешалки и других инструментов от застывшего бетона, мела и ржавчины. Запрещено применять для очистки изделий из алюминия, хрома и латуни | Разбавлять в пропорции 1:20 с холодной водой. Наносится путем орошения, можно пульверизатором. Обильно смывается водой. |
Из описанных в таблице средств наиболее эффективным является очиститель бетона «Divinol Betonloeser». А вот о средстве «Барркакуда» отзывы неоднозначные.
Как предотвратить налипание цемента при замесе раствора
Чтобы не пришлось долго чистить бетономешалку от налипшего цемента нужно придерживаться правил загрузки компонентов в «грушу». Неопытные мастера нарушают последовательность и создают благоприятные условия для налипания сначала песка, затем и щебня.
Чтобы не допустить подобных проблем при первичной загрузке компонентов придерживайтесь следующей последовательности:
- Рассчитайте количество ингредиентов.
- Возьмите половину, засыпьте в бункер.
- Залейте требуемым количеством воды.
- Засыпьте оставшуюся часть веществ.

- Перемешивайте до готовности.
Если у вас небольшая бетономешалка или вы уже сделали несколько замесов, то порядок загрузки меняется. Сначала заливается часть воды, затем щебень, песок, цемент и оставшийся объем воды до получения нужной консистенции.
Наряду с определенной техникой загрузки можно применять специальные средства, которые предотвращают налипание бетона и песка на поверхности.
Среди строителей популярностью пользуется немецкое разделительное масло «Formenal MS – EDF». Оно наносится на все поверхности бетономешалки и инструмента с помощью обычной кисти.
После высыхания на металле образуется тонкая пленка, которая отталкивает бетон и другие строительные растворы от поверхности. Средство можно наносить и на влажные инструменты, главное условие – их нужно предварительно очистить от всевозможных загрязнений. Кроме защиты бетономешалки можно обрабатывать маслом формы, опалубку, лопаты и другие поверхности, контактирующие с цементно-бетонными смесями.
Уход за бетономешалкой — Моссом.ру в Москве
Как и любая другая техника, бетоносмеситель требует должного ухода и правильной эксплуатации. Это очень важно, так как нужно учитывать, что работа подобной машины всегда связана с большими механическими нагрузками. А значит, несоблюдение правил эксплуатации может довольно быстро привести к выходу техники из строя и необходимости ремонта бетономешалки.
Основные правила эксплуатации
Правило 1. Всегда удаляйте из барабана все остатки бетона. Если этого не делать сразу, то впоследствии он может успеть застыть, после чего отделить его от поверхности будет уже практически невозможно. Твёрдыми предметами удалять затвердевший бетон не рекомендуется, для таких ситуаций используется струя воды высокого давления.
Правило 2. В любом случае после выгрузки смеси останется налёт на поверхности ёмкости. От него тоже нужно избавляться: нужно либо мыть машину водой после окончания работ, либо использовать спецсредства, с помощью которых эта процедура значительно облегчается.
Иногда при эксплуатации бетономешалки барабан моют смесью масла и дизтоплива для меньшего сцепления смеси с поверхностью, но стоит учесть, что эта смесь вредит резине и краске барабана.
Правило 3. Загрузка компонентов выполняется вручную, при этом должен соблюдаться правильный порядок. Все операции должны выполняться аккуратно. Многие специалисты в данной области советуют вначале заливать в барабан воду, она обмоет барабан и послужит основой для следующего замеса. Затем засыпают щебень (если речь идёт о бетонной смеси), при перемешивании он обмоется водой, дополнительно очистит барабан. Важно и то, что чистый щебень лучше сцепится с остальными компонентами смеси. Затем в барабан засыпают песок и цемент. Таким образом, получается наиболее однородная смесь с равномерно распределёнными компонентами.
Правило 4. Для того чтобы машина работала без перегрузок нужно соблюдать объём загрузки, который указан в инструкции производителя. Несоблюдение этого положения приводит к быстрому износу элементов машины, а также существенному снижению качества приготовленного раствора.
Правило 5. В ходе эксплуатации бетономешалки необходимо обеспечить достаточное воздушное охлаждение электродвигателя. Не стоит его накрывать или укутывать, включать машину в местах с недостаточным притоком воздуха.
Если всё же возникла необходимость в ремонте оборудования, стоит обращаться в специализированные мастерские, наличием которых стоит поинтересоваться ещё при выборе оборудования. Подобная техника всегда работает в довольно жёстком режиме, подвергается большим нагрузкам, поэтому ремонт бетономешалки всё же когда-нибудь понадобится. Но от того насколько правильно за ней ухаживали напрямую зависит периодичность такого ремонта.
Дозирование материалов
Дозирование составляющих бетонной смеси должно производиться в соответствии с принятыми составами смеси.
Дозирование цемента, воды и заполнителей должно производиться по весу. При малой производительности бетонного завода допускается дозирование воды и заполни гелей по объему.
Дозирование цемента должно проводиться с точностью 1%, воды с точностью + 1 %, заполнителей — с точностью + 2% (по объему +3%).
Весовые дозаторы для заполнителей могут применяться как индивидуальные, так и суммирующие.
У правление до за дозаторами рекомендуется автоматическое. При малых объемах бетонных работ допускается ручное управление дозаторами.
Рекомендуется на автоматических весах ставить самопишущие приборы для автоматической регистрации количества каждого материала, поступающего в замес.
Дозирование составляющих бетонной смеси па автоматических дозаторах может производиться тремя способами:
1) способом грубого и точного веса,
2) только грубого веса и
3) только точного веса.
Рекомендуется применять первый способ дозирования (дозирование способом грубого и точного веса).
Второй способ (только грубого веса) рекомендуется лишь для заполнителей при хорошей сыпучести материала и равномерном, без задержек, поступлении его в дозатор.
Третий способ (только точного веса) рекомендуется лишь для заполнителей при взвешивании малых порций и плохой сыпучести материалов.
Дозирующее устройство бетоносмесителя
Точность работы дозаторов должна находиться под наблюдением весового мастера и проверяться не реже одного раза в месяц; результаты проверки фиксируются актом.
Для подачи составляющих бетонной смеси часто используются шнековые транспортеры конструкцию которых, можно посмотреть на сайте производителя https://ural-zko.ru/katalog_produktsii/drobilnosortirovochnoe_oborudovanie/trasporteryi/konveyer_vintovoy_shnek . Здесь же можно их и приобрести, в случае необходимости.
Кроме непосредственной проверки точности дозирования, необходимо контролировать все другие обстоятельства (полнота опорожнения, возможность переполнения и т.
п.), которые могут оказывать влияние на величину дозы, поступающей в барабан бетономешалки, и являться источником ошибок, в частности, перерасхода цемента.
Для проверки весовых дозаторов необходимо иметь соответствующий комплект контрольных гирь (образцовых гирь III разряда). Если показание весов не будет совпадать с контрольным грузом, то разница показаний должна быть устранена весовым мастером.
Для обеспечения бесперебойности работы весовых дозаторов, особенно при напряженной круглосуточной работе их, необходимо ежедекадно производить профилактические осмотры дозаторов с устранением всех возникших неполадок.
При дозировании но объему дозаторы перед их применением должны быть протарированы и снабжены четкими и удобными шкалами для отсчета отмеряемых объемом материалов. Деления шкал должны соответствовать точности дозирования, указанной в п. 43 настоящих правил.
Тарирование объемных дозаторов следует производить путем контрольных взвешиваний отмеряемых объемов.
Дозирование добавок должно производиться с точностью 1%.
Активные минеральные добавки (ГОСТ 6269-54) и другие тонкомолотые добавки при изготовлении бетонной смеси вводятся в бетономешалку или вместе с портландцементом (в виде сухой смеси) или в мокром виде (в виде водной суспензии).
При введении добавок в виде сухой смеси цемент и добавки следует предварительно перемешивать в смесителях принудительного действия, в растворомешалках, шаровых мельницах и т. п.
При введении добавок в виде водной суспензии, последнюю допускается дозировать но объему и подавать в бетономешалку одновременно с водой.
Пластифицирующие добавки сначала растворяются в воде (при этом они дозируются по весу), а затем в виде водного раствора вводятся в бетонную смесь при се приготовлении (при этом дозирование раствора добавки производится но весу и может производиться по объему).
Примечание.
Введение пластифицирующей добавки путем предварительного растворения ее во всем объеме добавляемой воды затворении разрешается лишь при полной уверенности в постоянстве влажности заполнителей.
Помол цементного клинкера на строительстве допускается, если будут выявлены экономические выгоды и обеспечены при этом необходимые технические требования. В таких случаях возможно объемное дозирование цементного шламма при условии соблюдения установленной точности дозирования, считая ее по сухому порошку цемента.
Дозаторы при загрузке должны опорожняться до конца. Неполное опорожнение приводит к снижению качества гидротехнического бетона, перерасходу цемента и должно устраняться изменением формы дозатора, установкой на нем вибратора и т. д.
Необходимо устранять возможность переполнения дозаторов. Чаще всего происходит переполнение цементного дозатора, что приводит к перерасходу цемента (увеличение дозы цемента, распыление цемента).
Возможность переполнения цементных дозаторов должна устраняться рациональной конструкцией устройств, подающих цемент из бункера в дозаторы.
Перемешивание бетонной смеси
Бетономешалки могут применяться как периодического, так и непрерывного действия.
Приготовление бетонной смеси в бетономешалках непрерывного действия должно производиться в соответствии со специальными инструкциями.
При выборе и эксплуатации бетономешалок следует учитывать, что на приготовление бетонной смеси с гравием или щебнем крупностью до 150 мм рассчитаны бетономешалки емкостью 1200 л и выше, бетономешалки же меньшей емкости отвечают предельной крупности заполнителей 100 мм.
Бункеры для цемента и заполнителей рекомендуется выполнять с вертикальными стенками, коническим днищем, имеющим наклон не менее 50° к горизонту, и центрально расположенным выпускным отверстием.
Течки бункеров должны иметь сечение не менее 40X40 см.
В качестве понудительного мероприятия для выгрузки материалов из бункеров рекомендуется устанавливать на них наружные вибраторы по специальному расчету.
Загрузка бункера заполнителями должна производиться так, чтобы поток их был направлен вертикально в центр бункера.
Бункеры во время работы следует поддерживать в возможно более наполненном состоянии.
Материалы из дозаторов должны поступать в барабан бетономешалки без потерь. Необходимо обращать особое внимание на возможность потерь цемента (утечка цемента в стыках подающих труб, выбрасывание цементной пыли из барабана). Потери цемента должны устраняться надлежащим уплотнением стыков, устройством щитков у входных отверстий барабана и уменьшением высоты падения материалов при подаче их в барабан.
Рекомендуется применять следующий порядок загрузки бетономешалки: сначала заливается в барабан 10-15% воды, затем, не прерывая заливки волы, одновременно и равномерно подают цемент, песок и крупные заполнители и, наконец, доливают оставшиеся 5-10% воды.
Загрузку сухих материалов в бетономешалку рекомендуется производить в течение не более 20 секунд.
Бетономешалку следует загружать в соответствии с ее номинальной (паспортной) емкостью, не допуская отклонений более 4-10%.
Продолжительность перемешивания бетонной смеси, считая с момента окончания загрузки бетономешалки до момента начала выпуска бетонной смеси, следует устанавливать экспериментально (особенно для бетономешалок емкостью свыше 1500 л).
При отсутствии экспериментальных данных разрешается пользоваться указаниями табл. 2.
После каждой рабочей смены или перерыва в работе более часа барабан бетономешалки должен быть промыт, для чего барабан загружается водой и крупными заполнителями и вращается до полной очистки его поверхности.
Разрешается также следующий порядок промывки бетономешалки: через каждые 2 часа после начала работы, независимо от количества сделанных замесов, в барабан бетономешалки загружается полная доза крупного заполнителя и воды, барабан вращается 5 минут, после чего добавляется цемент и песок до нормального замеса и работа продолжается.
Перед остановкой бетономешалку промывают, как указано выше. В случае длительной остановки барабан бетономешалки промывается способом, указанным в п. 67. 69. Исправность лопастей бетономешалки должна систематически проверяться.
При опорожнении бетономешалки должны быть приняты меры против, расслоения выгружаемой бетонной смеси. Для этого рекомендуется устанавливать направляющие устройства так. чтобы поток выгружаемой бетонной смеси направлялся вертикально в центр приемника (бадьи, бункера или вагонетки).
Бетонная смесь по выходе из бетономешалки должна иметь температуру не более 30 град., в противном случае необходимо принять меры к понижению температуры бетонной смеси путем охлаждения воды для затворения.
Для бетонирования массивных конструкций, при среднесуточной темперптуре более 15-20 рекомендуется приготовлять бетонную смесь возможно низкой температуры, но не ниже 5.
По окончании каждой смены необходимо производить уборку смесительного отделения и осмотр всего оборудовании.
Бункеры у бетономешалок, предназначенные для загрузки транспортных средств бетонной смесью, должны тщательно очищаться от налипшего раствора и не реже одного раза в смену полностью освобождаться от бетонной смеси.
Как работает бетономешалка с самозагрузкой?
Как работает бетономешалка с самозагрузкой? С момента появления бетона в строительстве использовались различные методы изготовления бетона из цемента, песка, гравия и воды. Традиционный метод смешивания бетона – это ручное смешивание. Это самый ранний метод производства бетона, который до сих пор используется во многих развивающихся и развитых странах для производства бетона небольшими партиями.Увеличение размеров строительных объектов вынудило заменить ручное смешивание машинным смешиванием. Эти машины обычно состоят из огромных вращающихся барабанов и известны как бетономешалки. Они известны своим быстрым, эффективным и массовым производством бетона. По мере развития строительства на стройплощадках с пересеченной местностью возникла потребность в мобильных бетоносмесителях. Для удовлетворения этой потребности была разработана самозагружающаяся бетономешалка. Он известен своими компактными размерами и низкими эксплуатационными расходами, и им может управлять один оператор.Работу бетоносмесителя с самозагрузкой можно объяснить следующим образом:
- Загрузка сырья: Первоначально сырье загружается в ковш. Эта лопата является самоходной и имеет гидравлическое управление. Оператор использует джойстик для управления этой лопатой и подачи ее в барабан. Это особенность, которая отличает эту машину от остальных.
- Смешивание бетонных материалов: В бетономешалке с самозагрузкой функция барабана заключается в гомогенном перемешивании сырья.Непрерывная подача воды обеспечивает нормальную работу машины и поддержание уровня воды в бетоне.
Эти барабаны обычно снабжены спиральными лопастями. Барабаны предназначены для вращения с высокой скоростью. Для смешивания вращение барабана фиксируется в одном направлении. Во время смешивания спиральная лопасть проталкивает бетонные материалы глубоко в барабан. Это высокоскоростное вращение обеспечивает однородное смешивание материалов в бетоне. - Сбор смешанных бетонных материалов: После того, как бетон замешан, следующим шагом является сбор замешанного материала.Это можно сделать двумя способами. Один из способов заключается в изменении направления вращения спиральных лопастей, установленных внутри барабана. Изменение направления приведет к выдавливанию бетона из барабана. Другой способ — наклон барабана. В этом методе барабан поднимается сзади с помощью гидравлических насосов. Это выталкивает бетон из барабана в сборный бункер.
Это простое управление самозагружающимися бетонными материалами сделало его доступным для использования в:
- Строительство шахты и туннеля, где нельзя использовать бетонные заводы
- Строительство свай, фундаментов и грунтовых укреплений.

- Железнодорожные и дорожные сооружения.
Почему выбирают нас?
Компания Apollo Inffratech Private Limited представила Apollo Caramix – совместное предприятие с мировым лидером CARMIX. Caramix со своими машинами, зарекомендовавшими себя во всем мире, лидирует на рынке самозагружающихся бетоноукладчиков. Как Apollo Caramix, мы занимаемся производством и поставкой высококачественных растворов для смешивания бетона. Бетономешалки с самозагрузкой идеально подходят для производства и распределения высококачественного бетона на самых сложных строительных площадках.У нас есть передовая инфраструктура и опытный отдел исследований и разработок. Мы стремимся предоставить оборудование высшего класса и добиться высокого процента удовлетворенности клиентов.
Все, что вам нужно знать о самозагружающемся бетоносмесителе
На рынке можно найти множество различных типов и моделей бетоносмесителей, от небольших переносных бетоносмесителей до больших автобетоносмесителей.
Каждая модель имеет свои преимущества и недостатки, уникальные характеристики и конфигурации. В зависимости от размера проекта необходимы разные бетоносмесительные машины. Но строительной отрасли нужна смесительная машина, которая была бы достаточно компактной и мощной, чтобы смешивать большое количество цемента и заполнителей, и в то же время экономичной, быстрой и эффективной.
Одной из конкретных бетоносмесительных машин, широко используемых сегодня в строительной отрасли по всему миру, является автобетоносмеситель с самозагрузкой .Бетономешалка с самозагрузкой представляет собой автономную машину, способную выполнять любые задачи по смешиванию бетона, требующие для управления машиной всего одного человека. Это высокоманевренная внедорожная и вездеходная машина, используемая в различных областях, таких как: каналы, жилые и коммерческие здания, городская инфраструктура, промышленные сооружения и многие другие строительные работы.
Автобетоносмеситель с самозагрузкой представляет собой многофункциональную машину, способную самостоятельно загружать необходимые ингредиенты для бетона, смешивать их, транспортировать и разгружать бетон там, где это необходимо.
Большинство автобетоносмесителей с самозагрузкой оснащены системой полного привода, которая обеспечивает высокую тягу и позволяет машине работать даже в самых мягких глинистых условиях. Бетономешалка с самозагрузкой оснащена барабаном с гидравлическим приводом, обеспечивающим высокую скорость вращения для более эффективного смешивания. Барабан машины также можно поднять для быстрой и эффективной выгрузки готового бетона. В задней части бетоносмесителя с самозагрузкой имеется металлический ковш, который используется для загрузки в барабан необходимых компонентов бетона.Оператор в кабине грузовика управляет операциями загрузки и смешивания, скоростью барабана и направлением вращения барабана.
Простота в эксплуатации является одной из ключевых особенностей бетоносмесителя с самозагрузкой. Оператор грузовика отвечает за погрузку и управление ковшом с помощью одного джойстика. Принцип работы бетономешалки с самозагрузкой довольно прост. Цемент сначала вручную засыпается в ведро смесителя, а затем в барабан добавляется вода.
Машина способна собирать песок и заполнители с помощью уникальной операции загрузки ковша. Ковш самозагрузочной бетономешалки быстро и эффективно загружает вращающийся барабан. Барабан с высокой скоростью вращения обеспечивает однородное перемешивание бетона, который можно легко транспортировать в нужное место. Таким образом, автобетоносмеситель с самозагрузкой исключает затраты на дополнительную рабочую силу и затраты на транспортировку бетона.
Бетономешалка с самозагрузкой на удивление очень мобильна.Его можно легко загрузить на большие грузовики и доставить на различные строительные площадки. Вот некоторые из причин, по которым бетоносмеситель с самозагрузкой находит широкое применение в различных строительных проектах, таких как здания и квартиры, каналы и водохранилища, дороги и бордюры, промышленные и технологические предприятия, городская инфраструктура, дренажи и водопропускные трубы, фундаменты ветряных мельниц и многие другие строительные работы. проектов и приложений.
Чем отличаются автобетоносмесители и автобетоносмесители — Aimix Group
С этапами городского строительства требования к количеству автобетоносмесителей для продажи становятся все больше и больше.Производятся различные типы бетоновозов, среди которых очевидными являются два типа цементовозов , которые являются наиболее популярными продуктами, это автобетоносмесители и самозагружающиеся бетоносмесители .
бетоносмеситель с самозагрузкой бетоносмеситель с самозагрузкойЧем отличаются автобетоносмесители и самозагружающиеся бетоносмесители
Мобильный бетоносмеситель и бетоносмеситель с самозагрузкой являются удобными строительными транспортными средствами, которые перемешивают и транспортируют бетон к рабочим площадкам, но самозагружающийся бетоносмеситель также может подавать, смешивать, дозировать и разгружать самостоятельно.
- для автобетоносмесителя с самозагрузкой, кабина находится в центре этого оборудования, обзор оператора выше, чем смесительный цилиндр, поэтому линия обзора слева, справа и спереди очень хорошая, абсолютно отсутствие видимой слепой зоны и привести к несчастным случаям, таким как борозды.
Кроме того, такая конструкция конструкции и расположение в кабине, центр тяжести оборудования всегда находится в центре устройства, что обеспечивает стабильность самозагрузки бетоносмесителя в процессе строительного и подвижного смешивания.Наоборот, у некоторых грузовиков на рынке сейчас будет явное дрожание и отклонение от центра тяжести в процессе движения, таким образом, качество смешивания и безопасность конструкции не могут быть хорошо защищены. - По сравнению с оборудованием другой марки, при одинаковом размере всей машины, колесная база шасси короткая, эта конструкция позволяет быстро развернуться на более узкой поверхности, в противном случае, если система шасси с длинной колесной базой, это практически невозможно. развернуться.
Прежде всего, эти два типа строительной техники могут ускорить рабочий процесс, улучшить качество строительства и сократить время и стоимость материалов.
Калибровка CFD-модели процесса выгрузки внедорожного бетоносмесителя с самозагрузкой.
Отчет об исследовании ICAR-105-1. Международный центр исследования агрегатов, Техасский университет в ОстинеБРИТАНСКИЙ СТАНДАРТ (2009 г.) Испытание свежего бетона, часть 2: Испытание на осадку, BS EN 12350-2:2009
Пацак Б., Биттнар З. (2009 г.) Моделирование течения свежего бетона. Comput Struct 87:962–969
Статья Google Scholar
Roussel N, Gram A (2014) Моделирование течения свежего бетона, отчет RILEM о состоянии дел 15, отчет о состоянии дел технического комитета RILEM 222-SCF. Springer, Гейдельберг
Саак А.В., Дженнингс Х.М., Шах С.П. (2004) Обобщенный подход к определению предела текучести при оползнях и оползнях. Cem Concr Res 34:363–371
Статья Google Scholar
Dufour F, Pijaudier-Cabot G (2005) Численное моделирование течения бетона: гомогенный подход. Int J Numer Аналитические методы Geomech 29:395–416
Статья Google Scholar
Roussel N (2006) Корреляция между пределом текучести и осадкой: сравнение между численным моделированием и результатами бетонных реометров. Mater Struct 39:501–509
Статья Google Scholar
Cremonesi M, Ferrara L, Frangi A, Perego U (2010) Моделирование течения свежих цементных суспензий с помощью лагранжевого метода конечных элементов. J Non-Newton Fluid Mech 165:1555–1563
Статья Google Scholar
Thrane LN (2007) Заполнение формы самоуплотняющимся бетоном. Технический университет Дании, Люнгбю
Google Scholar
Руссель Н., Грам А., Кремонези М., Феррара Л., Кренцер К., Меччерине В., Шишко С., Скочец Дж., Шпангеберг Дж., Свек О., Трейн Л.Н., Василич К. (2015) Численное моделирование течения бетона: эталонное сравнение. Cem Concr Res 79:265–271
Статья Google Scholar

Vasilic K, Schmidt W, Kühne HC, Haamkens F, Mechtcherine V, Roussel N (2016) Течение свежего бетона через армированные элементы: экспериментальная проверка численного метода пористой аналогии. Cem Concr Res 88:1–6
Артикул Google Scholar
Gram A, Silfwerbrand J, Lagerblad B (2014) Получение реологических параметров по результатам гидродинамических испытаний — аналитический, расчетный и лабораторный подход. Cem Concr Res 63:29–34
Статья Google Scholar
Secrieru E (2018) Поведение современных бетонов при перекачивании — характеристика и прогнозирование. Технический университет Дрездена, Дрезден
Google Scholar
Jo SD, Park CK, Jeong JH, Lee SH, Kwon SH (2012) Вычислительный подход к оценке смазочного слоя при перекачивании бетона. Comput Mater Contin 27: 189–210
Google Scholar

Wallewik JE, Wallewik OH (2017) Анализ скорости сдвига внутри автобетоносмесителя.Cem Concr Res 95:9–17
Статья Google Scholar
Ferraris CF (1999) Измерение реологических свойств высокоэффективного бетона: доклад о состоянии дел. J Res Natl Inst Stand Technol 104:461–478
Артикул Google Scholar
Hu C, de Larrard F (1996) Реология свежего высокопрочного бетона. Cem Concr Res 26:283–294
Статья Google Scholar
Banfill PFG (2006) Реология свежего цемента и бетона. Реол Ред. 2006: 61–130
Google Scholar
Билгил А. (2012) Оценка величины осадки и параметров Бингама состава свежей бетонной смеси с моделированием искусственной нейронной сети. Научные очерки 5: 1753–1765
Google Scholar

Хочевар А., Кавчич Ф., Бокан-Босильков В. (2013) Реологические параметры свежего бетона — сравнение реометров.Граджевинар 65:99–109
Google Scholar
Валлевик Дж. Э. (2006) Взаимосвязь между параметрами Бингама и спадом. Cem Concr Res 36:1214–1221
Статья Google Scholar
Banfill PFG, Beaupre D, Chapdelaine F, de Larrard F, Domone P, Nachbaur L, Sedran T, Wallevik OH, Wallevik JE (2001) Сравнение бетонных реометров: международные испытания в LCPC.Национальный институт стандартов и технологий (NIST), Гейтерсберг
Google Scholar
Руссель Н. (2012) Понимание реологии бетона. Woodhead Publishing Limited, Кембридж
Книга Google Scholar
Хема В., Савитри С. (2003) Математическое моделирование динамики гранулированных материалов во вращающемся цилиндре.
Кочинский университет науки и технологий, Коччи
Google Scholar
Балаз П. (2008) Механохимия в нанонауке и инженерии полезных ископаемых. Спрингер, Нью-Йорк
Google Scholar
Hurtado FSV, Maliska CR, da Silva AFC, Cordazzo J (2005) Основанная на элементах формулировка конечного объема для моделирования коллектора. В: Материалы XXVI Иберийско-латиноамериканского конгресса по вычислительным методам в инженерии
Сахин Ю., Аккая Ю., Бойлу Ф., Тасдемир М.А. (2017) Характеристика воздухововлекающих добавок в бетоне с использованием измерений поверхностного натяжения.Cem Concr Compos 82:95–104
Статья Google Scholar
Brackbill JU, Kothe DB, Zemach C (1992) Континуальный метод моделирования поверхностного натяжения. J Comput Phys 100:335–354
MathSciNet Статья Google Scholar

Малин М.Р. (1997) Турбулентное течение бингемовской пластической жидкости в гладких круглых трубах. Int Commun Heat Mass Transf 24:793–804
Статья Google Scholar
Как начать бизнес по производству товарного бетона
Возможно, вы работаете в сфере строительства и использовали готовую смесь в прицепе-бетоносмесителе.Возможно, вы мастер покраски, который использовал небольшую загрузку бетона для домашнего проекта. Или у вас может быть действующий бизнес, и вы решили добавить новый центр прибыли. Какой бы ни была причина, вы думаете о прицепных бетоносмесителях как о способе получения прибыли. Уже более двадцати лет Cart-Away помогает людям решить, подходит ли им продажа бетона в розницу, и за это время мы разработали пять шагов, которые помогут клиентам добиться успеха.
Шаг №1: Исследование рынка. Вы должны знать свой рынок, если хотите зарабатывать деньги, предлагая продукт или услугу.
Одна из вещей, которую вам нужно знать, это есть ли конкуренция в индустрии бетоносмесителей? Если да, то по какой цене они продают бетон? Многие потенциальные операторы считают, что местный завод по производству товарных смесей составит им конкуренцию. Мало того, что это почти всегда не соответствует действительности, диспетчеры готовых смесей обычно очень охотно идут навстречу вам. Тем не менее, знание того, для чего они продают смешанный бетон, каковы их минимальные нагрузки и сборы за короткие загрузки, которые они взимают, поможет вам установить свои собственные цены.Как насчет вашей местной демографии? В тщательном демографическом исследовании есть много индикаторов успеха, которые помогут вам в ваших планах. Есть еще много моментов исследования, которые рассматриваются в нашем анализе рынка по возможностям смешивания бетона в вашем регионе.
Шаг №2: Требования сообщества. Это область, с которой я провожу много времени для потенциальных операторов. Для некоторого бетоносмесительного оборудования нам, возможно, придется изучить требования к зонированию.
Требуется ли разрешение на условное использование? Каковы ограничения собственности и ограничения по высоте? Требуется ли разрешение на качество воздуха? Это важная часть долгосрочного планирования бизнеса, и мы помогаем на протяжении всего процесса.
Шаг №3: Выбор материала. Несмотря на то, что ингредиентами бетона являются только песок, гравий, цемент и вода, тип и качество материалов важны для приготовления хорошего бетона в автобетоносмесителе. Особое внимание следует уделить агрегатам. Я вспоминаю одного покупателя, который хотел сэкономить, заказав менее дорогой песок. Ну, он сделал ужасный бетон, и начало его бизнеса было медленным, и это запятнало его репутацию. Мы посмотрели на все, и когда все было сказано и сделано, остался только один пункт, который изменился с тех пор, как мы с ним говорили о материалах: его песок.Он купил партию этого песка, и покупатели сразу же заметили изменения. Таким образом, выбор материала для вашего бизнеса по производству бетоносмесителей является важным шагом.c4936cf5faa14df4a08df96af1401e2.jpg)
Шаг №4: Обустройство двора . Ничто не замедлит вашу работу больше, чем неэффективная планировка двора, ограничивающая поток бетонных прицепов. Проведя много лет на вашей стороне забора, я могу помочь вам избежать некоторых дорогостоящих ошибок.
Шаг № 5. Продажи и маркетинг. На самом деле это непрерывный процесс, и мы поможем вам начать работу.Есть много способов сообщить сообществу о новой услуге по поставке бетона, которую вы предоставляете. Мы знаем, что сработало, а что нет, как из личного опыта, так и из проб и ошибок наших клиентов. Можете ли вы угадать самую дешевую рекламу, которая поможет вашему бизнесу по производству прицепного бетона взлететь? Я дам вам знать здесь, в блоге о бетоносмесителях Cart-Away.
Оставайтесь с нами, и я объясню каждый из этих пунктов более подробно и то, как мы в Cart-Away поможем вам добиться успеха.К тому времени, когда все это будет сделано, вы поймете, почему мы не продаем бетоносмесительное оборудование, мы продаем возможности для бизнеса в бетоне.
Самозагружающиеся бетономешалки AJAX
АЯКС ИНЖИНИРИНГ ПРИВАТ ЛИМИТЕД
Политика корпоративной социальной ответственности:
AJAX Engineering Private Limited («AJAX») Корпоративная социальная ответственность (CSR) включает саморегулируемые меры, введенные и интегрированные в бизнес-стратегию организации для общее благо обществ и сообществ, в которых она действует.То Компания ведет свою деятельность социально ответственно и этично. Этот Политика устанавливает механизм реализации общественно полезных программ для устойчивое развитие общества в целом.
Цель:
Внутренняя деятельность Компании по КСО направлена на создание и добавление экономических,
ценность социальной среды для общества. Благодаря своей внутренней деятельности в области КСО
Компания намерена создавать ценность, поставляя инновационные продукты и услуги для
максимальная удовлетворенность клиентов.
Компания всегда:
- Компания ориентирована на здоровье и безопасность своих сотрудников.
- Стремиться удовлетворить заявленные и подразумеваемые потребности своих клиентов, предлагая продукты, услуги и решения, соответствующие мировым стандартам качества и технологичности совершенство.
- Приверженность защите окружающей среды, где бы она ни работала, посредством предвидеть и оценивать влияние своей деятельности на каждом этапе и постоянно пересматривать и улучшать экологические показатели.
- Сосредоточено на управлении в его букве и духе
Состав Комитета КСО:
Члены Комитета по КСО должны состоять из трех директоров, которые должны быть назначены
Советом директоров («Совет»). Комитет собирается один раз в год или время
время, необходимое для мониторинга Политики КСО и рекомендации КСО
мероприятия, которые должны быть предприняты вместе с суммой расходов, которые будут понесены на
КСО деятельность.
Для проведения судебного заседания необходимо присутствие двух членов.
Членов:
- г-н К. Виджай
- Мистер Джейкоб Джитен Джон
- г-н Джагадиш Адде Бхат
- Г-н Парин Налин Мехтад
Объем:
Деятельность КСО должна осуществляться в Индии, предпочтение следует отдавать местным районы и районы, где Ajax ведет свою деятельность.
Предполагаемые расходы на мероприятия КСО в течение года:
Деятельность по КСО может осуществляться за счет части чистой прибыли. Ежегодный квалифицируемые расходы должны быть не менее двух процентов от средней чистой прибыли Компании за последние три финансовых года.
Однако, если компания не в состоянии потратить такую сумму на КСО, совет директоров
обязан в своем отчете указать причины неиспользования суммы.
Список рекомендуемых проектов или программ КСО:
Согласно Приложению VII Закона о компаниях 2013 г.:
1. Здравоохранение и социальная деятельность
- Искоренение голода, нищеты и недоедания, содействие охране здоровья включая профилактическую медицинскую помощь и санитарию, а также предоставление безопасных питьевой воды, включая вклад в Swach Bharat Kosh и внесение доступная безопасная питьевая вода;
2.Сектор образования и устойчивые средства к существованию
- Содействие образованию, включая специальное образование и повышение занятости профессиональные навыки, особенно среди детей, женщин, пожилых людей и других проекты повышения трудоспособности и средств к существованию;
3. Развитие женщин и детей и реабилитация инвалидов
- Содействие гендерному равенству, расширение прав и возможностей женщин, создание домов и общежитий
для женщин и сирот; создание домов престарелых, детских садов и т.
другие возможности для пожилых людей и меры по сокращению неравенства, с которым они сталкиваются.
социально и экономически отсталыми группами; - Мероприятия в пользу ветеранов Вооруженных Сил, вдов воинов и их иждивенцы
4.Охрана и охрана окружающей среды
- Обеспечение экологической устойчивости, экологического баланса, защита растительного мира и животный мир, благополучие животных, агролесоводство, охрана природных ресурсов и поддержание качества почвы, воздуха и воды, включая вклад в Центральное правительство создало Фонд чистой Ганги для омоложения реки Ганга;
5. Социально-культурное развитие
- Охрана национального наследия, искусства и культуры, включая реставрацию здания и места, имеющие историческое значение, и произведения искусства; настройка публичного библиотеки; поощрение и развитие традиционных искусств и ремесел;
- Обучение развитию сельского спорта, общепризнанных видов спорта, паралимпийских игр спортивные и олимпийские виды спорта;
6.
Взнос в Национальный фонд помощи премьер-министра или любой другой фонд
созданный центральным правительством для социально-экономического развития и помощи
и благополучие зарегистрированных каст, зарегистрированных племен, других отсталых
классы, меньшинства и женщины;
7. Взносы или средства, предоставленные технологическим инкубаторам, расположенным в академические учреждения, утвержденные центральным правительством.
8.Проекты развития сельских районов
9. Развитие трущоб
10. Борьба со стихийными бедствиями, включая оказание помощи, реабилитацию и реконструкцию виды деятельности.
Реализация корпоративной социальной ответственности и график реализации:
Проекты или деятельность КСО должны осуществляться специализированными учреждениями и/или
различными рабочими центрами Компании и/или должным образом учрежденным трастом
компанией, как может время от времени решаться Комитетом или Советом по КСО.
время.Кроме того, мероприятия, запланированные на год, могут также определять период/время
рамки, в которых они, вероятно, будут рассмотрены и будут завершены и т. д. и далее,
на выполнение проекта/мероприятий КСО в конкретном году смета расходов на это
год также может быть подготовлен.
Подготовка и подача отчета:
Подробная работа по реализации проекта/мероприятий будет подготовлена комитет своевременно.Комитет может далее добавить свое замечание и рекомендации к своему докладу. Отчет может включать отклонения, если таковые имеются, от запланированный проект вместе с причинами.
Обзор и модификации:
Правление имеет право изменять Политику.
Безопасность грузовика с бетоносмесителем — обучение каске
Транспортные средства помогают сделать нашу жизнь проще: от доставки туда, куда нам нужно, до помощи в транспортировке чего-либо.
Хотя все транспортные средства представляют потенциальную опасность, некоторые из них более опасны, чем другие. Хорошим примером – автобетоносмеситель.
В феврале 56-летний рабочий шел к автобетоносмесителю, чтобы начать свой рабочий день. По пути его задел другой бетонный грузовик, убив его.
По данным OSHA, в производстве бетона занято более 250 000 человек. Из этих рабочих 28 000 получили производственные травмы или болезни, а 42 умерли всего за один год.
Понимание техники безопасности при работе с автобетоносмесителями имеет жизненно важное значение для защиты жизней.Любой, кто связан с эксплуатацией автобетоносмесителя, должен пройти соответствующее обучение и соблюдать все соответствующие процедуры и стандарты безопасности.
OSHA опубликовала советы по безопасности в отношении таких транспортных средств, как автобетоносмесители. Вот лишь некоторые правила техники безопасности, которые относятся, в частности, к безопасности транспортных средств:
- Убедитесь, что резервная сигнализация на всех транспортных средствах работает.

- Будьте осторожны с разгрузочным желобом бетономешалки, чтобы не поранить руки и пальцы.
- Остерегайтесь горячих поверхностей оборудования и компонентов грузовика.
- Защита глаз от брызг заполнителей во время погрузки и разгрузки.
- При необходимости используйте средства защиты органов слуха для защиты от чрезмерного шума во время погрузки/разгрузки цемента и при использовании пневматических измельчителей внутри барабанов автобетоносмесителей.
- Прежде чем эксплуатировать грузовики и другие транспортные средства, убедитесь, что они находятся в хорошем рабочем состоянии, включая звуковые предупреждающие сигналы заднего хода.
- Проверьте наличие свободного пространства над головой во время движения и перед разгрузкой грузовика.
- Поскольку центр тяжести бетоновоза часто смещается во время движения, поворачивайте медленно и плавно тормозите.
- Помните о слепых зонах при резервном копировании.
OSHA также предоставило много других советов по производству бетона.
Допустимо использовать против застывшего бетона.
Запрещено применять для очистки изделий из алюминия, хрома и латуни